УАЗ Буханка — популярное название линейки внедорожных автомобилей УАЗ с полным приводом, предназначенных для перевозки грузов и пассажиров, выпускавшихся с 1965 года в множестве версий, в основном с бензиновыми моторами на инжекторе или карбюраторе. За десятилетия производство включало разнообразные варианты, такие как УАЗ 452, 3741, 3909, 39094, 3962, 3303, 3741, УАЗ-3909 «Фермер» и другие. В этой публикации мы разберем общую электрическую схему УАЗ Буханка, подробно опишем предохранители и реле для моделей УАЗ 2206 и 3909, укажем их расположение с иллюстрациями и фотографиями.

Важно отметить: универсального описания предохранителей и реле для всех УАЗ Буханка не существует. Параметры могут варьироваться в зависимости от года выпуска автомобиля и комплектации, что влияет на функции предохранителей УАЗ Буханка и реле.
Блок предохранителей и реле УАЗ Буханка
Вариант 1
Этот вариант актуален для современных модификаций УАЗ. Блок с реле и предохранителями предохранителей УАЗ 3909 размещен на надставке панели передка под приборной доской справа от пассажирского сиденья. Диаграмму расположения реле и предохранителей УАЗ 2206 можно найти на внутренней поверхности крышки блока. Реле блокировки дифференциала монтируется слева от основного блока на той же рейке. Чтобы добраться до элементов, снимите защитную крышку блока реле и предохранителей.
Диаграмма расположения предохранителей и реле

Расшифровка элементов
- кронштейн
- крышка блока реле и предохранителей
- блок реле и предохранителей
- рейка панели передка
Иллюстративное фото

Электрическая схема блока

Расшифровка предохранителей и реле УАЗ Буханка
| F1 | 15A ГЛОНАСС кл. 30 |
| F2 | 25A Звуковой сигнал, система отопления |
| F3 | 20A Бензонасос, СУД |
| F4* | 25A АБС |
| F5 | 15A Розетка бортовой сети, освещение салона |
| F6 | 15A Аварийная сигнализация |
| F7 | 15A Стоп сигнал, ЗПТФ |
| F8 | 20A Стартер |
| F9 | 10A КМПСУДкл. 15, ГЛОНАСС кл. 15 |
| F10 | 15A Приборы, аварийная сигнализация |
| F11 | 20A Стеклоочиститель, задний ход |
| F12* | 10A АБС, БДИФ задней оси |
| F13 | 15A Подогрев сидений |
| F14 | 10A Ближний свет фар |
| F15 | 10A Дальний свет фар |
| F16 | 10A Габаритные огни, подсветка приборов |
| F17 | 80/90A Монтажный блок |
| F18 | 40A АБС |
| F19 | Не устанавливается |
| Реле | |
| R1 | Реле стартера |
| R2 | Прерыватель указателей поворота |
| R3 | Прерыватель стеклоочистителя |
| R4 | Не устанавливается |
| R5 | Реле включения дальнего света |
| R6 | Реле включения ближнего света |
| R7 | Реле разгрузочное |
| R8 | Реле главное КМПСУД |
| R9 | Реле бензонасоса |
| RIO | Не устанавливается |
Вариант 2
Общая диаграмма расположения элементов УАЗ Буханка

Функции компонентов
- блок предохранителей;
- прерыватель указателей поворота;
- реле управления лампами АБС;
- реле дальнего света;
- реле ближнего света;
- прерыватель стеклоочистителя;
- реле заднего противотуманного фонаря;
- реле стартера.
Реле заднего противотуманного фонаря 7 размещено на надставке рейки панели передка под приборной панелью недалеко от правой фары. В зоне кронштейна педали тормоза находятся прерыватель стеклоочистителя 6, реле дальнего света 4 и реле ближнего света 5.
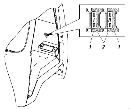
Блок плавких предохранителей предохранителей УАЗ 2206 установлен слева под панелью приборов с тремя отдельными фиксаторами-вставками.
Фото примера старой версии блока

Схема блока предохранителей

Расшифровка для моделей с двигателем ЗМЗ-4091 Евро-3
F1 на 10 ампер, контакт I — Блок контрольных ламп, аварийная сигнализация, спидометр, комбинация приборов, датчики системы АБС, если она установлена на автомобиле.
F1 на 10 ампер, контакт II — Резерв.
F2 на 10 ампер, контакт III — Аварийная сигнализация, звуковой сигнал.
F2 на 10 ампер, контакт IV — Рециркуляционный насос, переключатель отопителя, выключатель света заднего хода.
F3 на 10 ампер, контакт V — Комплексная микропроцессорная система управления двигателем, замок зажигания.
F3 на 10 ампер, контакт VI — Замок зажигания, термобиметаллический предохранитель.
Расшифровка для моделей с двигателем ЗМЗ-40911 Евро-4
F1 на 10 ампер, контакт I — Блок контрольных ламп, аварийная сигнализация, спидометр, комбинация приборов, датчики системы АБС, если она установлена на автомобиле.
F1 на 10 ампер, контакт II — Резерв.
F2 на 10 ампер, контакт III — Переключатель указателя поворотов, аварийная сигнализация, штепсельная розетка.
F2 на 10 ампер, контакт IV — Рециркуляционный насос, переключатель отопителя, выключатель света заднего хода.
F3 на 10 ампер, контакт V — Комплексная микропроцессорная система управления двигателем, замок зажигания.
F3 на 10 ампер, контакт VI — Замок зажигания, термобиметаллический предохранитель.
Предохранители системы АБС в УАЗ Буханка размещены на перегородке за водительским сиденьем, номиналом 25А или 40А.

Электросхема УАЗ Буханка
Полная электрическая схема УАЗ 3909 и 2206

скачать электросхему УАЗ Буханка
Расшифровка элементов электросхемы
| 1 | фонарь передний; |
| 2 | фара; |
| 3 | фонарь спецзнака (только для УАЗ–3962); |
| 4 | электродвигатель вентилятора отопителя (только для УАЗ–3962, УАЗ–2206); |
| 5 | датчик сигнальной лампы аварийного состояния гидропривода тормозов; |
| 6 | сигнал звуковой; |
| 7 | повторитель боковой указателя поворота; |
| 8 | фара поворотная (только для УАЗ–3962); |
| 9 | переключатель поворотной фары; |
| 10 | плафон освещения кабины; |
| 11 | лампа сигнальная включения стояночной тормозной системы; |
| 12 | выключатель сигнальной лампы стояночной тормозной системы; |
| 13 | электродвигатель стеклоочистителя; |
| 14 | переключатель электродвигателя стеклоочистителя и омывателя; |
| 15 | спидометр; |
| 16 | лампа сигнальная включения дальнего света фар; |
| 17 | вольтметр; |
| 18 | указатель давления масла; |
| 19 | лампа сигнальная аварийного давления масла; |
| 20 | указатель температуры охлаждающей жидкости в блоке цилиндров двигателя; |
| 21 | лампа сигнальная аварийного перегрева охлаждающей жидкости в радиаторе; |
| 22 | указатель уровня топлива; |
| 23 | электродвигатель омывателя; |
| 24 | выключатель аварийной сигнализации; |
| 25 | лампа сигнальная указателей поворота; |
| 26 | лампа сигнальная аварийного состояния гидропривода тормозной системы; |
| 27 | выключатель зажигания; |
| 28 | переключатель света центральный; |
| 29 | предохранитель тепловой; |
| 30 | сопротивление отопителя; |
| 31 | переключатель электродвигателя вентилятора отопителя; |
| 32 | переключатель света фар; |
| 33 | выключатель заднего противотуманного фонаря; |
| 34 | блок плавких предохранителей; |
| 35 | розетка штепсельная; |
| 36 | электромагнитный клапан разбалансировки; |
| 37 | переключатель указателей поворота; |
| 38 | кнопка звукового сигнала; |
| 39 | датчик сигнальной лампы аварийного давления масла; |
| 40 | датчик сигнальной лампы аварийного перегрева охлаждающей жидкости в радиаторе; |
| 41 | датчик указателя давления масла; |
| 42 | датчик указателя температуры охлаждающей жидкости в блоке цилиндров; |
| 43 | прерыватель указателя поворота; |
| 44 | предохранитель отопителя (только для УАЗ–3962, УАЗ–2206); |
| 45 | переключатель электродвигателя вентилятора отопителя (только для УАЗ–3962, УАЗ–2206); |
| 46 | сопротивление переключателя электродвигателя вентилятора отопителя (только для УАЗ–3962, УАЗ–2206); |
| 47 | электродвигатель вентилятора отопителя (только для УАЗ–3962, УАЗ–2206); |
| 48 | генератор; |
| 49 | свеча зажигания; |
| 50 | датчик -распределитель; |
| 51 | катушка зажигания; |
| 52 | выключатель «массы»; |
| 53 | батарея аккумуляторная; |
| 54 | выключатель плафонов; |
| 55 | розетка штепсельная (только для УАЗ–3962, УАЗ–2206); |
| 56 | плафон; |
| 57 | коммутатор транзисторный; |
| 58 | вибратор аварийный; |
| 59 | блок электронный управления карбюратором; |
| 60 | микровыключатель; |
| 61 | сопротивление добавочное; |
| 62 | реле дополнительное стартера; |
| 63 | клапан электромагнитный; |
| 64 | стартер; |
| 65 | датчик указателя уровня топлива в баке; |
| 66 | выключатель сигнала торможения; |
| 67 | выключатель фонаря заднего хода; |
| 68 | фонарь задний; |
| 69 | фонарь задний противотуманный; |
| 70 | фонарь освещения номерного знака; |
| 71 | фонарь заднего хода; |
| 72 | розетка штепсельная прицепа |
На нашем канале доступно видео по теме предохранителей и реле УАЗ Буханка. Рекомендуем просмотреть и подписаться!
Если у вас есть идеи, как улучшить этот материал по электросхеме УАЗ 3909, делитесь в комментариях.


