Toyota Avensis второго поколения с заводским обозначением T25/T250 выпускалась в период с 2003 по 2009 годы, включая модели 2003, 2004, 2005, 2006, 2007, 2008 и 2009 годов. В этой публикации представлена полная информация о расположении электронных блоков управления Toyota Avensis T25, детальное руководство по предохранителям и реле Toyota Avensis 2 с иллюстрациями схем и фотографиями реальных блоков. Мы также отдельно разберём предохранитель прикуривателя Авенсис 2.

Варианты исполнения блоков и их размещение могут варьироваться по сравнению с описанными, в зависимости от года выпуска, комплектации и региона поставки автомобиля.
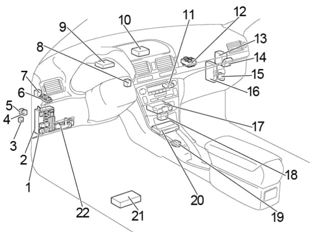
Блоки в салоне
Расположение
Схема размещения электронных блоков управления в интерьере
Версия с рулём слева (LHD)

Версия с рулём справа (RHD)

Пояснения к обозначениям
- Основной блок предохранителей и реле Toyota Avensis
- Интегрированное реле
- Реле топливного насоса (Circuit Opening Relay) Avensis T25
- Реле заднего противотуманного света
- Реле обогрева заднего стекла Toyota
- Блок реле в салоне
- Реле указателей поворота
- Усилитель транспондера ключа
- ECU EPS (электронный блок управления усилителем руля)
- Блок управления транспондером ключа
- Усилитель антенны
- Распределительный блок
- Реле стеклоочистителя
- Ресивер центрального замка
- Блок управления корректором фар
- Блок управления двигателем и АКПП (A/T)
Блок управления двигателем (МКПП) - Блок управления климат-контролем и кондиционером
- Опциональный коннектор для навигации
- Блок управления селектором АКПП
- Блок управления подушками безопасности SRS
- Блок управления навигационной системой
- Дополнительный блок предохранителей Avensis 2
- RHD: Блок управления противоугонной системой
Блок предохранителей
Расположен в нижней секции приборной панели, скрыт за защитной панелью.
Иллюстрация — фото примера

Схема блока предохранителей в салоне Toyota Avensis T25

Расшифровка предохранителей и реле
| 1 | 10А IGN — Подушки безопасности SRS, приборная панель, запуск двигателя, EFI/ SFI система впрыска топлива |
| 2 | 20A S/ROOF — Электролюк |
| 3 | 7,5A RR FOG — Задний противотуманный фонарь |
| 4 | 15A FR FOG — Передние противотуманные фары, индикатор PT |
| 5 | 25A AM1 — Запуск, предохранители: «CIG», «RAD NO.1» |
| 6 | 7,5A PANEL — Освещение приборов, АКПП, перчаточный ящик, подлокотник, очистка фар, PT, парктроник, MID |
| 7 | 20A RR WIP — Задний дворник и омыватель |
| 8 | 7,5A GAUGE2 — Задний ход, корректор фар, поворотники, аварийка |
| 9 | 15A CIG — Прикуриватель и розетка |
| 10 | 10A HTR — Обогрев сидений, климат-контроль |
| 11 | — |
| 12 | 7,5A RAD NO.1 — Аудио, MID, зеркала, приборы, розетка |
| 13 | 30A PWR SEAT — Электрорегулировка сидений |
| 14 | 10A TAIL — Габариты, номер, багажник, автоосвещение, PT, приборы |
| 15 | 7,5A OBD2 — Диагностический порт |
| 16 | 15A P/POINT — Розетка в салоне |
| 17 | 25A DOOR — Центральный замок дверей |
| 18 | 25A WIP — Передний дворник и омыватель, очистка фар |
| 19 | 7,5A ECU-IG — Вентилятор охлаждения, зарядка, EPS, ABS, VSC |
| 20 | 20A S-HTR — Обогрев передних сидений |
| 21 | 10A GAUGE1 — Освещение, MID, интегрированное реле, приборы, селектор АКПП, зеркало, дворники, ручник |
| 22 | 15A STOP — Стоп-сигналы, селектор АКПП, доп. стоп, EFI/SFI |
| Реле в блоке | |
| R1 | Резерв |
| R2 | HTR — Вентилятор отопителя |
| R3 | SEAT HTR — Обогрев сидений |
| R4 | IG1 — Зажигание |
| R5 | TAIL — Габаритные огни |
За функционирование прикуривателя отвечает предохранитель №9 номиналом 15А в салонном блоке Toyota Avensis 2.
Дополнительный блок предохранителей
Установлен над педальным узлом, вдоль пола.

Схема дополнительного блока предохранителей

Расшифровка назначений
| 1 | 25А АСС Кнопка Start/Stop, иммобилайзер, блокировка руля (LHD) |
| 2 | 20A P-RR P/W — Задний правый стеклоподъёмник |
| 3 | 20A P-FR P/W — Передний правый стеклоподъёмник |
| 4 | 20A D-RR P/W — Задний левый стеклоподъёмник |
| 5 | 20A D-FR P/W — Передний левый стеклоподъёмник |
| 6 | 7,5A ECU-B 1 — Электронный блок АКПП |
| 7 | 10A FUEL OPN — Крышка топливного бака |
| 8 | 20A FR DIC — Обогрев зоны дворников, предохранитель: «MIR HTR» |
| 9 | 10А А/С Механический кондиционер, доп. обогреватель |
| 10 | 7,5A DEF I/UP — Элементы кондиционера |
| 11 | 7,5A ST — MID, EFI/SFI, запуск |
| 12 | 10A MIR HTR — Подогрев боковых зеркал |
| 13 | 15A RAD NO.2 — Аудиосистема, MID |
| 14 | 7,5A DOME — Домашнее освещение, двери, багажник, зеркало, подсветка ног |
| 15 | 7,5A ECU-B 2 — Кондиционер, беспроводная связь |
| 16 | 30A PWR SEAT — Электросиденья |
Блок реле
Схема блока реле в салоне Toyota Avensis
Левый руль (LHD)

Правый руль (RHD)

Расшифровка реле
- R1 — Обогрев зоны дворников (FR DEICER)
- R2 — Розетка (P/POINT)
- R3 — Передние противотуманки (FR FOG)
- R4 — Стартер (ST)
Дополнительные элементы управления
Схема дополнительных компонентов

Назначение элементов
- Усилитель микрофона для телефона
- Блок управления люком
- Реле заднего дворника
Блоки под капотом
Расположение
Общая схема размещения электронных блоков в моторном отсеке Toyota Avensis T250
Вариант A
(Двигатели 1AZ-FSE, 1AZ-FE, 1ZZ-FE, 3ZZ-FE)

Вариант Б
(Двигатель 1CD-FTV)

Пояснения к элементам
- Блок управления инжекторами
- Дополнительный блок предохранителей под капотом
- Основной блок предохранителей и реле
- Блок управления левой фарой
- Блок реле моторного отсека
- Реле очистителей фар
- Блок управления правой фарой
- Блок VSC (система стабилизации)
- Блок ABS (без VSC)
- Реле свечей накаливания
- Доп. обогреватель
Блок предохранителей и реле
Монтируется в левой зоне моторного отсека Toyota Avensis 2.

Схема блока
Вариант А

Вариант Б

Расшифровка
| 1 | — |
| 2 | 25А VSC — 1CD–FTV: ABS, VSC |
| 25A ABS — 1CD–FTV: ABS | |
| 3 | — |
| 4 | — |
| 5 | — |
| 6 | 7,5A ALT-S — Генератор, система зарядки |
| 7 | 30A DCC — Предохранители: «ECU-B NO.2», «DOME», «RAD NO.2» |
| 8 | 30A AM2 — Запуск, предохранители: «ST», «IGN» |
| 9 | 10A HAZARD — Поворотники, аварийная сигнализация |
| 10 | 25A F-HTR — 1CD–FTV: Подогрев топлива |
| 11 | 15A HORN — Клаксон |
| 12 | 20A EFI — EFI/SFI, предохранители: «EFI NO.1», «EFI NO.2» |
| 13 | 25A PWR HTR — 1CD–FTV: Доп. обогреватель |
| 14 | 30A RR DEF — Обогрев заднего стекла |
| 15 | 40A MAIN — Очистка фар, фары, предохранители: «H-LP HI LH», «H-LP HI RH», «H-LP LH», «H-LP RH» |
| 16 | 50A AM1 NO.1 — 1CD–FTV: Предохранители: «ACC», «CIG», «RAD NO.1», «ECU-B NO.1», «FL P/W», «FR P/W», «RL P/W», «RR P/W» |
| 17 | 30A H/CLN — Очистители фар |
| 18 | 40A HTR — Кондиционер, обогреватель |
| 19 | 30A CDS — Вентилятор охлаждения |
| 20 | 40A RDI — 1CD–FTV, 1ZZ-FE, 3ZZ-FE: Вентилятор охлаждения |
| 30A RDI — 1AZ-FE, 1AZ-FSE: Вентилятор охлаждения | |
| 21 | 50A VSC — 1CD–FTV: ABS, VSC |
| 40A ABS — 1CD–FTV: ABS | |
| 22 | 15A IG2 — 1AZ-FSE, 1AZ-FE, 1ZZ-FE, 3ZZ-FE: Запуск, EFI/SFI |
| 23 | 10A THROTTLE — 1AZ-FSE, 1AZ-FE, 1ZZ-FE, 3ZZ-FE: ETCS (электронный дроссель) |
| 10A ETCS — 1AZ-FSE, 1AZ-FE, 1ZZ-FE, 3ZZ-FE: ETCS | |
| 24 | 20A A/F — 1AZ-FSE, 1AZ-FE: Лямбда-зонд |
| 25 | 1AZ-FSE, 1AZ-FE, 1ZZ-FE, 3ZZ-FE: — |
| 26 | 1AZ-FSE, 1AZ-FE, 1ZZ-FE, 3ZZ-FE: — |
| 27 | 50A EMPS — 1ZZ-FE, 3ZZ-FE: Электроусилитель руля |
| Реле блока под капотом | |
| R1 | EFI MAIN — 1CD–FTV: Вентилятор охлаждения |
| R2 | EDU — 1CD–FTV: Вентилятор охлаждения |
| R3 | FAN NO.3 — 1CD–FTV: Вентилятор охлаждения |
| R4 | FAN NO.1 — Вентилятор охлаждения |
| R5 | FAN NO.2 — 1AZ-FSE, 1AZ-FE, 1ZZ-FE, 3ZZ-FE: Вентилятор охлаждения |
| R6 | 1AZ-FSE, 1AZ-FE, 1ZZ-FE, 3ZZ-FE: — |
| R7 | FAN NO.3 — 1AZ-FSE, 1AZ-FE, 1ZZ-FE, 3ZZ-FE: Вентилятор охлаждения |
| R8 | 1AZ-FSE, 1AZ-FE, 1ZZ-FE, 3ZZ-FE: — |
| R9 | EMPS — 1ZZ-FE, 3ZZ-FE: Электроусилитель руля |
Дополнительный блок предохранителей
Схема доп. блока
Вариант А

Назначение
| 1 | — |
| 2 | 50A HTR2 — Доп. обогреватель |
| 3 | 50A HTR1 — Доп. обогреватель |
| 4 | 80A GLOW — Свечи накаливания дизеля |
| 5 | 140A ALT — Реле: «IG1», «TAIL», «SEAT HTR», предохранители: «H-LP CLN», «AM1 NO.1», «RDI», «CDS», «VSC» (50A), «VSC» (25A), «ABS» (40A), «ABS» (25A), «H/CLN», «RR DEF», «GLOW», «HTR NO1», «HTR NO2», «RFGHTR», «AM1 NO.2», «RR FOG», «S/ROOF», «STOP», «P/POINT», «FR FOG», «OBD2», «DOOR» |
| Реле | |
| R1 | |
| R2 | HTR2 — Доп. обогреватель |
| R3 | HTR1 — Доп. обогреватель |
Вариант Б

Расшифровка
1 | 10A EFI NO.1 — EFI/SFI система впрыска топлива |
| 2 | 7,5A EFI NO.2 — Система контроля эмиссии |
| 3 | 25A VSC — ABS, VSC |
| 25A ABS — ABS | |
| 4 | 100А ALT — 1ZZ-FE, 3ZZ-FE: Предохранители: «AM1 NO.1», «H-LP CLN», «ABS» (25A), «VSC» (25A), «ABS» (40A), «VSC» (50 A), «CDS», «RDI», «HTR», «RR DEF», «RR FOG», «FR FOG», «AM1», «DOOR», «STOP», «OBD2», «S/ROOF», «PWR SEAT», «P/POINT», «TAIL», «PANEL», «RR WIP», «ECU-IG», «WIP», «GAUGE2», «GAUGE1», «HTR» ,»S-HTR» |
| 120А ALT — 1AZ-FSE, 1AZ-FE: Предохранители: «AM1 NO.1», «H-LP CLN», «ABS» (25A), «VSC» (25A), «ABS» (40A), «VSC» (50 A), «CDS», «RDI», «HTR», «RR DEF», «RR FOG», «FR FOG», «AM1», «DOOR», «STOP», «OBD2», «S/ROOF», «PWR SEAT», «P/POINT», «TAIL», «PANEL», «RR WIP», «ECU-IG», «WIP», «GAUGE2», «GAUGE1», «HTR» ,»S-HTR» | |
| 5 | 50A VSC — ABS, VSC |
| 40A ABS — ABS | |
| 6 | 50A AM1 NO.1 — Предохранители: «PWR SEAT», «FR DIC», «FUEL OPN», «ECU-B 1″, P-RR P/W», «P-FR P/W», «D-RR P/W», «D-FR P/W» |
| 7 | 30A H-LP CLN — Очистители фар |
| Реле | |
| R1 | INJ — Инжектор |
| R2 | EFI — ECU двигателя |
| R3 | IG2 — Зажигание |
| R4 | A/F — Лямбда-зонд |
Блок реле
Фото — пример установки

Схема блока реле под капотом

Расшифровка
| 1 | 10A H-LP HI LH — Левая фара (дальний свет) |
| 2 | 10A H-LP HI RH — Правая фара (дальний свет), приборы |
| 3 | 15A H-LP LH — Левая фара (ближний свет) |
| 4 | 15A H-LP RH — Правая фара (ближний свет) |
| Реле | |
| R1 | HORN — Гудок |
| R2 | F-HTR — Подогрев топлива |
| R3 | H-LP — Фары ближнего/дальнего света |
| R4 | DIM — Диммер фар |
| R5 | FAN NO.2 — Вентилятор радиатора |
На нашем YouTube-канале доступно видео по теме предохранителей Toyota Avensis T25. Рекомендуем просмотреть и подписаться для дополнительных материалов.
Если у вас есть дополнения по схемам реле и предохранителям Авенсис 2 — делитесь в комментариях ниже.


