Toyota Avensis первого поколения производилась в период с 1997 по 2003 год, включая 1998, 1999, 2000, 2001 и 2002 годы. Автомобиль предлагался в кузовах седан, лифтбек и универсал с индексами T210 / T220. За годы выпуска Toyota Avensis T210 прошла обновление в виде рестайлинга. В этой статье мы разберем расположение электронных блоков управления, функции предохранителей и реле для Toyota Avensis первого поколения, с детальными схемами блоков предохранителей, иллюстрациями и фотографиями. Особое внимание уделим предохранителю прикуривателя Toyota Avensis.

Положение блоков и их содержимое могут варьироваться в зависимости от года производства, комплектации электрики и рынка сбыта вашего Toyota Avensis T210/T220.
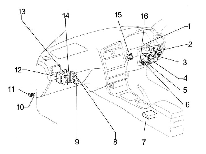
Блоки предохранителей и реле в салоне
Местоположение
Диаграмма расположения блоков
Версия с левым рулем

Функции
- Основной блок предохранителей Toyota Avensis
- Реле обогрева сидений
- Вспомогательный блок предохранителей
- Реле передних противотуманных фар
- Блок с реле
- Реле заднего стеклообогрева
- Реле дневных ходовых огней
- Распределительный блок
- ЭБУ двигателя и АКПП (для автоматической трансмиссии) или ЭБУ двигателя (для механической трансмиссии)
- Дополнительный блок реле
- Усилитель автоматического кондиционера
- Реле топливного насоса (Circuit Opening Relay)
- Усилитель механического кондиционера
- Центральный модуль подушек безопасности
- Блок центрального замка
- Блок иммобилайзера (транспондер ключа)
- Интегрированное реле
Версия с правым рулем

Описание элементов
- Блок центрального замка
- Блок транспондера ключа
- Блок предохранителей
- Интегрированное реле
- Блок реле
- Реле обогрева заднего стекла
- Центральный блок подушек безопасности
- Блок противоугонной системы
- Усилитель механического кондиционера
- Реле топливного насоса (Circuit Opening)
- Дополнительный блок предохранителей
- Усилитель автоматического кондиционера
- Дополнительный блок реле
- ЭБУ двигателя и АКПП (A/T) или ЭБУ двигателя (M/T)
- Распределительный блок
- Реле передних противотуманных фар
Основной блок предохранителей в салоне
Расположен в нижней секции приборной панели за защитной панелью.

Диаграмма блока

Расшифровка предохранителей
| 1 | 15A FR FOG — Передние противотуманные фары, реле противотуманок, индикатор противотуманного света |
| 2 | 15A SEAT HTR — Система подогрева сидений, реле подогрева, кнопка активации подогрева |
| 3 | 20A FR DEF — Реле обогрева заднего стекла, обогрев зоны щеток, диод холостого хода |
| 4 | 10А GAUGE — Панель приборов, компрессор кондиционера, генератор, датчик давления, ЭБУ ABS, усилитель климата, лампы заднего хода, датчики тормозов, реле DRL, реле заднего стекла, ЭБУ двигателя и АКПП, датчик скорости, лампы, кнопки обогрева, реле подогрева сидений, центральный замок, ручной тормоз, реле компрессора, реле обогрева, силовое реле стеклоподъемников, интегрированное реле, датчик масла, овердрайв, нейтраль, топливо |
| 5 | 20А WIPER — Очистители и омыватели переднего и заднего стекла, омыватель фар |
| 6 | 10А IGN — ЭБУ ABS, генератор, датчики тормозов, подушки безопасности, индикаторы ABS и заряда, панель приборов, ЭБУ двигателя и АКПП, диод ЭБУ, зажигание, фильтр, IIA, иммобилайзер, реле EFI, овердрайв, масло, ручной тормоз |
| 7 | 30А DOOR — Интегрированное реле центрального замка |
| 8 | 10А TAIL — Габариты, подсветка, переключатели, климат, фары, коррекция, аварийка, омыватель, номер, аудио, овердрайв, обогрев, подогрев сидений, интегрированное реле, задний противотуманник |
| 9 | 5A ST — Реле стартера, ЭБУ двигателя и АКПП |
| 10 | 7,5А TURN — Поворотники, индикатор, аварийка, реле поворотников |
| 11 | 15А CIG & RAD — Прикуриватель, подсветка, интегрированное реле, подушки безопасности, аудио, электрорегулировка зеркал |
| 12 | 5А EGU-IG — Реле вентиляторов охлаждения (FAN 1-3), сигнал тревоги, климат, ЭБУ двигателя/АКПП/ABS, датчик температуры |
| 13 | 10А STOP — Стоп-сигналы, выключатель, дополнительный стоп, ЭБУ двигателя/АКПП/ABS |
| 14 | 5А RR DEF I/UP — Диод, ЭБУ двигателя/АКПП |
| 15 | 30А POWER — Силовое реле, люк, электростеклоподъемники |
| 16 | 40А AM1 — Замок зажигания (предохранители: CIG & RAD, GAUGE, WIPER, TURN, EGU-IG) |
| 17 | 40А RR DEF — Обогрев заднего стекла Toyota Avensis |
| R1 | Интегрированное реле |
Предохранитель прикуривателя в Toyota Avensis T210 — это элемент №11 на 15А.
На задней панели блока могут быть установлены дополнительные реле.
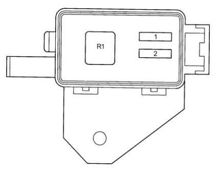
Диаграмма реле

Описание реле
- R1 — Реле обогрева заднего стекла
- R2 — Силовое реле стеклоподъемников
- R3 — Реле габаритных огней
Вспомогательный блок предохранителей
- 10A A/C — Усилитель кондиционера, кнопка кондиционера
- 30A FUEL HTR — Подогрев топлива в дизельных моделях Toyota Avensis
Блок реле в салоне
Схема блока

Функции реле
- R1 Relay RR FOG — Задний противотуманный фонарь
- R2 Relay TURN (HAZARD) — Поворотники и аварийная сигнализация
Вспомогательный блок реле
R1 — Реле вентилятора отопителя
Дополнительные компоненты
Диаграмма

Описание
- Реле люка
- Датчик разбива стекла
- Реле заднего стеклоочистителя
Блоки под капотом Toyota Avensis T210
Положение блоков
Схема расположения

Расшифровка
- Основной блок предохранителей и реле под капотом
- Реле омывателя фар
- Дополнительный блок предохранителей и реле
- ЭБУ ABS
- Реле свечей накала (для дизеля)
Основной блок предохранителей и реле под капотом
Монтируется слева в моторном отсеке, около аккумуляторной батареи.
Фотография блока

Схема

Описание предохранителей
| 1 | 50А MAIN — Реле фар Toyota Avensis |
| 2 | 40А FAN MAIN — Вентилятор охлаждения, реле FAN NO.1 |
| 3 | 30А FAN SUB — Вентиляторы охлаждения и кондиционера, реле FAN NO.2 и NO.3 |
| 4 | 5А ALT-S — Генератор |
| 5 | 30А H-LP CLN — Реле омывателя фар |
| 6 | 15А HAZARD — Поворотники, аварийка, индикатор, переключатель, реле, сигнализация, датчик стекла |
| 7 | 15А EFI — Реле топливного насоса, ЭБУ двигателя/АКПП, насос, датчики, инжекторы, клапаны, реле EFI, EGR, турбина, завихрения, холостого хода, TCV |
| 8 | 30А AM2 — Замок зажигания |
| 9 | 10А RAD NO.1 — Аудиосистема |
| 10 | Short pin |
| 11 | 15А HEAD (LH) — Левая фара, переключатель света |
| 12 | 10А HORN — Гудок, реле, кнопка |
| 13 | 7,5А DOME — Подсветка салона, приборы, индикаторы дверей, диод багажника, DLC3, освещение дверей/багажника, люк, персоналка, сигнал тревоги, сигнализация, замок, интегрированное реле |
| 14 | 15А HEAD (RH) — Правая фара, индикатор дальнего, приборы, переключатель |
| 15 | 10А ECU-B — Подушки безопасности, приборы, индикатор заднего тумана, подушек, реле DRL, DLC3, ЭБУ двигателя/АКПП, задний туман, транспондер, реле |
| 16 | 40А HTR — ЭБУ отопителя, мотор, резистор, реле |
| 17 | 100А ALT — Реле свечей, генератор, реле габаритов, предохранители AM1, STOP, POWER, DOOR, SEAT HTR, FR FOG, FR DEF, ABS, H-LP CLN, FAN MAIN, FAN SUB, HTR, RR DEF |
| 18 | 60А ABS ECU with Actuator — Система ABS |
| Реле под капотом | |
| R1 | Компрессор кондиционера (MG CLT) |
| R2 | Вентилятор охлаждения (FAN NO.3) |
| R3 | Вентилятор охлаждения (FAN NO.2) |
| R4 | ЭБУ двигателя (EFI) |
| R5 | Фары (HEAD) |
| R6 | Гудок |
| R7 | Стартер |
| R8 | Вентилятор охлаждения (FAN NO.1) |
Вспомогательный блок под капотом
Применяется на Toyota Avensis с дневными ходовыми огнями (DRL).
Диаграмма

Описание
- 10А HEAD HI (RH) — Правая фара, переключатель, индикатор дальнего света
- 10А HEAD HI (LH) — Левая фара
- R1 — Диммер DRL
Это вся информация по предохранителям и реле Toyota Avensis первого поколения. Ждем ваших отзывов и идей по доработке статьи.


