Toyota Carina ED третьего поколения производилась в 1993–1999 годах, охватывая кузова T200, T201, T202, T203, T204 и T205. На единой платформе с этой моделью собирались Toyota Exiv и Toyota Celica. В этой статье мы подробно разберем расположение блоков электронного управления, предохранители и реле для Toyota Carina ED (Exiv / Celica) серии T200, включая схемы блоков предохранителей, фото-иллюстрации и описание. Особо выделим предохранитель прикуривателя в блоке Toyota Carina ED.

Проверяйте функции элементов по схемам на крышке вашего блока предохранителей Toyota.
Блоки в салоне
Расположение
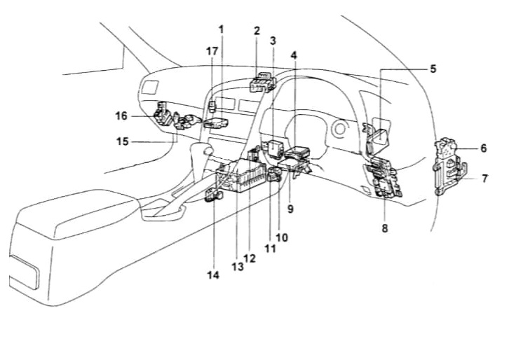
Общая схема расположения блоков в интерьере

Описание компонентов
- усилитель кондиционера
- JC №3
- реле управления центральным замком
- электронный блок управления кондиционером
- электронный блок управления ABS
- блок реле №1
- монтажный блок №1
- монтажный блок под панелью приборов
- электронный блок управления двигателем
- реле топливного насоса
- датчик замедления
- главное реле электропривода складывания крыши
- усилитель аудиосистемы
- выключатель запрещения запуска
- блок реле №4
- реле управления зеркалами
- реле режима «ЕХ-HI»
Блок предохранителей
Этот блок предохранителей Toyota Carina ED расположен в нижней части приборной панели со стороны водителя, за защитной крышкой. Здесь находятся ключевые предохранители для электрооборудования салона.

Пример схемы с крышки блока предохранителей

Схема блока предохранителей в салоне Toyota Carina ED

Обозначение предохранителей
| 20 | 15A ECU-IG — Автоматическая коробка передач с электронным управлением, антиблокировочная тормозная система ABS Toyota |
| 21 | 20A SEAT-HTR — Обогрев сидений в салоне |
| 22 | 7,5A PANEL — Подсветка приборной панели и панели управления |
| 23 | 15A STOP — Стоп-сигналы, высокий стоп-сигнал, EFI/SEQ-FI система впрыска топлива, круиз-контроль, АКПП, ABS |
| 24 | 20A FOG — Передние противотуманные фары Toyota Carina ED |
| 25 | 15A CIG & RAD — Прикуриватель, часы, аудиосистема автомобиля |
| 26 | 7,5A IGN — Система зарядки аккумулятора, индикатор разряда, EFI/SEQ-FI, подушки безопасности SRS |
| 27 | 20A WIPER — Дворники лобового и заднего стекла, омыватель |
| 28 | 10A MIR-HTR — EFI/SEQ-EFI система впрыска топлива |
| 29 | 10A TURN — Указатели поворота, аварийная сигнализация |
| 30 | 15A TAIL — Задние фонари, габаритные огни, боковые маркеры, подсветка номерного знака |
| 31 | 10A HTR — Кондиционер воздуха, обогрев заднего стекла |
| 32 | 10A GAUGE — Датчики приборов, центральный замок с электроприводом |
| 33 | 7,5A ST — Система запуска двигателя, EFI/SEQ-EFI |
| 34 | 10A A/C — Кондиционер в салоне |
| 35 | 7,5A OBD II — Диагностическая система OBD-II |
| 38 | 40A AM1 — Электронное зажигание, распределительная система |
| 39 | 30A DOOR — Центральный замок, механизм складывания крыши |
| 40 | 30A DEF — Обогрев заднего стекла Toyota |
| 41 | 30A POWER — Электростеклоподъемники, люк на крыше |
Предохранитель прикуривателя в Toyota Carina ED — это элемент №25 на 15A для надежной работы.
Сзади блока предохранителей размещены некоторые реле для различных систем.
Схема реле

Назначение реле
- R1 — Реле габаритных огней
- R2 — Главное силовое реле системы
- R3 — Реле обогрева заднего стекла
Предохранители №34 и №35 размещены отдельно на левой боковой панели, в блоке реле №4 (реле кондиционера).
Блок реле
Схема блока реле в салоне

Расшифровка реле
- R1 — Реле-прерыватель указателей поворота
- R2 —
- R3 — Реле противотуманных фар
- R4 —
Блоки под капотом
Расположение
Общая схема расположения блоков под капотом Toyota Exiv / Celica

Описание
- датчик абсолютного давления во впускном коллекторе
- блок предохранителей и реле под капотом
- блок реле №6
- блок реле №5
Блок предохранителей и реле
Фото-иллюстрация блока под капотом

Схема блока под капотом

Назначение предохранителей и реле
| 1 | 30A AM2 — Система запуска двигателя |
| 2 | 10A HAZARD — Аварийные мигалки |
| 3 | 7,5A HORN — Клааксон, звуковой сигнал |
| 4 | 20A RADIO No.1 — Аудиосистема автомобиля |
| 5 | 15A ECU-B — ABS, круиз-контроль Toyota |
| 6 | 10A DOME — Внутренний свет, багажник, подсветка, часы |
| 7 | 15A HEAD (LH) — Левая фара |
| 8 | 15A HEAD (RH) — Правая фара |
| 9 | Запасной |
| 10 | Запасной |
| 11 | Запасной |
| 12 | 7,5A ALT-S — Система зарядки батареи |
| 13 | 7,5A SRS WRN — Лампа SRS подушки безопасности |
| 14 | 15A EFI — EFI/SEQ-EFI впрыск топлива |
| 15 | 15A HEAD (LH) LO — Левая фара ближний свет |
| 16 | 15A HEAD (RH) LO — Правая фара ближний свет |
| 17 | 15A HEAD-HI (RH) — Правая фара дальний свет |
| 18 | 15A HEAD-HI (LH) — Левая фара дальний свет |
| 19 | 7,5A DRL — Дневные ходовые огни DRL |
| 36 | 30A RDI — Вентилятор радиатора охлаждения |
| 37 | 30A CDS — Вентилятор охлаждения системы |
| 42 | 40A HTR — Кондиционер воздуха |
| 43 | 100A ALT — Предохранители ALT-S, TAIL, DOOR, DEF, POWER |
| 44 | 60A MAIN — Запуск, фары, AM2, HAZARD, HORN, DOME, RADIO |
| 45 | 50A ABS — Антиблокировочная система тормозов ABS |
| R1 | Реле 1 вентилятора радиатора |
| R2 | Главное реле двигателя |
| R3 | Реле звукового сигнала |
| R4 | Реле фар |
| R5 | Реле стартера |
| R6 | Главное реле впрыска топлива |
Блок реле №6
Схема реле №6

Обозначение
- R1 — Реле главного мотора 4WS системы
- R2
- R3 — Реле главного мотора 4WS
Блок реле №5
Схема блока реле №5

Расшифровка
- R1 — Реле соленоида ABS
- R2 — Реле второго мотора вентилятора радиатора
- R3 — Реле насоса ABS
- R4 — Реле второго мотора вентилятора
- R5 — Реле муфты компрессора А/С
Если есть дополнения по предохранителям и реле Toyota Carina ED — делитесь в комментариях.


