Toyota Caldina T21 второго поколения производилась с 1997 по 2002 год в формате универсала, с опциями бензиновых и дизельных агрегатов. В ходе выпуска авто прошло модернизацию. Особо востребованными оказались версии под индексами T 210 / 211 / 215. Здесь собраны данные о позиционировании электронных модулей управления, а также расшифровки предохранителей и реле для Toyota Caldina T21, с иллюстрациями схем блоков fuse box и реальными снимками. Мы отдельно разберем предохранитель прикуривателя в Тойота Калдина T21.

Конфигурация элементов в блоках и их размещение может варьироваться в зависимости от даты производства и комплектации автомобиля.
Блоки в салоне
Расположение
Общая схема позиционирования блоков внутри салона

Назначение
- 11 — левый боковой датчик SRS
- 12 — инвертор DC/AC
- 13 — реле инвертора (до 10.1997 г.)
- 14 — реле электропривода люка
- 15 — правый боковой датчик SRS
- 16 — электронный блок управления системой навигации (с 12.1999 г.)
- 17 — реле очистителя заднего стекла
- 18 — электронный блок управления двигателем
- 19 — центральный монтажный блок
- 20 — реле управления замками дверей
- 21 — интегрированное реле
- 22 — блок реле №1
- 23 — реле разъема подключения дополнительного электрооборудования
- 24 — блок предохранителей
- 25 — правый кронштейн крепления разъемов
- 26 — монтажный блок под приборной панелью в салоне
- 27 — реле обогревателя лобового стекла (антиобледенителя щеток)
- 28 — реле корректора фар (с 12.1999 г.)
- 29 — блок управления блокировкой селектора АКПП
- 30 — датчик замедления (ABS) (модели с VSC)
- 31 — датчик замедления (ABS, модели 4WD); датчик бокового перемещения (модели с VSC)
- 32 — центральный датчик SRS
- 33 — реле отопителя
- 34 — левый кронштейн крепления разъемов
- 35 — реле топливного насоса
- 36 — блок предохранителей (ЗС-ТЕ с 12.1999 г.)
- 37 — электронный блок управления ABS, TRC и VSC.
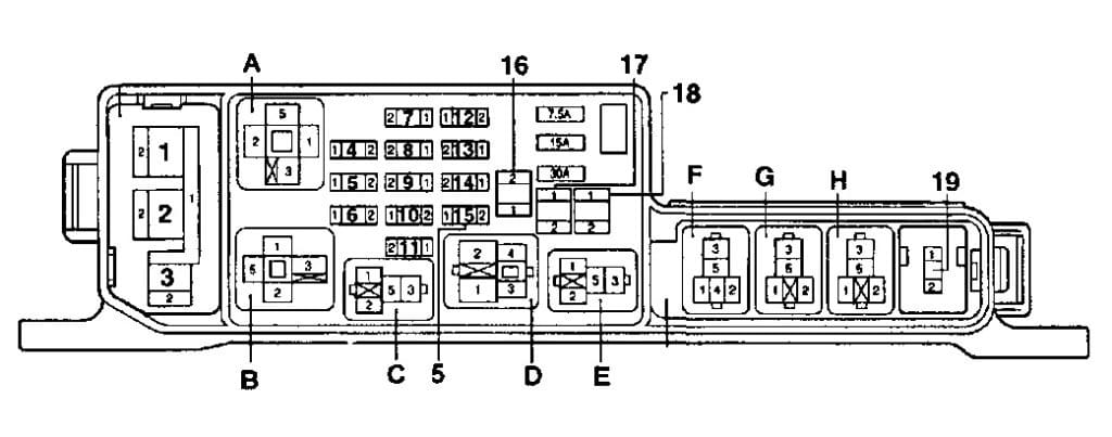
Блок предохранителей
В интерьере основной блок предохранителей размещен под торпедо со стороны водителя, за пластиковой крышкой, для удобного доступа к fuse box Toyota Caldina T21.

Пример схемы на крышке блока предохранителей Тойота Калдина T21

Схема блока предохранителей в салоне

Расшифровка предохранителей
| 1 | 5А DEFOG / IDLE-UP — Модуль повышения оборотов холостого хода, ECU двигателя |
| 2 | 30А DEFOG — Элемент обогрева заднего стекла |
| 3 | 15А ECU — IG — ABS, блокировка селектора трансмиссии |
| 4 | 10А TAIL — Габаритные огни спереди и сзади, подсветка номерного знака |
| 5 | 5А STARTER — Система запуска, ECU двигателя |
| 6 | 5А IGNITION — Система зажигания, электронный блок управления двигателем |
| 7 | 10А TURN — Поворотные сигналы |
| 8 | 20А WIPER — Очистители и омыватели стекол |
| 9 | 15А METER — Панель приборов |
| 10 | 7,5А PANEL — Освещение панели приборов и кнопок |
| 11 | 15А LIGHTER / RADIO — Активация зеркал, прикуриватель, часы, аудиосистема |
| 12 | 15А FOG — Противотуманные фары спереди |
| 13 | 30А DOOR — Центральный электронный замок |
| 14 | 15А STOP — Сигналы торможения |
За прикуриватель в Toyota Caldina T21 отвечает предохранитель №11 на 15А.
На задней части блока могут монтироваться отдельные реле.
- Основное реле мощности
- Реле габаритных огней
- Реле заднего обогревателя
Дополнительные элементы
Ближе к левой стойке в салоне могут размещаться дополнительные fuse для Toyota Caldina T21.
Схема дополнительных предохранителей

Обозначение элементов
- 15A FR DEF — Нагрев щеток омывателя
- 15А ACC SOCKET — Вспомогательные розетки питания
В левой панели: 1 20A F/HTR — Система подогрева топлива

Блоки под капотом
Расположение
Общая схема размещения блоков в моторном отсеке

Описание позиций
- датчик разрежения в вакуумном усилителе тормозов (7A-FE, 3S-FE)
- блок реле системы VSC
- датчик давления наддува
- реле свечей накаливания
- резистор топливного насоса
- реле управления топливным насосом
- блок реле №2
- блок плавких вставок
- левый передний датчик SRS
- правый передний датчик SRS
Блок предохранителей и реле
Главный блок с предохранителями и реле в моторном отсеке Toyota Caldina T21 установлен слева от аккумулятора. Возможны разные исполнения для различных модификаций.
Фото-пример блока под капотом

Схема блока

Расшифровка
| Реле А — реле №1 э/дв. вентилятора системы охлаждения, В — реле стартера, С — реле звукового сигнала, D — реле фар, Е — реле системы впрыска, F — реле №2 э/дв. вентилятора системы охлаждения, G — реле №3 э/дв. вентилятора системы охлаждения, Н — реле кондиционера; |
| Плавкие вставки 1 — ALT 100А (120А для двигателей 3S-FSE), 2 — ABS 60A, 3 — HTR 40A; |
Предохранители
|
Если у вас есть дополнения к информации о предохранителях и реле Toyota Caldina T21 — делитесь в комментариях.


