Toyota Venza первого поколения производилась с 2008 по 2017 год, включая модели 2008, 2009, 2010, 2011, 2012, 2013, 2014, 2015, 2016 и 2017 годов выпуска. За этот период автомобиль претерпел обновление дизайна и технических характеристик. В этой статье мы подробно разберем расположение электронных блоков управления, назначение предохранителей и реле в Toyota Venza, с иллюстрациями схем блоков предохранителей, их расположением и фотографиями. Особое внимание уделим предохранителю прикуривателя, а также схемам для салона и моторного отсека.

Всегда проверяйте назначение предохранителей и реле по схемам, указанным на крышке соответствующего блока.
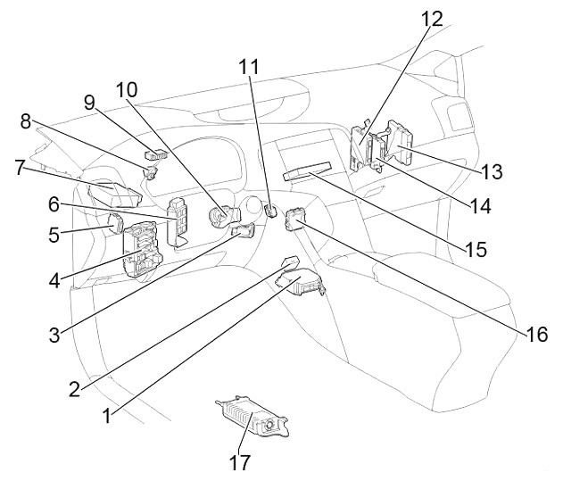
Блоки в салоне
Расположение
Общая схема расположения

Описание
- Блок подушек безопасности
- Блок управления селектором коробки передач
- Усилитель транспондера ключа
- Блок предохранителей / блок управления электрооборудованием кузова
- Блок управления корректором фар
- Блок реле
- Блок управления усилителем рулевого управления
- Реле указателей поворота
- Распределительный коннектор
- Актуатор блокировки руля
- Распределительный коннектор
- Усилитель кондиционера
- Блок управления двигателем
- Блок управления полным приводом
- Модуль расширения
- Блок управления активным освещением
- Аудио усилитель
Блок предохранителей
Этот блок расположен под панелью приборов, за специальной защитной панелью.

Фото пример

Схема

Обозначение
| 1 | 25A RR DOOR — 2008-2009: Электростеклоподъемники задних дверей |
| 20A RR DOOR — 2010-2017: Электростеклоподъемники задних дверей | |
| 2 | 25A RL DOOR — 2008-2009: Электростеклоподъемник левой задней двери |
| 20A RL DOOR — 2010-2017: Электростеклоподъемник левой задней двери | |
| 3 | 25A FR DOOR — 2008-2009: Электростеклоподъемники передних дверей |
| 20A FR DOOR — 2010-2017: Электростеклоподъемники передних дверей | |
| 4 | 15A FOG — Противотуманные фары Toyota Venza |
| 5 | 7,5A OBD — Диагностическая система автомобиля |
| 6 | 25A FL DOOR — 2008-2009: Электростеклоподъемник левой передней двери |
| 20A FL DOOR — 2010-2017: Электростеклоподъемник левой передней двери | |
| 7 | 10A STOP — Тормозные сигналы, VSC-система курсовой устойчивости |
| 8 | 10A RR FOG — Задний противотуманный фонарь |
| 9 | — |
| 10 | 7,5A AM1 — Система пуска двигателя |
| 11 | 7,5A ECU-B NO.2 — Сенсор рулевого колеса, кондиционер, электростеклоподъемники |
| 12 | 7,5A 4WD — Active Torque Control 4WD полный привод |
| 13 | 20A SEAT HTR — Подогрев передних сидений |
| 14 | 25A S/ROOF — Солнечный люк |
| 15 | 10A TAIL — Габаритные огни, подсветка номерного знака |
| 16 | 5A PANEL — Аварийная сигнализация, аудиосистема, часы, подсветка приборной панели, перчаточного отсека, консоли, рулевые переключатели, подогрев зеркал, сидений, VSC-система |
| 17 | 10A ECU IG NO.1 — Мультиплексная связь, люк, электропривод багажника, подогрев сидений, 4WD, аудио |
| 18 | 15A RR WASHER — Омыватель заднего стекла |
| 19 | 10A A/C NO.2 — Кондиционер воздуха |
| 20 | 20A FR WASHER — Омыватель лобового стекла |
| 21 | 7,5A ECU IG NO.2 — VSC-система, автоуровень фар, датчики рысканья, руля, блокировка селектора, АКПП, EPS-руль |
| 22 | 10A GAUGE NO.1 — Навигация, задний ход, зарядка, аварийка, дисплей |
| 23 | 30A FR WIPER — Стеклоочистители лобового стекла |
| 24 | 15A RR WIPER — Стеклоочиститель заднего стекла |
| 25 | — |
| 26 | 10A IGN — EFI/SFI-системы, блокировка руля, Smart Entry & Start, SRS-подушки |
| 27 | 7,5A GAUGE NO.2 — Приборы, дисплей, мультиплекс |
| 28 | 7,5A ECU-ACC — Боковые зеркала |
| 29 | 7,5A SHIFT LOCK — Блокировка селектора АКПП |
| 30 | 15A PWR OUTLET NO.1 — Прикуриватель и розетки 12V |
| 31 | 7,5A RADIO NO.2 — Аудиоаппаратура |
| 32 | 10A MIR HTR — Подогрев боковых зеркал |
Предохранитель прикуривателя в Toyota Venza — это номер 30 номиналом 15А, отвечающий за работу розеток в салоне.
Снаружи блока могут быть установлены дополнительные компоненты управления.
Схема

Расшифровка
| 1 | 30А P/SEAT — Электропривод сидений |
| 2 | — |
| R1 | Противотуманки |
| R2 | Габариты |
| R3 | Реле ACC |
| R4 | — |
| R5 | Реле зажигания IG1 |
Блок реле
Схема

Назначение
| R1 | Подсветка салона (DOME CUT) |
| R2 | Задний противотуманный фонарь (RR FOG) |
| R3 | — |
| R4 | Зажигание (IG1 NO.2) |
Дополнительные элементы
Схема

Описание
- Блок управления люком
- Блок управления правым зеркалом
- Ресивер центрального замка
- Распределительный коннектор
- Блок управления дверью багажного отделения
- Блок управления электрооборудованием кузова (при отсутствии двери багажного отделения с электроприводом)
- Блок управления левым зеркалом
Блоки под капотом
Расположение
Общая схема расположения

Обозначение
- Блок предохранителей и реле
- Блок управления двигателем
- Блок управления коробкой передач
- Реле очистителей фар
- Актуатор тормозной системы
Блок предохранителей и реле
Расположен в моторном отсеке слева, вблизи аккумуляторной батареи.

Схема с крышки блока

Схема

Назначение
| 1 | 7,5A DOME — Личные фонари, салонное освещение, зеркала, старт-кнопка, подсветка дверей, багажник, приборы |
| 2 | 10A ECU-B — Приборы, часы, аудио, ECU кузова, беспроводная связь, Smart Entry, багажник |
| 3 | 10A RSE — 2008-2012: Задняя развлекательная система |
| 4 | 15A RADIO NO.1 — 2008-2010: Аудио и навигация |
| 20A RADIO NO.1 — 2011-2017: Аудио и навигация | |
| 5 | DCC |
| 6 | 25A RADIO NO.3 — 2008-2012: Аудиосистема |
| 20A AUDIO AMP — 2013-2017: Аудиоусилитель | |
| 7 | — |
| 8 | 25A IG2 — SRS-подушки, предохранители INJ |
| 9 | — |
| 10 | 15A HAZ — 2008-2012: Поворотники |
| 15A TURN-HAZ — 2013-2017: Поворотники и аварийка | |
| 11 | 10A ETCS — EFI/SFI, дроссельная заслонка |
| 12 | 10A EFI NO.1 — Smart Entry, EFI/SFI, АКПП |
| 13 | 7,5A ALT-S — Система зарядки АКБ |
| 14 | 7,5A AM2 — Мультиплекс, пуск |
| 15 | 7,5A SEC-HORN — Сигнализация |
| 16 | 20A STR LOCK — Блокировка руля |
| 17 | 20A DOOR NO.1 — Центральный замок |
| 18 | — |
| 19 | 10A BI-XENON — 2013-2017: КС-лампы (дальний свет) |
| 20 | 10A EFI NO.3 — EFI/SFI-системы |
| 21 | 15A EFI NO.2 — EFI/SFI-системы |
| 22 | 20A EFI NO.4 — 1AR-FE: Лямбда-зонд |
| 25A EFI MAIN — 2GR-FE: Предохранители EFI | |
| 23 | — |
| 24 | 15A H-LP RH HI — Правая фара дальний |
| 25 | 15A H-LP LH HI — Левая фара дальний |
| 26 | 15A H-LP RH LO — Правая фара ближний |
| 27 | 15A H-LP LH LO — Левая фара ближний |
| 28 | 10A HORN — Клаксон |
| 29 | 20A EFI MAIN — 1AR-FE: Предохранители EFI |
| 20A A/F — 2GR-FE: Лямбда-зонд | |
| 30 | 15A INJ NO.2 — Зажигание |
| 31 | 15A INJ NO.1 — EFI/SFI-системы |
| 32 | — |
| 33 | 15A AC 115V — 2008-2012: Розетка 115В |
| 10A MIRROR — 2013-2017: Зеркала с памятью | |
| 34 | — |
| 35 | 20A DEICER — Подогрев зоны щеток |
| 36 | — |
| 37 | — |
| 38 | 30A ST/AM2 — Пуск двигателя |
| 39 | — |
| 40 | — |
| 41 | 80A EPS — Электроусилитель руля |
| 42 | 120A ALT — Зарядка, предохранители HEATER, ABS, FAN, PBD, RR DEF, MIR HTR, DEICER |
| 140A ALT — Зарядка, предохранители HEATER, ABS, FAN, PBD, RR DEF, MIR HTR, DEICER | |
| 43 | 30A RR DEF — Обогрев заднего стекла |
| 44 | 30A PBD — 2008-2012: Электропривод багажника |
| 30A LG/CLOSER — 2013-2017: Электропривод багажника | |
| 45 | 30A H-LP CLNR — Омыватель фар |
| 40A FAN MAIN — 2GR-FE: Вентилятор охлаждения | |
| 46 | 30A RDI FAN — 1AR-FE: Вентилятор охлаждения |
| 47 | 30A CDS FAN — 1AR-FE: Вентилятор охлаждения |
| 48 | — |
| 49 | 30A ABS NO.2 — ABS, VSC-система |
| 50 | 50A FAN MAIN — 2GR-FE: Вентилятор охлаждения |
| 51 | 50A ABS NO.1 — ABS, VSC-система |
| 52 | 50A HEATER — Кондиционер |
| Реле | |
| R1 | Сигнализация (SEC HORN) |
| R2 | Подогрев щеток (DEICER) |
| R3 | — |
| R4 | Стоп-сигналы (BRK) |
| R5 | Обогрев заднего стекла (RR DEF) |
| R6 | Стартер (ST) |
| R7 | Вентилятор (FAN NO.1) |
| R8 | КС-фары (BI-XENON) |
| R9 | Вентилятор (FAN NO.3) |
| R10 | Вентилятор (FAN NO.2) |
| R11 | Зажигание (IG2) |
Если у вас есть дополнения по схемам предохранителей Toyota Venza — оставляйте в комментариях.


