Toyota Land Cruiser 100 и Toyota Land Cruiser 105 выпускались в период с 1998 по 2007 год, включая модели 1998, 1999, 2000, 2001, 2002, 2003, 2004, 2005, 2006, 2007 годов, с вариантами бензиновых и дизельных моторов. За эти годы автомобиль претерпел обновления и рестайлинг. В этой статье мы разберем расположение электронных модулей управления, назначение предохранителей и реле для Toyota Land Cruiser 100 (105), включая детальные схемы блоков предохранителей, места их установки и схемы проводки. Особое внимание уделим предохранителю прикуривателя и розетки в Toyota Land Cruiser 100/105.

Положение блоков предохранителей и функции их компонентов могут варьироваться в зависимости от года производства, комплектации и рынка сбыта (региона поставки).
Блоки предохранителей и реле в салоне
Местоположение блоков
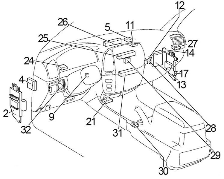
Схема расположения блоков предохранителей в интерьере
Леворульная версия (1998 — 2002)

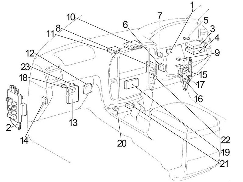
Леворульная версия (2003 — 2007)

Праворульная версия

Описание компонентов
- ’98-’02: Реле сигналов поворота
- ’98-’02: Блок предохранителей
’02-’07: Блок предохранителей / Модуль электроники кузова - ’98-’02: Контроллер ABS
- Модуль регулировки рулевой колонки
- Транспондерный ключевой модуль
- ’98-’02: Контроллер центрального замка
- ’98-’02: Модуль ETC (электронная система оплаты проезда)
- ’98-’02: Модуль управления подвеской
- Усилитель сигнала ключа-транспондера
- ’98-’02: Контроллер приборной панели
- Модуль антиугонной системы
- Реле антенны
- ЭБУ двигателя и АКПП
- Реле блокировки межосевого дифференциала
- ’98-’02: Модуль блокировки передних и задних дифференциалов
или
Модуль блокировки заднего дифференциала - ’98-’02: Контроллер круиз-контроля
- ’98-’02: Реле MTR (распределительный блок)
’02-’07: Блок предохранителей - ’98-’02: Модуль дополнительного обогревателя
- ’98-’02: Главный контроллер
- ’98-’02: Датчик ускорения/замедления
- Центральный модуль airbag
- ’98-’02: Реле AHC (активная гидравлическая подвеска)
- ’98-’02: Правый руль: Таймер обогрева
- ’02-’07: ЭБУ климат-контроля (с навигацией)
- ’02-’07: Реле-блок №1
- ’02-’07: Реле-блок №2
- ’02-’07: Реле-блок №3
- ’02-’07: Реле-блок №4
- ’02-’07: Шлюз сети CAN
- ’02-’07: Модуль блокировки селектора АКПП
- ’02-’07: ЭБУ климат-контроля (без навигации)
- ’02-’07: ЭБУ ABS, BA, TRC, VSC
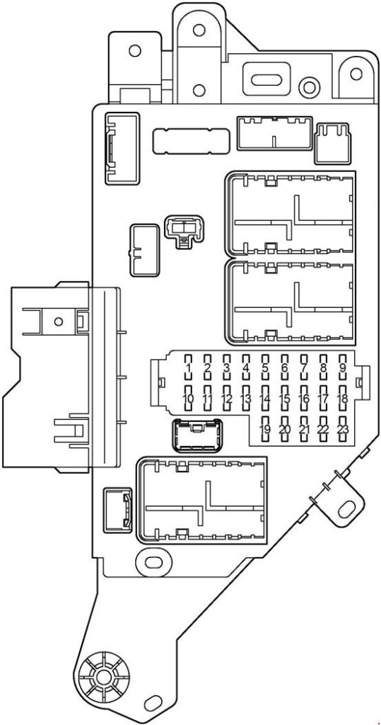
Левый блок предохранителей в салоне
Указан на общей схеме под номером 2. Этот блок отвечает за множество салонных систем, включая прикуриватель в Toyota Land Cruiser 100.
Всегда проверяйте функции предохранителей по схемам на крышке блока для вашей модели.

Фото блока

Схема предохранителей. Версия 1.
1998 — 2002

Расшифровка предохранителей
| 1 | 10A MIRR — Электропривод зеркал |
| 2 | 15A SRS — Система подушек безопасности, преднатяжители ремней |
| 3 | 15A CIGAR — Прикуриватель, магнитола, антенна в Toyota Land Cruiser 100 |
| 4 | 10A IGN — ЭБУ двигателя EFI/SEFI, ABS, SRS, индикатор разряда АКБ |
| 5 | 40A POWER — Центральный замок, стеклоподъемники, люк, электрорегулировка сидений, рулевая колонка |
| 6 | 10A DOME — Салонное освещение, индивидуальные лампы |
| 7 | 20A AHC-IG — AHC (активная подвеска) |
| 8 | 20A DIFF — ЭБУ блокировки дифференциала |
| 9 | 15A GAUGE — Приборная панель, индикаторы, зуммер, фонари заднего хода, А/С, селектор АКПП, DRL, беспроводная система |
| 10 | 20/25A WIPER — Стеклоочистители передние и задние |
| 11 | 7,5A I/UP — Регулировка холостого хода |
| 12 | 15A FR FOG — ПТФ (передние туманки) |
| 13 | 15A STOP — Стоп-сигналы, третий стоп |
| 14 | 30A RR A.C — Задний кондиционер |
| 15 | 20A DEFOG — Обогрев заднего стекла |
| 16 | 15A ECU-B — Регулировка рулевой колонки, DRL, иммобилайзер |
| 17 | 15A TAIL — Габариты, номерной знак, подсветка панели |
| 18 | 15A AHC-B — AHC (активная подвеска) |
| 19 | 10A OBD — Диагностический порт OBD-II |
| 20 | 10A RR HTR — Задний обогреватель |
| 21 | 15A ECU-IG — ABS, блокировка селектора, сиденья, антенна, рулевая колонка |
| 22 | 15A PWR OUTLET — Розетка 12V |
Предохранители №3 (CIGAR, 15A) и №22 (PWR OUTLET, 15A) отвечают за прикуриватель и розетку в Toyota Land Cruiser 100/105.
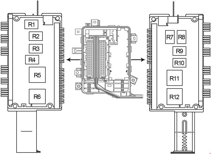
На задней панели блока размещены реле для различных систем.
Схема реле

Расшифровка реле
| R1 | Топливный насос (C/OPN) |
| R2 | Топливный насос (FUEL/PMP) |
| R3 | (D/L (L)) |
| R4 | (SPIL/VLV) |
| R5 | Стартер (ST/CUT) |
| R6 | (D/L (U)) |
| R7 | ПТФ (FR FOG) |
| R8 | — |
| R9 | Обогрев заднего стекла (DEFOG) |
| R10 | Стеклоподъемники, люк (POWER) |
| R11 | Задний обогреватель (RR HTR) |
| R12 | Салонное освещение (DOME) |
| R13 | Габариты (TAIL) |
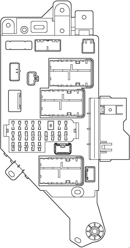
Схема предохранителей. Версия 2.
2003 — 2007

Расшифровка предохранителей
| 1 | 15A PWR OUTLET — Розетка 12V |
| 2 | 15A CIG — Прикуриватель |
| 3 | 7,5A ACC — Подсветка приборов |
| 4 | 7,5A AM1 — EFI/SEFI двигатель |
| 5 | 20A DEFOG — Обогрев заднего стекла |
| 6 | 15A AHC−B — AHC (активная подвеска) |
| 7 | 20A FUEL HTR — Подогрев топлива |
| 8 | 7,5A POWER HTR — Дополнительный обогреватель |
| 9 | 20A AHC−IG — AHC (активная подвеска) |
| 10 | 10A EFI NO.2 — Система выхлопа |
| 10A ECD NO.2 — Система выхлопа | |
| 11 | 10A GAUGE1 — Приборная панель |
| 12 | 10A ECU−IG1 — EFI/SEFI двигатель |
| 13 | 10A ECU−B1 — Навигация |
| 14 | 15A DBL LOCK — Двойной замок |
| 15 | 30A BATT CHARGE — Зарядка прицепа |
| 16 | 15A A/C — Кондиционер |
| 17 | 15A STOP — Стоп-сигналы |
| 18 | 7,5A OBD−2 — Диагностика OBD-II |
| 19 | 7,5A IDEL UP — Холостой ход |
| 20 | 30A LH SEAT — Левый электросиденье |
| 21 | 25A DOOR — Центральный замок, стеклоподъемники |
| 22 | 25A SUN ROOF — Люк |
| 23 | 15A RR WIPER — Задний омыватель |
Предохранители №1 (PWR OUTLET, 15A) и №2 (CIG, 15A) обеспечивают работу розетки и прикуривателя в Toyota Land Cruiser 105.
Расположение реле на задней стороне блока

Расшифровка реле
- R1 — Обогрев заднего стекла (DEFOG)
- R2 — Зажигание (IG1 NO.2)
- R3 — Аксессуары (ACC)
- R4 — Салонное освещение (DOME)
Правый блок предохранителей в салоне
На схеме отмечен номером 17. Устанавливается под приборной панелью со стороны пассажира в Toyota Land Cruiser 100.
Пример схемы на крышке правого блока

Схема предохранителей
2002 — 2007

Расшифровка
| 1 | 10A ECU−B2 — Центральный замок, стеклоподъемники |
| 2 | 20A DIFF — Полный привод |
| 3 | 15A WASHER — Омыватель лобового стекла |
| 4 | 10A RADIO — Аудиосистема |
| 5 | 10A DOME — Салонное освещение |
| 6 | 40A VGRS — Вариатор рулевого управления |
| 7 | 20A P/W (FL) — Левый передний стеклоподъемник |
| 8 | 20A P/W (RL) — Левый задний стеклоподъемник |
| 9 | 25A WIPER — Стеклоочиститель |
| 10 | 10A ECU−IG2 — Задний кондиционер |
| 11 | 15A SEAT HTR — Подогрев сидений |
| 12 | 10A GAUGE2 — Фонари заднего хода |
| 13 | 7,5A MET — Приборная панель |
| 14 | 7,5A ING — EFI/SEFI двигатель |
| 15 | 7,5A SECURITY — Иммобилайзер |
| 16 | 20A P/W (RR) — Правый задний стеклоподъемник |
| 17 | 20A P/W (FR) — Правый передний стеклоподъемник |
| 18 | 30A BATT CHARGE — Зарядка прицепа |
| 19 | — |
| 20 | 20A TIL&TEL — Регулировка рулевой колонки |
| 21 | 30A RR A/C — Задний кондиционер |
| 22 | 30A RH SEAT — Правый электросиденье |
Схема реле на задней стороне

Расшифровка реле
- R1 — Стоп-сигналы (STOP LP)
- R2 —
- R3 — Зажигание (IG1 NO.3)
- R4 — Отсечка аксессуаров (ACC CUT)
Дополнительные модули и реле в салоне
Схема дополнительных элементов

Описание
- ЭБУ люка
- RHD: ЭБУ электрозеркал
- Аудиоусилитель
- Усилитель кондиционера
- Реле заднего вентилятора
- Версия 1: Реле заднего стеклоочистителя
- Реле сцепления прицепа
- Реле прицепа
- ЭБУ топливного насоса
- Реле выбора насоса
- Реле принудительного насоса
- ’02-’07: ЭБУ камеры заднего вида
- ’02-’07: ЭБУ навигации
- Реле заднего обогревателя
- Соленоидный клапан
- LHD: ЭБУ электрозеркал
- Версия 2: Реле правого заднего стеклоочистителя
- Версия 2: Реле левого заднего стеклоочистителя
Блоки предохранителей и реле в моторном отсеке
Местоположение
Общая схема блоков под капотом Toyota Land Cruiser 100

Описание
- ЭБУ форсунок (EDU)
- Главное реле лебедки
- Реле свечей накала
- Блок предохранителей и реле подкапотный
- Блок мощных предохранителей
- ЭБУ левой фары
- Реле дополнительного обогревателя
- Реле по температуре ОЖ
- Реле вентилятора А/С
- Реле омывателей фар
- ЭБУ правой фары
- Блок мощных предохранителей (в холодной зоне)
- Реле DRL №3
- Реле впускного подогрева
Подкапотный блок предохранителей и реле
Находится слева от аккумулятора в моторном отсеке Toyota Land Cruiser 100/105.
Версия 1

Схема
1998 — 2002

Расшифровка
| Предохранители | |
| 1 | 20A AM1 NO.2 — Запуск, поворотники, аварийка, CIGAR, ECU-IG, MIRR, SRS |
| 2 | 20A A.C — Кондиционер |
| 3 | 10A POWER HTR — Дополнительный обогреватель |
| 4 | 15A SEAT HTR — Подогрев сидений |
| 5 | 20A FUEL HTR — Подогрев топлива |
| 6 | 15A MIR HTR — Обогрев зеркал |
| 7 | 20A HEAD CLNER — Омыватели фар |
| 8 | 20A CDS FAN — Вентилятор охлаждения |
| 9 | 20A EFI — EFI/SEFI, выхлоп, топливный насос |
| 20A ECD — EFI/SEFI | |
| 10 | 10A HORN — Гудок |
| 11 | 15A THROTTLE — Электронный дроссель |
| 12 | 20A RADIO — Аудио |
| 13 | 15A HAZ-TRN — Аварийка, поворотники |
| 14 | 30A AM2 — Запуск, EFI/SEFI, IGN |
| 15 | 20A ECU-B1 — Центральный замок, омыватель, беспроводная система, зеркала, приборы, А/С, автоосвещение, иммобилайзер |
| 16 | 20A HEAD (LH-UPR) — Левый дальний свет |
| 17 | 20A HEAD (RH-UPR) — Правый дальний свет |
| 18 | 10A HEAD (LH-LWR) — Левый ближний, ПТФ |
| 19 | 10A HEAD (RH-LWR) — Правый ближний |
| 20 | 40A 1998-1999: ABS |
| 50A 2000-2003: ABS | |
| 21 | 50A AHC — AHC |
| 22 | 50A ACC — PRW OUTLET |
| 23 | 80A AM1 NO.1 — Зарядка, AM1 NO.2, GAUGE, WIPER |
| 24 | 60A HTR — Кондиционер |
| 25 | 80A GLOW — Глоу-плаги |
| 26 | 40A ABS |
| 27 | 30A STARTER — Запуск |
| Реле | |
| R1 | Компрессор А/С (MG CLT) |
| R2 | Обогрев зеркал (MIR HTR) |
| R3 | Аксессуары (ACC) |
| R4 | AHC |
| R5 | Зажигание (IG1 NO.1) |
| R6 | Зажигание (IG1 NO.2) |
| R7 | ABS (SOL) |
| R8 | ЭБУ двигателя (EFI) |
| ЭБУ двигателя (ECD) | |
| R9 | Гудок |
| R10 | Диммер фар |
| R11 | Стартер |
| R12 | ABS (MTR2) |
| R13 | Фары (HEAD) |
| R14 | ABS (MTR1) |
Версия 2

Схема
2003 — 2007

Расшифровка
| 1 | — |
| 2 | — |
| 3 | — |
| 4 | — |
| 5 | 7,5A ST1 — 2002-2005: EFI/SEFI |
| 7,5A WIP−S — 2006-2007: — | |
| 6 | 30A TOWING — Освещение прицепа |
| 7 | 15A MIR HTR — Обогрев зеркал |
| 8 | 10A RR HTR — Задний обогреватель |
| 9 | 15A HAZ−TRN — Аварийка, поворотники |
| 10 | 7,5A ALT−S — Зарядка |
| 11 | 20A NV−IR |
| 12 | 15A FR FOG — ПТФ |
| 13 | 30A TOWING BRK — Стопы прицепа |
| 14 | 20A HEAD CLNER — Омыватели фар |
| 15 | 10A FR−IG — Зарядка |
| 16 | 7,5A PANEL — Подсветка панели |
| 17 | 30A TOWING TAIL — Габариты прицепа |
| 18 | 15A TAIL — Габариты |
| 19 | 30A BAT — ECU−B2 |
| 20 | 7,5A TEL — Телефон |
| 21 | 30A AMP — Аудиоусилитель |
| 22 | 25A EFI NO.1 — EFI/SEFI |
| 25A ECD NO.1 — EFI/SEFI | |
| 23 | 15A AM2 — IGN |
| 24 | 10A ETCS — EFI/SEFI |
| 25 | 10A HORN — Гудок |
| 26 | — |
| 27 | 10A HEAD (RH−LWR) — Правый ближний |
| 28 | 10A HEAD (LH−LWR) — Левый ближний |
| 29 | 20A HEAD (RH−UPR) — Правый дальний |
| 30 | 20A HEAD (LH−UPR) — Левый дальний |
| 31 | 40A ABS |
| 32 | 50A ABS |
| 33 | 50A AHC — AHC |
| 34 | 30A STARTER — Запуск |
| 35 | SHORT PIN A — BAT, AMP |
| 36 | SHORT PIN B — HAZ-TRN, ALT-S |
| 37 | 80A GLOW — Глоу-плаги |
| Реле | |
| R1 | Обогреватель (HTR) |
| R2 | ABS (MTR1) |
| R3 | ABS (MTR2) |
| R4 | ABS (SOL) |
| R5 | ЭБУ двигателя (EFI) |
| ЭБУ двигателя (ECD) | |
| R6 | AHC |
| R7 | Топливный насос (C/OPN) |
| R8 | Топливный насос (F/PUMP) |
| R9 | Стартер (ST) |
Дополнительные реле под капотом
Схема

Расшифровка
| R1 | Реле по температуре ОЖ |
| R2 | Компрессор А/С (MG CLT) |
| R3 | Вентилятор (CDS FAN) |
| R4 | Гудок |
| R5 | Фары (HEAD) |
| R6 | Дальний свет (HEAD HI) |
| R7 | Обогрев зеркал (MIR HTR) |
| R8 | Задний обогреватель (RR HTR) |
| R9 | Подсветка (PANEL) |
| R10 | ПТФ (FR FOG) |
| R11 | Зажигание (IG NO.1) |
| R12 | Габариты (TAIL) |
Блок предохранителей на аккумуляторе
Крепится на положительном клемме АКБ в виде плавких перемычек для высокотоковых цепей Toyota Land Cruiser 100.

Схема
Описание. Версия 1
1998 — 2002
| 1 | 100A J/B NO.2 — ECU-B, FR FOG, DEFOG, AHC-B, TAIL, STOP, DOME, POWER, OBD, RR A.C, RR HTR |
| 2 | 140A ALT — J/B NO.2, MIR HTR, AM1 NO.1, ACC, CDS FAN, HTR, ABS NO.1 |
| 3 | 100A MAIN — ECU-B, FR FOG, DEFOG, AHC-B, OBD, TAIL, STOP, DOME, RR AC, RR HTR |
| 4 | 7,5A ALT-S — Зарядка |
Версия 2
2003 — 2007
| 1 | 50A HTR — А/С и обогрев |
| 2 | 120A J/B NO.1 — IG1 NO.1, TAIL, MIR HTR, RR HTR, TOWING BRK, TOWING, FR FOG |
| 3 | 120A J/B NO.2 — IG1 NO.2, ACC, DEFOG, AM1, LH SEAT, STOP, ECU-B1, SUN ROOF, OBD-2, DOOR |
| 4 | 120A J/B NO.3 — IG1 NO.3, SECURITY, TIL & TEL, RH SEAT, RR A/C, P/W (RR), P/W (RL), P/W (FR), P/W (FL) |
| 5 | 120A MAIN — HEAD HI, HEAD, ABS NO.1, ABS NO.2, SHORT PIN A, EFI/ECD NO.1, SHORT PIN B, AM2, STARTER, HORN, ETCS |
| 6 | 140A ALT — J/B NO.1, J/B NO.2, J/B NO.3, HTR |
Если у вас есть вопросы по предохранителям Toyota Land Cruiser 100/105 или дополнения — оставляйте в комментариях.


