Первое поколение Toyota Ipsum производилось с 1996 по 2001 год, включая модели 1996, 1997, 1998, 1999, 2000 и 2001 годов выпуска с кодами кузовов CXM10G, SXM10G, SXM15G. За период производства автомобиль подвергся рестайлингу. В европейских странах он продается как Toyota Picnic. В этой статье приведены данные о位置 электронных блоков управления, детальное толкование предохранителей и реле Toyota Ipsum, включая схемы блоков, их расположение и места установки. Особое внимание уделим предохранителю для прикуривателя Toyota Ipsum.

Проверяйте функции компонентов по схемам на крышке блока предохранителей.
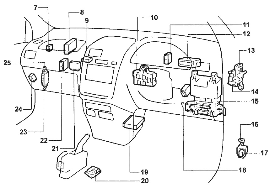
Электронные блоки в пассажирском отсеке
Места установки блоков
Toyota Ipsum
Диаграмма расположения

Расшифровка элементов
- 7 — реле бензонасоса
- 8 — модуль управления мотором
- 9 — контроллер камеры для заднего обзора
- 10 — основной распределительный блок
- 11 — аудиоусилитель
- 12 — телевизионный тюнер (с августа 1997)
- 13 — релейный блок №1
- 14 — реле заднего обдува
- 15 — панель предохранителей салона
- 16 — релейный модуль на моторной перегородке
- 17 — реле питания опций
- 18 — реле центрального локинга
- 19 — сенсор SRS
- 20 — акселерометр ABS
- 21 — усилитель климат-контроля
- 22 — модуль ABS
- 23 — блок с предохранителями
- 24 — контроллер парктроников
- 25 — кронштейн коннектора
Toyota Picnic
Диаграмма

Функции компонентов
- 6 — реле дверных замков
- 7 — модуль иммобилайзера
- 8 — главный монтажный блок
- 9 — ECU двигателя (для МКПП), ECU двигателя и АКПП (для АКПП)
- 10 — реле DRL
- 11 — реле топливного помпа
- 12 — контроллер ABS
- 13 — усилитель А/С
- 14 — реле для доп. оборудования
- 15 — панель подключения опций
- 16 — усилитель антиугонной системы
- 17 — датчик подушки безопасности
- 18 — салонный блок предохранителей
- 19 — комбинированное реле
- 20 — реле заднего климат-контроля
- 21 — релейный блок на моторной стенке
Панель предохранителей в салоне
Располагается в нижней секции приборной панели за пластиковой крышкой, обеспечивая защиту электрических цепей интерьера Toyota Ipsum и Picnic.

Пример диаграммы с крышки

Диаграмма блока

Расшифровка предохранителей
| 1 | 7,5A TURN — Сигналы поворотников |
| 2 | 7,5A IDLE UP — ЭБУ двигателя |
| 3 | 30A DOOR — Электрозамки |
| 4 | 7,5A STARTER — ЭБУ мотора |
| 5 | 10A TAIL — Габаритные огни, номерной фонарь |
| 6 | 20A WIPER — Омыватель и дворники |
| 7 | 10A ECU-IG — ABS, парктроники, полный привод ECU |
| 8 | 15A METER АС — Климатическая система |
| 9 | 15A STOP — Тормозные огни |
| 10 | 15A LITER, RADIO — Электроника, аудиосистема, CD, предохранитель прикуривателя Toyota Ipsum, зеркала |
| 11 | 7,5A IG — ЭБУ двигателя |
| 12 | 30A RR DEF — Дефростер заднего стекла |
| 13 | 10A RR HEATER — Задний обогрев |
| 14 | 15A FR FOG — ПТФ спереди |
| 40А AM1 — Цепи зажигания | |
| 30А POWER — Электростеклоподъемники |
Предохранитель прикуривателя Toyota Ipsum — это номер 10 на 15А.
Блоки в моторном отсеке
Локации блоков
Toyota Ipsum
Диаграмма

Расшифровка
- правый SRS-датчик
- релейный блок №5 (1MZ-FE)
- релейный блок №5 (3S-FE)
- реле накала
- блок предохранителей и реле под капотом, вставки, реле №2
- левый SRS-датчик
Toyota Picnic
Диаграмма

Функции
- реле омывателя оптики
- релейный блок №7
- блок вставок
- подкапотный блок предохранителей и реле
- релейный модуль в моторном компарте
Блок предохранителей и реле под капотом
Устанавливается слева в двигательном отсеке Toyota Ipsum и Picnic.

Диаграмма

Расшифровка
| AM 2 — Зажигание | 30 А |
| AM 2, FUEL HTR — Зажигание, топливный нагрев | 30 А |
| RAD №1 — Аудио | 15 А |
| PWR 2 — Водительское стекло | 30 А |
| ALT-S — Альтернатор | 5 А |
| DOME — Подсветка салона, багажник, часы | 10 А |
| HEAD (LH) — Левая фара | 15 А |
| HEAD (RH) — Правая фара | 15 А |
| EFI — Инжекторная система | 15 А |
| HORN — Клаксон | 10 А |
| HORN, HAZ — Клаксон, аварийка | 15 А |
| ACC SOCKET, PWR OUTLET — Розетка в багажнике | 15 А |
| EFI — Реле инжектора | |
| ST — Реле стартера | |
| HORN — Реле клаксона | |
| HEAD — Реле фар | |
| ENG MAIN — Основное реле мотора | |
| FAN — Реле радиатора | |
| HTR — Реле нагревателя | |
| ALT — Альтернатор | 120А |
| HTR — Нагреватель | 50А |
| ABS — Система ABS | 60А |
Релейный блок

Пример конструкции блока

Расшифровка
- ABS — реле антиблокировочной системы
- ABS MTR — реле насоса ABS
- HEAD LO — Защита фар
Релейный блок №2

Некоторые вспомогательные компоненты, такие как реле, могут фиксироваться отдельно от основных блоков. Например, на моторной перегородке (Picnic — №21, Ipsum — №16) размещаются реле фар и поворотников.
Артикулы реле

Если у вас есть идеи по улучшению статьи — делитесь в комментариях.


