Toyota Corona Premio T211, также называемая Toyota Carina T210 / T211 / T212, производилась с 1996 по 2001 год в кузовах седан, лифтбек и универсал. За период выпуска автомобиль подвергся нескольким обновлениям. Особенностью этих версий является конфигурация рулевого управления. В этой статье вы узнаете о расположении электронных блоков управления, получите детальную расшифровку предохранителей и реле для Toyota Corona Premio (Carina T211), включая схемы блоков, фото-примеры и указание на предохранитель прикуривателя. Полезная информация по электрической системе, распиновке предохранителей, реле и блокам ECU для владельцев Toyota Corona Premio T211.

Число элементов в блоках может варьироваться в зависимости от года выпуска, рынка сбыта и комплектации вашего Toyota Corona Premio T211.
Общая электрическая схема
Схема расположения блоков электронного управления и предохранителей


Расшифровка элементов
- правый передний датчик SRS
- блок реле №5 (модели до 12.1997 г.)
- датчик абсолютного давления во впускном коллекторе (3S-FSE)
- датчик разрежения в вакуумном усилителе тормозов (3S-FSE)
- датчик абсолютного давления во впускном коллекторе (кроме 3S-FSE и дизельных моделей)
- датчик давления наддува (дизельные модели)
- датчик давления наддува (абсолютного давления во впускном коллекторе) (2С-Т)
- блок управления и модулятор ABS (модели с 12.1997 г.)
- блок управления форсунками (с 12.1997 г.)
- реле свечей накаливания (дизельные модели)
- блок реле №2
- монтажный блок в моторном отсеке
- блок плавких вставок
- левый передний датчик SRS
- блок системы навигации
- усилитель стерео системы (модели до 12.1997 г.); ТВ-тюнер (модели с 12.1997 г.)
- блок управления форсунками (модели до 12.1997 г.)
- реле очистителя заднего стекла
- держатель разъёмов
- реле блока управления форсунками (модели до 12.1997 г.)
- реле топливного насоса
- блок управления ABS (модели до 12.1997 г.)
- реле управления форсунками (модели с 12.1997 г.)
- блок реле №4
- реле «EFI-2» (модели с 12.1997 г.)
- электронный блок управления двигателем
- реле управления замками дверей
- интегрированное реле
- реле обогревателя зеркал
- блок реле №1
- кронштейн крепления разъемов
- монтажный блок в салоне
- реле обогревателя переднего стекла (антиобледенителя щеток)
- центральный монтажный блок
- реле ETCS
- реле «EFI-2» (модели до 12.1997 г.)
- реле селектора АКПП
- центральный датчик SRS
- датчик замедления ABS.
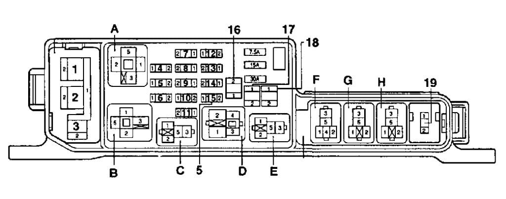
Блок предохранителей в салоне
Блок предохранителей и реле в салоне отмечен на схеме под номером 32. Он расположен за защитной панелью на приборной доске.

Диаграмма блока

Распиновка предохранителей
| 1 | 5А DEFOG / IDLE-UP — Система повышения оборотов холостого хода, ECU двигателя |
| 2 | 30А DEFOG — Обогрев заднего стекла |
| 3 | 15А ECU — IG — ABS, блокировка селектора АКПП |
| 4 | 10А TAIL — Габариты спереди и сзади, подсветка номерного знака |
| 5 | 5А STARTER — Стартер, электронный блок двигателя |
| 6 | 5А IGNITION — Система зажигания, ECU |
| 7 | 10А TURN — Поворотники |
| 8 | 20А WIPER — Омыватели и стеклоочистители |
| 9 | 15А METER — Панель приборов |
| 10 | 7,5А PANEL — Подсветка приборов и кнопок |
| 11 | 15А LIGHTER / RADIO — Зеркала с электроприводом, прикуриватель, часы, аудиосистема |
| 12 | 15А FOG — Противотуманки спереди |
| 13 | 30А DOOR — Центральный замок дверей |
| 14 | 15А STOP — Тормозные огни |
Предохранитель прикуривателя — позиция 11, номинал 15А в салонном блоке Toyota Corona Premio T211.
На задней стороне блока могут быть установлены дополнительные реле.
Схема реле

Расшифровка реле
- R1 — Основное силовое реле
- R2 — Реле габаритных огней
- R3 — Реле обогрева заднего стекла
- S1 — Фильтр помех для радио (обогрев)
- S2 — Фильтр помех (зажигание)
Блок в моторном отсеке
На схеме — позиция 12.
Пример расположения

Диаграмма

Описание элементов
| Реле А — реле №1 э/дв. вентилятора системы охлаждения, В — реле стартера, С — реле звукового сигнала, D — реле фар, Е — реле системы впрыска, F — реле №2 э/дв. вентилятора системы охлаждения, G — реле №3 э/дв. вентилятора системы охлаждения, Н — реле кондиционера; |
| Плавкие вставки 1 — ALT 100А (120А для двигателей 3S-FSE), 2 — ABS 60A, 3 — HTR 40A; |
Предохранители
|
Блок реле №1
На схеме — номер 30.
Диаграмма

Функции
- R1 — Реле противотуманных фар
- R2 — Реле-мигалка поворотников
- R3 — Реле подогрева зеркал
Блок реле №4
На схеме — номер 24.

Блок реле №5
На схеме — номер 2.
Диаграмма

Расшифровка
- А — реле э/м муфты компрессора кондиционера
- В — реле №3 электро двигателя вентилятора системы охлаждения
- С — реле №2 электро двигателя вентилятора системы охлаждения
- D — реле №1 электро двигателя вентилятора системы охлаждения
- Е — силовое реле №2
- F — силовое реле №1
Если у вас есть идеи по улучшению статьи о предохранителях Toyota Corona Premio T211 — делитесь в комментариях.


