Toyota Camry VX 20 производилась в период с 1996 по 2001 год, включая модели 1996, 1997, 1998, 1999, 2000 и 2001 годов. За эти годы автомобиль подвергся рестайлингу. Модель также известна как Toyota Gracia. В этой статье вы получите подробные сведения о размещении электронных блоков управления, характеристиках предохранителей и реле для Toyota Gracia (Camry 20), включая схемы блоков предохранителей, реле, фото-иллюстрации и ключевые элементы, такие как предохранитель прикуривателя. Полезно для диагностики электрики, замены предохранителей и ремонта электрических систем Toyota Camry Gracia.

Положение блоков и функции их компонентов могут варьироваться в зависимости от конкретной комплектации.
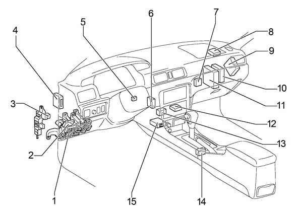
Блоки в салоне
Расположение
Общая схема размещения блоков предохранителей и реле

Описание элементов
- Блок предохранителей в салоне
- Интегральное реле
- Реле указателей поворота
- Блок управления круиз-контролем
- Усилитель сигнала
- Главное реле дневных ходовых огней
- Усилитель кондиционера (для ручного режима)
- Блок противоугонной системы
- Блок управления ABS (ABS и Traction Control)
- Усилитель аудиосистемы
- Блок управления двигателем
- Блок управления автоматическим кондиционером
- Блок центрального замка
- Блок блокировки селектора АКПП
- Центральный блок подушек безопасности
Блок предохранителей
Расположен в нижней секции приборной панели, позади бардачка.

Всегда проверяйте данные по схемам на крышке вашего блока предохранителей Toyota Camry Gracia.

Пример маркировки на крышке блока

Схема блока предохранителей в салоне

Расшифровка предохранителей
| 1 | 20A SEAT−HEATER — Подогрев сидений |
| 2 | 10A HEATER — Кондиционер, обогрев заднего стекла, система запуска двигателя |
| 3 | 10A GAUGE — Комбинация приборов, лампы заднего хода, круиз-контроль, система зарядки, дневные ходовые огни, трэкшн-контроль, стеклоподъемники, предупреждающий зуммер, сервисные индикаторы |
| 4 | 20A WIPER — 1996-1998: Стеклоочиститель и омыватель |
| 25A WIPER — 1999-2001: Стеклоочиститель и омыватель | |
| 5 | 10A MIRROR−HEATER — Обогрев боковых зеркал |
| 6 | 15A ECU−IG — Круиз-контроль, ABS, антенна, подушки безопасности, преднатяжитель ремня, противоугонная система, блокировка селектора АКПП, трэкшн-контроль, DRL, беспроводное управление, впрыск топлива |
| 7 | 5A IGN — Комбинация приборов, система зарядки, подушки безопасности, впрыск топлива, преднатяжитель ремня |
| 8 | 15A STOP — Лампы стоп-сигнала, круиз-контроль, дополнительный стоп-сигнал, ABS, впрыск топлива, блокировка селектора |
| 9 | 10A TAIL — Габаритный свет, освещение номерного знака, DRL, впрыск топлива |
| 10 | 15A POWER−OUTLET — Розетка 12V |
| 11 | 7,5A OBD — Диагностический OBD-разъем |
| 12 | 15A FOG — Противотуманные фары |
| 13 | 5A STARTER — Комбинация приборов, впрыск топлива |
| 14 | 25A DOOR — Центральный замок, противоугонная система, лючок топливного бака |
| 15 | 7,5A PANEL — Комбинация приборов, аудиосистема, прикуриватель, освещение бардачка, подсветка панели, часы, индикаторы, подсветка кондиционера, пепельницы, аварийка, DRL, подогрев сидений, обогрев стекла, АКПП |
| 16 | 7,5A TURN — Указатели поворота |
| 17 | 7,5A RAD−NO.2 — Аудиосистема, антенна |
| 18 | 15A CIG — Прикуриватель, блокировка селектора, зеркала, противоугонка, центральный замок, подушки, преднатяжитель, обогрев зеркал, кондиционер |
| 19 | Помехоподавляющий фильтр |
| 20 | Помехоподавляющий фильтр |
| 21 | 40А DEF — Обогрев заднего стекла |
| 22 | 30A PWR — Стеклоподъемники, электропривод сидений, люк |
| 23 | 40A AM1 — 1996-1999: Омыватель фар |
| 40A AM1 — 2000-2001: Предохранители: POWER−OUTLET, CIG, RAD−NO.2, TURN, WIPER, ECU−IG, GAUGE и HEATER |
Предохранитель прикуривателя обозначен номером 18 (15A) в блоке салона Toyota Camry Gracia.
На задней стороне блока размещены некоторые реле для электрических систем.
Схема реле

Расшифровка реле
| R1 | Силовое реле (стеклоподъемники, люк, электропривод сидений) |
| R2 | Обогрев заднего стекла |
| R3 | Габаритный свет |
| R4 | Интегрированное реле |
Дополнительные элементы
Схема дополнительных блоков

Расположение
- Реле и блок управления люком
- Датчик подушек безопасности
- Блок управления антенной
- Датчик подушек безопасности
- Блок контроля неисправности ламп
Блоки под капотом
Расположение
Общая схема размещения блоков под капотом

Описание
- Основной блок предохранителей и реле
- Блок предохранителей и реле 1 (слева)
- Блок предохранителей и реле 2 (справа)
- Блок управления и актуатор ABS
Блок предохранителей и реле
Монтируется слева под защитной панелью в моторном отсеке.
Фото-иллюстрация блока

Схема блока под капотом

Расшифровка
| 1 | 25A A/F HTR — 1999-2001: Датчик топливно-воздушной смеси |
| 2 | Не используется |
| 3 | 10A A/C — Кондиционер |
| 4 | 10A Запасной предохранитель |
| 5 | 15A Запасной предохранитель |
| 6 | 30A Запасной предохранитель |
| 7 | 30A CDS — Вентилятор охлаждения двигателя |
| 8 | 30A RDI — Вентилятор охлаждения двигателя |
| 9 | 5A ALT−S — Система зарядки АКБ |
| 10 | 15A HEAD (RH) — 1996-1999: Правая фара (дальний свет) |
| 20A HEAD (RH) — 2000-2001: Правая фара (дальний свет) | |
| 11 | 15A EFI — Система электронного впрыска топлива |
| 12 | 10A HORN — Клааксон, противоугонная система |
| 13 | 10A HAZ — 1996-1999: Аварийная сигнализация |
| 15A HAZARD — 2000-2001: Аварийная сигнализация | |
| 14 | 30A AM2 — Комбинация приборов, подушки, преднатяжитель, впрыск, предохранители IGN и STARTER |
| 15 | 5A TEL — Мобильный телефон |
| 16 | 15A HEAD (LH) — 1996-1999: Левая фара |
| 20A HEAD (LH) — 2000-2001: Левая фара | |
| 17 | 20A RADIO NO.1 — Аудиосистема |
| 18 | Не используется |
| 19 | 40A MAIN — 1996-1998: Предохранители: HEAD (RH-HI), HEAD (RH-LO) |
| 20 | 7,5A DOME — Противоугонка, DRL, часы, подсветка замка зажигания, дистанционное управление, освещение салона, багажника, люк, персональный свет, центральный замок, зеркало, двери |
| 21 | 7,5A ECU−B — 1996-1997: Круиз-контроль, ABS, подушки |
| 10A ECU−B — 1998-2001: Круиз-контроль, ABS, подушки, преднатяжитель | |
| 22 | 100A ALT — Предохранители: RDI и CDS |
| 23 | Не используется |
| 24 | 50A HTR — Предохранители: AM1 и A/C |
| 25 | 30A T−STK / CDS 2 |
| Реле | |
| R1 | Муфта компрессора кондиционера |
| R2 | (Circuit Opening) |
| R3 | Вентилятор охлаждения (№.2) |
| R4 | Вентилятор охлаждения (№.3) |
| R5 | Кондиционер |
| R6 | Главное реле |
| R7 | Блок управления двигателем (EFI) |
| R8 | Фары |
| R9 | Стартер |
| R10 | Звуковой сигнал |
| R11 | Вентилятор охлаждения (No.1) |
Блок предохранителей и реле 1
Схема

Назначение
| 1 | Не используется |
| 2 | 5A DRL NO.2 — Дневные ходовые огни |
| 3 | 10A HEAD (LH-LO) — Левая фара (ближний свет) |
| 4 | 10A HEAD (RH-LO) — Правая фара (ближний свет) |
| Реле | |
| R1 | Фары (DIM) |
| R2 | Дневные ходовые огни |
| R3 | Датчик топливно-воздушной смеси |
Блок предохранителей и реле 2
Схема

Расшифровка
- 1 — 60А ABS
- R1 — Реле мотора АБС
- R2 — Реле АБС


