Suzuki Alto 7 – седьмое поколение этой компактной модели выпускалось в период с 2009 по 2014 год, включая ежегодные обновления. Автомобиль прошел несколько модернизаций за это время. В этой публикации мы разберем расположение предохранителей и реле в Suzuki Alto 7, предоставим схемы блоков, указания по их размещению, а также фото-иллюстрации. Особое внимание уделим предохранителю прикуривателя Suzuki Alto 7.

Функции предохранителей и реле в вашем Suzuki Alto 7 могут варьироваться в зависимости от года выпуска, комплектации электроники и рынка сбыта автомобиля.
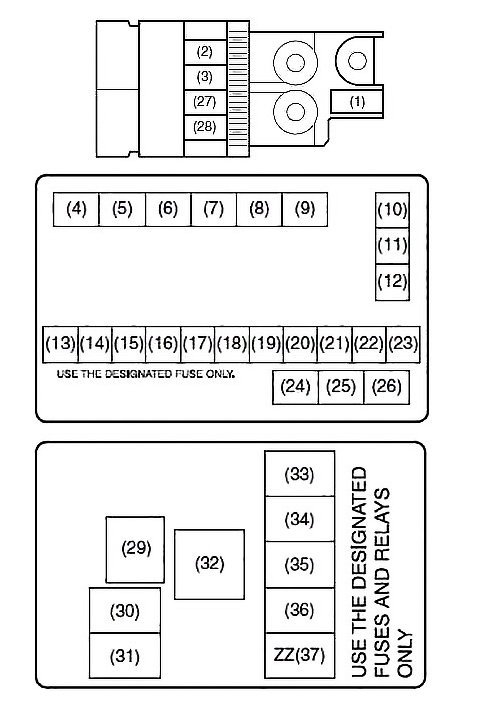
Блок в салоне
Блок предохранителей и реле в интерьере Suzuki Alto 7 размещен под торпедо с водительской стороны.

Вариант 1
Фото — пример

Проверяйте функции компонентов по схемам на внутренней стороне крышки блока предохранителей Suzuki Alto 7.

Схема

Описание
| 1 | 10A Стоп-сигнал |
| 2 | 30A Мотор вентилятора |
| 3 | 10A Стартер |
| 4 | 15A Аксессуар (Прикуриватель) |
| 5 | 10A Задний противотуманный фонарь |
| 6 | 10A Габариты |
| 7 | 10A Фонарь заднего хода |
| 8 | 10A ABS/ESP |
| 9 | 10A Счетчик (Приборы) |
| 10 | 15A Катушка зажигания |
| 11 | 20A Стеклоочиститель/ омыватель |
| 12 | 10A Отопитель |
| 13 | 10A Сигнал зажигания |
| 14 | Подушка безопасности |
| 15 | — |
| 16 | 20A Замок двери |
| 17 | 15A Сирена/ опасность |
| 18 | 20A Задний обогреватель |
| 19 | 10A Освещение внутренне |
| 20 | 30A Электрическое стекло |
Для прикуривателя в этой конфигурации предохранителей Suzuki Alto 7 отвечает элемент №4 номиналом 15А.
Вариант 2

Схема расположения предохранителей в блоке салона Suzuki Alto 7 размещена в нижней секции.

Схема

Обозначение
| BLW FUN 20A | Вентилятор системы кондиционирования |
| ST SIG 30A | Сигнал стартера |
| ACC 15A | Аксессуары (музыка, прикуриватель) |
| RR FOG 10A | Задний противотуманный фонарь |
| TAIL 10A | Стояночный фонарь, габариты |
| FRT WIP 20А | Передний очиститель |
| BACK 10A | Фонарь заднего хода |
| ABS 10A | Антиблокировочная система тормозов |
| MTR 10A | Приборы (кластер) |
| IG COIL 15A | Катушка зажигания |
| BCM 20A | Блок управления |
| IG2 SIG 10A | Сигнал зажигания |
| A/B 10A | Предохранитель подушки безопасности |
| D/L 20A | Система блокировки дверей |
| HORN/HAZ 15A | Сирена/опасность (четыре индикаторных переключателя) |
| RR DEF 15A | Задняя противотуманная фара |
| PWR STR 10A | Электро усилитель руля |
| P/W 30A | Электрическое стекло |
Блок под капотом
В моторном компарте Suzuki Alto 7 основной блок предохранителей и реле расположен слева от аккумулятора.
Вариант 1

Пример схемы с крышки блока предохранителей под капотом Suzuki Alto 7

Схема

Назначение
| 1 | 80A Вся электрическая нагрузка |
| 2 | 50A Внутреннее освещение, задний фонарь, задний дефоггер, замок двери |
| 3 | 50A Электрический стеклоподъемник, обогреватель, стеклоочиститель, зажигание |
| 10 | 30A Предохранитель 2 модуля управления ABS |
| 11 | 40A Усилитель рулевого управления |
| 12 | 40A Предохранитель 1 модуля управления ABS |
| 13 | 30A Выключатель зажигания |
| 14 | 10A Компрессор кондиционера |
| 15 | 7,5A CNG VLV (*1) |
| 15A Фара дальнего света (левая) (*2) | |
| 16 | 15A Передняя противотуманная фара |
| 17 | 30A Вентилятор радиатора |
| 18 | Не используется |
| 19 | 15A Фара (левая) (*1) |
| 15A Фара высокая (правая) (*2) | |
| 20 | 15A Фара (правая) (*1) |
| 20 | 15A Фара высокая (левая) (*2) |
| Не используется | |
| 21 | 15A Фара низкая (правая) (*2) |
| 22 | 30A Пусковой двигатель |
| 23 | 15A Впрыск топлива |
| 27 | 80A Головной свет, Воздушный компрессор, Передняя противотуманная фара, Вентилятор радиатора |
| 28 | 80A Усилитель рулевого управления, ABS |
| 29 | 80A Насос Т/М |
| 30 | 10A Т/М |
| 31 | 10A T/M2 |
| 32 | Не используется |
| 33 | Не используется |
| 34 | Не используется |
| 35 | Не используется |
| 36 | Не используется |
| 37 | Не используется |
| Реле | |
| 4 | Реле передних противотуманных фар |
| 5 | Реле пускового двигателя |
| 6 | Реле CNG VLV (*1) |
| Не используется (*2) | |
| 7 | Не используется (*1) |
| Реле ближнего света фар (левое) (*2) | |
| 8 | Реле компрессора кондиционера |
| 9 | Не используется (*1) |
| Низкий свет фар (правый) Реле (*2) | |
| 24 | Реле вентилятора радиатора |
| 25 | Реле топливного насоса |
| 26 | Главное реле |
Дополнительные блоки предохранителей и реле в Suzuki Alto 7 могут быть установлены отдельно, например, мощные предохранители в форме fusible links на плюсовой клемме АКБ.
Вариант 2

Схема

Расшифровка
- BAT2 30A — для дополнительного блока комплектации с ксеноном
- PSD R — сдвижная дверь правая
- PSD L — сдвижная дверь левая
- RDTR 30A — Вентилятор радиатора
- ST3 20A — Стартер
- CPRSR 10A — Компрессор
- ABS SOL 25A — Соленоид ABS
- H/L L 15A — Фара левая (ближний)
- H/L R 15A — Фара правая (ближний)
- ST2 30A — Стартер 2
- SUB BAT 30A — Дополнительная батарея
- A-STOP 10A — Контроллер остановки на холостом ходу, стоп сигналы
- ABS MOT 40A — Двигатель ABS
- FI2 15A — Устройство впрыска топлива
- CVT PUMP 15A — Насос вариатора
- THR MOT2 15A — Двигатель дроссельной заслонки
- SPARE — Запасной
- IG COIL2 15A — Катушка зажигания
- METER2 10A — Приборы
- ST SIG/IG1 SIG2 10A — Контроллер остановки на холостом ходу
- FI MAIN — Реле впрыска топлива
- F/P — Реле топливного насоса
- RDTR — Реле вентилятора радиатора
Вариант 3

Схема

Если вы знаете, как улучшить этот материал о предохранителях Suzuki Alto 7, или обнаружили неточность в схемах реле и блоках, оставьте отзыв в комментариях.


