Nissan Murano Z50 – популярный компактный кроссовер, выпускавшийся с 2002 по 2007 год (включая модели 2002, 2003, 2004, 2005, 2006 и 2007 годов выпуска). За эти годы автомобиль неоднократно обновлялся в рамках рестайлинга. В этой статье вы найдете полное руководство по предохранителям и реле Nissan Murano Z50, с акцентом на схемы блоков предохранителей, фото расположения модулей и назначение всех электронных блоков управления для удобства ремонта и диагностики кроссовера.

Кроссовер Nissan Murano Z50 поставлялся на рынки разных стран в разнообразных комплектациях, поэтому конфигурация блоков предохранителей и реле, а также функции элементов могут варьироваться по сравнению с приведенными примерами. Рекомендуем сверяться с документацией вашего автомобиля.
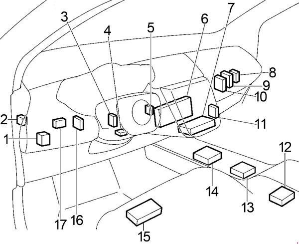
Блоки предохранителей и реле в салоне
Расположение модулей
Общая диаграмма расположения блоков в интерьере

Пояснения к обозначениям
- Основной блок предохранителей в салоне Nissan Murano Z50
- Модуль управления системой полного привода (4WD)
- Блок кузовной электроники (Body Control Module, BCM)
- Блокировка селектора АКПП
- Иммобилайзер (NATS IMMU) для защиты от угона
- Контроллер дисплея приборной панели
- Блок климат-контроля (управление кондиционером)
- Система мониторинга давления в шинах (TPMS)
- Модуль управления трансмиссией (TCM)
- Электронный блок управления двигателем (ECM)
- Система бесключевого доступа и запуска
- Контроллер подушек безопасности (SRS)
- Управление раздаточной коробкой
- Навигационный модуль
- Driver Control Unit (блок управления водительскими функциями)
- Time Control Unit (контроль временных параметров)
- Automatic Drive Positioner (память настроек водительского места)
Основной блок предохранителей в салоне
В интерьере Nissan Murano Z50 блок предохранителей и реле установлен в нижней секции торпедо слева от водителя, за защитной крышкой.

Всегда проверяйте функции предохранителей по схеме на внутренней стороне крышки блока для вашего конкретного экземпляра Nissan Murano Z50.

Диаграмма предохранителей Nissan Murano Z50

Расшифровка предохранителей и реле в салоне
| 1 | 10А Управление двигателем (ECM) |
| 2 | 10А Сигнал запуска стартера |
| 3 | 10А Обогрев передних сидений |
| 4 | 10А Мультимедийная аудиосистема |
| 5 | 15A Вспомогательная розетка (12В) |
| 6 | 10A Электропривод и обогрев боковых зеркал, бесключевой доступ, климат-контроль, регулировка фар, задний противотуманный свет, передние fog-lights, подсветка приборов, антенна, омыватель фар, аудиосистема, комбинированный выключатель, стоп-сигналы, AV-адаптер |
| 7 | 15А Прикуриватель и зарядка устройств |
| 8 | 10A Подогрев сидений, система кондиционирования |
| 9 | 10A Функция памяти положений сидений |
| 10 | 15A Компрессор кондиционера |
| 11 | 15A Вентиляторы кондиционера |
| 12 | 10A Круиз-контроль, OBD-диагностика, датчик скорости, селектор АКПП, индикаторы трансмиссии, VDC (стабилизация), бесключевой запуск, NATS (иммобилайзер), AFS (адаптивный свет), электрическая шторка багажника, звуковой сигнал, подсветка панели, приборная панель, аудио, обогрев стекла, подогрев сидений, корректор фар, задние огни, климат |
| 13 | 10A Система подушек безопасности (SRS) |
| 14 | 10A Приборная панель: подсветка, звуковой сигнал, индикаторы АКПП, селектор PNP, круиз, OBD, ручной режим CVT, ABS, VDC, SRS, бесключевой доступ, шторка, зарядка, фары, fog-lights, задний туман, поворотники, стоп-сигналы, задний ход, AV-адаптер |
| 15 | 15A Вентиляция сидений, омыватель фар и лобового стекла |
| 16 | Резервный слот |
| 17 | 15A Центральный замок, круиз, OBD, TCM, датчик ATF, ECM, селектор АКПП, CVT-мануал, VDC, бесключевой, NATS, замок багажника, стеклоподъемники, люк, обогрев стекла, регулировка сидений, память, корректор фар, фары, fog-lights, туман, поворотники, комбинированный выключатель, задний переключатель, подсветка, приборы, салонное освещение, сигнал, индикаторы, AV |
| 18 | 15A Селектор АКПП, центральный замок, бесключевой, NATS, память сидений, салонный свет, звуковой сигнал |
| 19 | 10A ЭБУ двигателя, OBD, CVT-мануал, VDC, бесключевой, NATS, климат, задние огни, подсветка панели, приборы, сигнал, AV, индикаторы АКПП |
| 20 | 10A Стоп-сигналы, выключатель стопов, круиз, VDC, ABS, селектор АКПП |
| 21 | 10A Салонное освещение, подсветка зеркал в солнцезащитных козырьках |
| 22 | 10A Крышка топливного бака |
| S | Запасной предохранитель для замены |
Предохранитель прикуривателя в Nissan Murano Z50 – это элемент №7 номиналом 15А.
- R1 — Реле обогрева сидений в салоне
- R2 — Реле вентилятора отопителя
- R3 — Реле дополнительного оборудования

Модули предохранителей и реле под капотом
Расположение
Диаграмма расположения блоков под капотом Nissan Murano Z50

Функции блоков
- Силовой блок предохранителей с высокими номиналами
- Вспомогательный блок предохранителей №2
- Главный блок предохранителей №1 (IPDM E/R)
- ЭБУ антиблокировочной системы (ABS)
- Электромотор дворников лобового стекла
Вспомогательный блок предохранителей №2

Пример доступа к блоку

Схема на крышке блока

Детальная схема блока №2 под капотом

Расшифровка элементов
| 1 | Реле омывателя фар |
| 2 | Реле клаксона (звукового сигнала) |
| F1 | — |
| F2 | (10А) Клаксона |
| F3 | (10А) Альтернатор (генератор) |
| F4 | (30А) Разъем для прицепа (электрооборудование) |
| F5 | (50А) |
| F6 | — |
| F7 | (30A) ABS/ESP/VDC |
| F8 | (40А) Омыватель фар |
| F9 | (50A) ABS/ESP/VDC |
| F10 | (40А) Вентилятор охлаждения двигателя |
| F11 | (40А) Дополнительный вентилятор охлаждения |
| F12 | (40А) Контуры зажигания |
| F13 | (10А) Электропривод двери багажника |
| F14 | (15А) Подогрев сидений |
| F15 | (10А) 4WD-система |
| F16 | (15А) Аудиосистема и мультимедиа |
Главный блок предохранителей №1 (IPDM E/R)
Этот модуль размещен на правом лонжероне моторного отсека, ориентирован вертикально для удобства доступа.
Фото блока под капотом

Схема расположения

Описание функций
| 71 | 10A Габаритные огни, подсветка номерного знака, корректор фар, салонная подсветка |
| 72 | 10A Правая фара дальний свет, DRL (дневные огни) |
| 73 | 30A Реле дворников (передний стеклоочиститель) |
| 74 | 10A Левая фара дальний свет, DRL |
| 75 | 20A Реле обогрева заднего стекла |
| 76 | 15A Правая фара ближний свет, DRL |
| 77 | 15A Реле ECM, иммобилайзер NATS |
| 78 | 15A Реле DRL |
| 79 | 10A Реле компрессора кондиционера |
| 80 | 20A Реле обогрева заднего стекла |
| 81 | 15A Реле топливного насоса |
| 82 | 10A Полный привод, ESP/TCS/ABS |
| 83 | 10A TCM, датчик оборотов трансмиссии |
| 84 | 10A Дворники и омыватель (передний/задний) |
| 85 | — |
| 86 | 15A Левая фара ближний свет, DRL |
| 87 | 15A Реле дроссельной заслонки |
| 88 | 15A Реле передних противотуманок |
| 89 | — |
| Реле в блоке IPDM | |
| R1 | ECM (управление двигателем) |
| R2 | Дальний свет фар |
| R3 | Ближний свет фар |
| R4 | Стартер |
| R5 | Система зажигания |
| R6 | Вентилятор охлаждения №3 |
| R7 | Вентилятор охлаждения №1 |
| R8 | Вентилятор охлаждения №2 |
| R9 | Дроссельная заслонка |
| R10 | Топливный насос |
| R11 | Передние противотуманные фары |
Силовой блок предохранителей
На положительном клемме аккумулятора могут быть установлены мощные плавкие предохранители для защиты основных цепей Nissan Murano Z50.
Диаграмма силового блока

Назначение силовых предохранителей
- A — 120А Альтернатор, цепи предохранителей «B», «C»
- B — 100А Защита предохранителей: «31», «32», «33», «34», «35», «36», «37», «38», «F», «G», «H», «I», «J», «K», «L», «M»
- C — 80А Вариант 1: Реле дальнего света (предохранители «85», «86»), реле ближнего света («83», «84»), цепи «72», «74», «75», «76», «77», «79»
Вариант 2: Реле дальнего света («72», «74»), реле ближнего («76», «86»), цепи «71», «73», «75», «87» - D — 60А Вспомогательное реле (цепи «5», «6», «7»), реле отопителя («10», «11»), цепи «17», «18», «19», «20», «21»
- E — 80А Вариант 1: Реле зажигания («71», «80», «81», «87», «88»), цепи «73», «78», «82»
Вариант 2: Реле зажигания (AC, дворники, высокоскоростной режим дворников, цепи «81», «82», «83», «84»), цепи «77», «78», «79», «80»
Если у вас есть дополнительные сведения по предохранителям и реле Nissan Murano Z50, поделитесь в комментариях – это поможет другим владельцам!


