Mercedes-Benz W221 — это пятое поколение представительского S-класса от Mercedes-Benz, производившееся в период с 2005 по 2013 годы в модификациях S350, S450, S500, S600, S65 AMG и S63 AMG. Модель подверглась рестайлингу. Данный материал окажется полезным и для обладателей Mercedes-Benz C216 (купе CL-класса), поскольку эти авто построены на единой платформе. Мы подробно разберем расположение блоков предохранителей и реле в Mercedes W221, предоставим схемы и описание их назначения. Особое внимание уделим предохранителям, отвечающим за прикуриватель, а также ключевым элементам электрики в S-Class W221.

Позиционирование блоков и функции компонентов могут варьироваться в зависимости от года выпуска и комплектации вашего Mercedes W221 или C216.
Блоки предохранителей под капотом в Mercedes W221
Расположение блоков
Диаграмма позиционирования блоков предохранителей под капотом Mercedes 221

Описание элементов
- F32/3 — Основной блок силовых предохранителей Mercedes W221
- N10/1 — Центральный блок реле и предохранителей
- K109 (K109/1) — Реле вакуумного насоса для Mercedes S-Class
Основной блок предохранителей и реле под капотом
Этот блок размещен слева в моторном отсеке, у стойки, и защищен пластиковой крышкой. Он отвечает за ключевые системы электрики в W221.
Пример фото блока предохранителей Mercedes 221

Диаграмма

Назначение предохранителей
| 20 | 10A Блок управления системы CDI |
| Блок управления ME | |
| 21 | 20A Кабельный наконечник электр. цепи клеммы 87 M1i |
| Блок управления системы CDI | |
| Реле топливного насоса | |
| Дозирующий клапан | |
| 22 | 15A Кабельный наконечник электр. цепи клеммы 87 |
| 23 | 20A Кабельный наконечник электр. цепи клеммы 87 |
| Кабельный наконечник электр. цепи клеммы 87 M2e | |
| Кабельный наконечник электр. цепи клеммы 87 M2i | |
| Блок управления SAM с модулем предохранителей и реле в задней части салона | |
| 24 | 25A Кабельный наконечник электр. цепи клеммы 87M1e |
| Блок управления системы CDI | |
| 25 | 7,5A Комбинация приборов |
| 26 | 10A Передняя левая блок-фара |
| 27 | 10A Передняя правая блок-фара |
| 28 | 7,5A |
| Блок управления EGS | |
| Блок управления, интегрированный в АКП (VGS) | |
| 29 | 5A Блок управления SAM с модулем предохранителей и реле в задней части салона |
| 30 | 7,5A Блок управления системы CDI |
| Блок управления ME | |
| Блок управления топливного насоса | |
| 31 | 5A S 400 Hybrid: Электрический компрессор кондиционера |
| 32 | 15A Блок управления дополнительного насоса масла КП |
| 33 | 5A Начиная с 1.9.10: Блок управления ESP |
| S 400 Hybrid: | |
| Блок системы управления АКБ | |
| Блок управления преобразователя постоянного напряжения | |
| Блок управления силовой электроники | |
| 34 | 5A S 400 Hybrid: Блок управления системы рекуперации энергии торможения |
| 35 | 5A Блок управления электрического стояночного тормоза |
| 36 | 10A Диагностический разъём |
| 37 | 7,5A Блок управления EZS |
| 38 | 7,5A Блок управления центрального интерфейса |
| 39 | 7,5A Комбинация приборов |
| 40 | 7,5A Верхняя блок-панель управления |
| 41 | 30A Подчиненный электромотор стеклоочистителя |
| 42 | 30A Главный электромотор очистителя |
| 43 | 15A Прикуриватель с подсветкой, передний |
| 44 | Резерв |
| 45 | 5A S 400 Hybrid: |
| Циркуляционный насос 1 силовых электронных устройств | |
| 46 | 15A Блок управления ABC (система активного контроля уровня кузова) |
| Блок управления AIRMATIC с ADS | |
| 47 | 15A Электромотор регулировки рулевой колонки вверх и вниз |
| 48 | 15A Электромотор регулировки рулевой колонки вперёд и назад |
| 49 | 10A Электронный модуль рулевой колонки |
| 50 | 15A Блок управления KLA |
| 51 | 5A Дисплей COMAND |
| Дисплей системы раздельного изображения SPLITVIEW (система раздельного изображения) | |
| 52a | 15A W221: |
| Левый звуковой сигнал | |
| Правый звуковой сигнал | |
| 52b | 15A W221, C216: |
| Левый звуковой сигнал | |
| Правый звуковой сигнал | |
| 53 | Резерв |
| 54 | 40A Блок рециркуляции воздуха климатической системы |
| 55 | 60A Бензиновые двигатели: Электрический воздушный насос |
| 56 | 40A Компрессорный блок системы AIRmatic |
| 57 | 30A Подогрев щеток стеклоочистителя |
| 60 | 5A Электрогидравлический усилитель рулевого управления |
| 61 | 7,5A Блок управления систем пассивной безопасности |
| 62 | 5A Блок управления системы ночного видения |
| 63 | 15A Датчик конденсата топливного фильтра с элементом подогрева |
| 64 | 10A W221: |
| Катушка электромагнита подголовника NECK-PRO на спинке сиденья водителя | |
| Катушка электромагнита подголовника NECK-PRO на спинке правого переднего сиденья | |
| 65 | 15A Действительно с 1.6.09: Штекерное соединение 12 вольт в вещевом ящике |
| 66 | 7,5A Модуль управления DTR (Distronic) |
| Реле в блоке | |
| А | Реле воздушного насоса |
| B | Реле компрессора воздушной подвески |
| C | реле клеммы 87, двигатель |
| D | Реле клеммы 15 |
| E | Реле электр. цепи клеммы 87 ходовой части |
| F | Реле звуковых сигналов |
| G | Реле клеммы 15R |
| H | Реле эл. цепи клеммы 50, стартер |
| J | Реле эл. цепи клеммы 15, стартер |
| K | Реле подогрева щёток стеклоочистителя |
Предохранитель 43 (15A) отвечает за передний прикуриватель с подсветкой в Mercedes W221. Для заднего прикуривателя смотрите задний блок предохранителей и реле S-Class.
Блок силовых предохранителей под капотом
Этот мощный блок находится справа в моторном отсеке, поблизости от аккумулятора, и защищает высокомощные цепи.

Вариант 1 схемы
Диаграмма

Функции
- F32f1 — Стартер 400A
- F32f2 — Кроме двигателя 642: Генератор 150A / Двигатель 642: Генератор 200A
- F32f3 — 150
- F32f4 — Всасывающий электро вентилятор двигателя и кондиционера с интегрированным регулятором 150A
- F32f5 — Двигатель 642: Дополнительный подогреватель PTC 200A
- F32f6 — Блок управления SAM с модулем предохранителей и реле, передний 200A
- F32f7 — Блок управления ESP 40A
- F32f8 — Блок управления ESP 25A
- F32f9 — Блок управления SAM с модулем предохранителей и реле, передний 20A
- F32f10 — Блок управления бортовой сети 7,5A
Вариант 2
Фото блока силовых предохранителей

Диаграмма

Назначение
| 3 | 150A Блок управления SAM с модулем предохранителей и реле в задней части салона |
| 4 | 150A Реле функции ECO Start-Stopp |
| S 400 Hybrid: Блок управления преобразователя постоянного напряжения | |
| Блок управления обогревом ветрового стекла | |
| 5 | 125A Многофункциональный блок управления спецавтомобиля (MSS) |
| 40A S 400 Hybrid: Вакуумный насос | |
| 6 | 80A Правый блок предохранителей в передней панели |
| 7 | 150A Многофункциональный блок управления спецавтомобиля (MSS) |
| Двигатель 629, 642, 651:Дополнительный подогреватель PTC | |
| 8 | 80A Передний блок управления SAM с модулем предохранителей и реле |
| 9 | 80A Левый блок предохранителей в передней панели |
| 10 | 150A Блок управления SAM с модулем предохранителей и реле в задней части салона |
Блоки предохранителей в салоне Mercedes W221
Позиционирование
Схема расположения блоков предохранителей в интерьере Mercedes 221

Расшифровка
- F1/6 — Правый блок предохранителей в приборной панели
- F1/7 — Левый блок предохранителей в приборной панели
- F32/4 — Блок силовых предохранителей в салоне
- F38 — Предохранитель аварийной АКБ
- N10/2 — Задний блок предохранителей и реле в багажнике
Левый блок предохранителей в приборной панели
Блок расположен в левом конце торпедо, за крышкой, и обслуживает системы безопасности и мультимедиа в W221.

Диаграмма

Расшифровка
| 92 | 40A Блок управления сиденья передний левый |
| 93 | 7,5A Блок управления системой пассивной безопасности |
| Блок управления система определения массы пассажиров (WSS) (США) | |
| 94 | Не используется |
| 95 | Не используется |
| 96 | 5A Блок управления RDK (система контроля давления в шинах (Siemens)) |
| 97 | 7,5A W221: Блок управления Аудио — Видео — Контроллера (мультимедийная развлекательная система в задней части салона) |
| 98 | Не используется |
| 99 | Не используется |
| 100 | Не используется |
| 101 | 10A Дисплей левый в задней части салона |
| Дисплей правый в задней части салона | |
| 102 | 40A Блок управления сиденья передний правый |
| 103 | 7,5A Блок управления ESP |
| 104 | 40A Блок управления аудио — тюнером |
| 105 | Не используется |
| 106 | Блок управления электронной системы взимания дорожных сборов (ETC) (Япония) |
| 107 | 5A C216: Блок управления SDAR |
| 108 | 5A Блок управления заднего кондиционера |
| 109 | 15A W221: Промежуточное штекерное соединение электрического вентилятора задней части салона |
| 110 | 7,5A W221: |
| Блок управления мультиконтурной спинки сиденья задний левый | |
| Блок управления мультиконтурной спинки сиденья задний правый | |
| 111 | 5A Блок управления HBF |
| 112 | 5A W221: |
| Блок управления передней левой двери | |
| Блок управления передней правой двери | |
| 113 | Не используется |
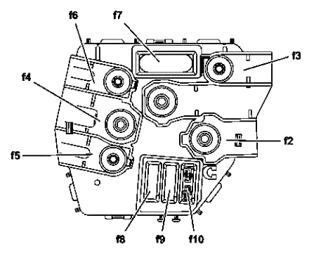
Правый блок предохранителей в приборной панели
Блок размещен в правом торце торпедо, за защитной панелью, и контролирует функции доступа и мультимедиа.

Диаграмма

Описание
| 70 | 40A C216: Блок управления правой двери |
| W221: Блок управления в передней правой двери | |
| 71 | 15A Блок управления KEYLESS-GO |
| 72 | 7,5A S 400 Hybrid: Пиротехнический разъединительный элемент |
| 73 | 5A Блок управления COMAND (Япония) |
| Блок управления системы аварийного вызова | |
| 74 | 30A Блок управления HDS (дистанционное закрывание крышки багажника) |
| 75 | 10A S 400 Hybrid: |
| Блок системы управления АКБ | |
| Блок управления силовой электроники | |
| 76 | Двигатель 642.8: Реле питания AdBlue® |
| 15A S 400 Hybrid: Реле вакуумного насоса (+) | |
| 77 | 50A Акустический усилитель |
| 78 | 25A S 65 AMG с двигателем 275: Реле дополнительного вентилятора |
| Двигатель 642.8: Реле питания AdBlue® | |
| 15A Двигатель 157, 278; S 400 Hybrid, CL 63 AMG: Циркуляционный насос охладителя наддувочного воздуха | |
| 79 | 7,5A Сирена сигнализации |
| 80 | 40A C216: Блок управления в левой двери |
| W221: Блок управления в передней левой двери | |
| 81 | 30A C216: Блок управления систем задней части салона |
| 40A W221: Блок управления задней левой двери | |
| 82 | 30A C216: Блок управления систем задней части салона |
| 40A W221: Блок управления задней правой двери | |
| 83 | 30A Модуль сервопривода АКП для системы «DIRECT SELECT» |
| 84 | 20A Цифровой звуковой процессор |
| 85 | 10A AMG: Накладки порогов с подсветкой |
| 86 | Резерв |
| 87 | Резерв |
| 88 | Резерв |
| 89 | Резерв |
| 90 | 20A C216: Отопитель STH (система автономного отопления) |
| W221: Отопитель STH (автономный) или ZUH (дополнительный) | |
| 91 | 5A Приемный блок дистанционного радиоуправления автономным отопителем STH |
| S 400 Hybrid: Передний блок управления SAM с модулем предохранителей и реле |
Задний блок предохранителей и реле Mercedes W221
Блок находится в багажнике, за подлокотником задних сидений. Для доступа опустите подлокотник и снимите крышку. Он управляет задними системами и аксессуарами.

Диаграмма

Назначение
| 115 | 50A Обогрев заднего стекла |
| 116 | 10A Двигатель 157, 275, 278: Циркуляционный насос охладителя наддувочного воздуха |
| Двигатель 156: Циркуляционный насос масляного радиатора двигателя | |
| S 400 Hybrid: Циркуляционный насос 2 силовых электронных устройств | |
| 117 | 15A Задний прикуриватель |
| 118 | 30A Двигатель 629, 642: Топливный насос |
| 15A S 400 Hybrid: Циркуляционный насос 1 силовых электронных устройств | |
| 15A Двигатель 642.8, 651 начиная с 1.6.11: Компрессор хладагента с электромагнитной муфтой | |
| 119 | 7,5A Центральная панель управления спереди |
| 120 | Резерв |
| 121 | 10A Блок управления аудиотюнера |
| 122 | 7,5A Блок управления COMAND |
| 123 | 40A W221: Передний правый реверсивный натяжитель ремня безопасности |
| 124 | 40A W221: Передний левый реверсивный натяжитель ремня безопасности |
| 125 | 5A Блок управления голосового управления (SBS) |
| 126 | 25A Потолочная блок-панель управления |
| 127 | 30A Насос нижней части спинки сиденья |
| Пневмонасос мультиконтурного сиденья | |
| Пневмонасос для динамической регулировки сиденья | |
| 128 | 25A Двигатель 156, 157, 272, 273, 275, 276, 278, 642: Блок управления топливного насоса |
| 129 | 25A Блок управления UHI (универсальный интерфейс сотового телефона) / Потолочная блок-панель управления |
| 130 | 30A Блок управления электрического стояночного тормоза |
| 131 | 7,5A Модуль антенных усилителей над задним стеклом |
| 133 | 15A Блок управления системы распознавания прицепа |
| 5A Камера заднего вида | |
| 134 | 15A Розетка в багажном отделении |
| 135 | 7,5A Блок управления радарных датчиков (SGR) |
| Блок управления PTS (PARKTRONIC) | |
| 136 | 7,5A Двигатель 642.8: Блок управления AdBlue® |
| 137 | 7,5A Начиная с 1.9.10: Камера заднего вида |
| 138 | 5A Навигационный процессор (Тайвань, до 31.8.10) |
| Блок управления системы аварийного вызова | |
| Штекерное соединение ТВ/тюнер (Япония) | |
| 139 | 15A Холодильный бокс в спинке заднего сиденья |
| 140 | 15A Штекерное соединение прикуривателя с освещением пепельницы, сзади |
| Розетка 115 В | |
| 141 | 5A Блок управления камеры заднего вида |
| Модуль электропитания камеры заднего вида | |
| 142 | 7,5A Блок управления PTS (PARKTRONIC) |
| Блок управления радарных датчиков (SGR) | |
| Блок управления видео датчиков и радарных датчиков (начиная с 1.9.10) | |
| 143 | 25A Блок управления задних сидений |
| 144 | 25A Блок управления задних сидений |
| 145 | 20A Штекерный разъём тягово — сцепного устройства AHV, 13-контактный |
| 146 | 25A Блок управления системы распознавания прицепа |
| 147 | Резерв |
| 148 | 25A Концевая муфта клеммы 30 панорамного сдвижного люка |
| 149 | 25A Модуль управления панорамным сдвижным люком |
| 150 | 7,5A Комбинированный ТВ-тюнер (аналоговый/цифровой) |
| Штекерное соединение ТВ/тюнер (Япония) | |
| 151 | 20A Блок управления системы распознавания прицепа 25A Модуль управления стояночной тормозной системы с электроприводом |
| 152 | 25A Блок управления преобразователя DC/AC 7,5A Модуль антенных усилителей над задним стеклом |
| Реле | |
| M | Реле клеммы 15 (2) / резерв 1 (реле с переключающим контактом) |
| Н | Реле клеммы 15R |
| O | Реле розеток |
| P | Реле обогрева заднего стекла |
| Q | Двигатель 156, 157, 275, 278, 629: Реле циркуляционного насоса |
| S 400 Hybrid: Реле циркуляционного насоса 2 силовых электронных устройств | |
| R | Реле прикуривателя |
| S | Двигатель 642, кроме 642.8: Реле топливного насоса |
| Двигатель 642.8, 651 начиная с 1.6.11: Электромагнитная муфта компрессора хладагента | |
| S 400 Hybrid: Реле циркуляционного насоса 1 силовых электронных устройств | |
Предохранители 117 (15A) и 134 (15A) отвечают за задний прикуриватель и розетку в багажнике Mercedes W221.
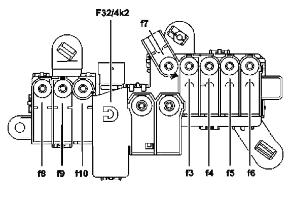
Блок силовых предохранителей в салоне
Дополнительный блок силовых предохранителей установлен справа в салоне, со стороны пассажира, для защиты основных цепей интерьера.
Пример фото

Диаграмма

Функции
| 2 | 400A Генератор (G2) |
| 3 | 150A Электрогидравлический усилитель рулевого управления |
| Двигатель 629, 642:Конец времени накаливания свечи | |
| 4 | Блок силовых предохранителей салона F32/4 |
| 5 | 100A Всасывающий электро вентилятор двигателя и кондиционера с интегрированным регулятором |
| 6 | 150A Передний блок управления SAM с модулем предохранителей и реле |
| 7 | 40A Блок управления ESP |
| S 400 Hybrid: Блок управления системы рекуперации энергии торможения | |
| 8 | 25A Блок управления ESP |
| S 400 Hybrid: Блок управления системы рекуперации энергии торможения | |
| 9 | 25A Передний блок управления SAM с модулем предохранителей и реле |
| 10 | Резерв |
| Реле | |
| F32/4k2 | Реле отключения тока покоя |
В багажнике Mercedes W221 могут быть установлены дополнительные предохранители и реле для систем вроде AdBlue.
Это полное руководство по предохранителям и реле Mercedes W221. Если у вас есть дополнения или вопросы по S-Class, оставьте комментарий.


