Mercedes W212 представляет собой четвертое поколение премиального E-класса от немецкого бренда Mercedes-Benz, производившееся в период с 2009 по 2016 год. Модель оснащалась разнообразными двигателями на бензине и дизеле, такими как E200, E220 CDI, E250, E300, E350, E500, E63 AMG 4MATIC и другими, а также предлагалась в кузовах седан W212, универсал S212 и купе C207. За годы выпуска Mercedes W212 прошел обновление (рестайлинг). В этой статье мы разберем расположение электронных блоков управления, детально опишем предохранители и реле Mercedes W212 с иллюстрациями схем и реальными фото. Особое внимание уделим предохранителю для прикуривателя, а также добавим советы по замене предохранителей в Mercedes E-класс W212.

Положение блоков и функции их компонентов могут варьироваться в зависимости от года производства и комплектации электрики вашего Mercedes W212.
Расположение
Блоки управления
Общая диаграмма размещения электронных блоков в Mercedes W212

Описание
| 1 | Электронный блок управления ABS |
| 2 | Электронный блок управления кондиционером – в панели управления отопителем |
| 3 | Блок управления электродвигателем вентилятора кондиционера /отопителя — рядом с электродвигателем вентилятора отопителя |
| 4 | Усилитель сигнала антенны 1 — в стойке «С» |
| 5 | Усилитель сигнала антенны 2 — в стойке «С» |
| 6 | Сирена противоугонной системы — за накладкой колесной арки переднего правого колеса |
| 7 | Дополнительная аккумуляторная батарея — под полые багажные отделения |
| 8 | Дополнительная аккумуляторная батарея — с переключением передач на рулевой колонке |
| 9 | Реле дополнительного аккумулятора — под полые багажные отделения |
| 10 | Аккумуляторная батарея (кроме двигателя 273) |
| 11 | Аккумуляторная батарея (двигатель 273) — багажное отделение |
| 12 | Реле контроля силы тока аккумуляторной батареи (объединен с блоком предохранителей /реле 2 в моторном отсеке) |
| 13 | Блок управления приводом открывания /закрывания крышки багажника – под задней полкой |
| 14 | Диагностический разъем (DLC) |
| 15 | Блок управления электрооборудованием левой передней двери |
| 16 | Блок управления электрооборудованием левой задней двери |
| 17 | Блок управления электрооборудованием правой передней двери |
| 18 | Блок управления электрооборудованием правой задней двери |
| 19 | Электронный блок управления двигателем (Дизель) — двигатель 651 |
| 20 | Электронный блок управления двигателем (Дизель) — кроме двигателя 651 |
| 21 | Электронный блок управления двигателем (бензин) — двигатель 271 |
| 22 | Электронный блок управления двигателем (бензин) — кроме двигателя 271 |
| 23 | Блок управления топливным насосом- под задним сиденьем |
| 24 | Блок предохранителей /реле, моторный отсек 1 |
| 25 | Блок предохранителей /реле, моторный отсек 2 (плавкие вставки в блоке предохранителей в моторном отсеке) — цепи питания: Система ABS/ESP, кондиционер, пневмоподвеска, генератор, реле дополнительного аккумулятора, электроусилитель рулевого управления, электродвигатель вентилятора системы охлаждения, нагревательный элемент подогревателя воздуха на впуске (Дизель), многофункциональный блок управления 1/2, стартер, система SRS |
| 26 | Блок предохранителей /реле, приборная панель |
| 27 | Блок предохранителей /реле, багажное отделение 1 – за правой задней отделочной панелью |
| 28 | Блок предохранителей /реле, багажное отделение 2 — под полом — двигатель 273 |
| 29 | Блок управления свечами накаливания |
| 30 | Блок управления фарами, лев. (ксеноновые фары) |
| 31 | Блок управления фарами, прав. (ксеноновые фары) |
| 32 | Звуковой сигнал 1 — за передним бампером |
| 33 | Звуковой сигнал 2 — за передним бампером |
| 34 | Блок управления замком зажигания |
| 35 | Блок управления системы дистанционного управления центральным замком и запуска двигателя- за правой задней отделочнотанелью |
| 36 | Блок управления освещением |
| 37 | Многофункциональный блок управления 1 — прикреплен к блоку предохранителей /реле в моторном отсеке 1 — функции: Компрессор кондиционера, контроль давления в системе кондиционирования , уровень тормозной жидкости, уровень охлаждающей жидкости , фары, аварийная сигнализация, подогреватели форсунок омывателя лобового стекла, омыватели фар, указатели поворота, лампы освещения салона , температура окружающего воздуха, омыватель лобового стекла, очистители лобового стекла |
| 38 | Многофункциональный блок управления 2- прикреплен к блоку предохранителей /реле в багажном отделении 1 -функции: Противоугонная система, центральный замок — крышка багажника, электропривод сидений, лючок /крышка топливозаливной горловины, обогреватель заднего стекла, подогреватель сидений, задние фонари, подголовники заднего сидения, шторка заднего стекла |
| 39 | Блок управления многофункциональным переключателем 1 — функции: Дополнительный отопитель, система вентиляции переднего сиденья, подогреватель передних сидений, система парковки, подголовники заднего сидения, шторка заднего стекла, система стоп-старт |
| 40 | Блок управления многофункциональным переключателем 2 — функции: Кондиционер, противоугонная система, лампы освещения салона, лампы местной подсветки, люк |
| 41 | Датчик температуры окружающего воздуха |
| 42 | Блок управления системой парковки — под ковриком |
| 43 | Блок управления регулировкой сидений (лев.) — на сиденье |
| 44 | Блок управления регулировкой сидений (прав.) — на сиденье |
| 45 | Блок управления подогревом сиденья – за правой задней отделочной панелью |
| 46 | Блок управления электрооборудованием рулевой колонки — под рулевым колесом |
| 47 | Блок управления блокировкой рулевой колонки (некоторые модели) |
| 48 | Блок управления электроприводом люка |
| 49 | Электронный блок управления SRS |
| 50 | Блок управления подвеской – под ковриком |
| 51 | Блок управления электрооборудованием прицепа – за правой задней отделочной панелью |
| 52 | Электронный блок управления КПП(722.6) – под ковриком |
| 53 | Электронный блок управления КПП (722.9) — в КПП |
| 54 | Блок управления переключением передач — селектор |
| 55 | Блок управления системы контроля давления в шинах — над задней осью |
| 56 | Блок управления поддержанием дистанции (круиз-контроль) – под ковриком |
Блоки предохранителей и реле
Схема

Назначение
- F32 — Передний блок входных силовых предохранителей
- N10/1 — Блок управления SAM с передним модулем реле и предохранителей
- N10/2 — Блок управления SAM с задним модулем реле и предохранителей
- F33 — Задний блок силовых предохранителей
- F34 — Блок предохранителей в салоне
Блок в салоне
В интерьере Mercedes W212 главный блок предохранителей размещен на конце приборной панели, под защитной панелью. Это удобное место для самостоятельной замены предохранителей в салоне Mercedes W212.

Схема

Обозначение
| 116 | 30A Блок управления сиденья водителя (до 31.05.09) |
| 117 | 15A Блок управления адаптивной системы амортизации (до 31.05.09) |
| 118 | Резерв |
| 119 | 7,,5A Электродвигатель вентилятора задней части салона (до 31.05.09) |
| Блок управления AMG Performance Media (до 1.6.12) | |
| 120 | Резерв |
| 121 | Резерв |
| 122 | Резерв |
| 123 | 10A Блок управления электронным модулем рулевой колонки |
| 124 | Резерв |
| 125 | Резерв |
| 126 | 30A Блок управления сиденья переднего пассажира (до 31.05.09) |
| 127 | Резерв |
| 128 | Резерв |
| 129 | 20A Реле электромотора вентилятора масляного радиатора (двигатель 156; до 31.05.09) |
| 130 | Резерв |
| 131 | Резерв |
| 132 | Резерв |
| 133 | Резерв |
| 134 | Резерв |
| 135 | Резерв |
Блоки под капотом
Блок предохранителей и реле
Главный блок предохранителей и реле в моторном отсеке Mercedes W212 находится слева от двигателя, идеален для диагностики электрики под капотом.

Схема

Расшифровка
| 1 | 25A Блок управления электронной системой стабилизации движения ESP (автомобили с левым рулем) |
| Блок управления электронной системой стабилизации движения ESP Premium (автомобили с левым рулем) | |
| Блок управления рекуперативной тормозной системой (автомобили с левым рулем) | |
| Регулятор вентилятора (автомобили с правым рулем) | |
| 2 | 30A Блок управления передней левой дверью (до 31.05.2010) |
| Блок управления задней левой дверью (с 01.06.2010; автомобили с правым рулем) | |
| 3 | 30A Блок управления передней правой дверью (до 31.05.2010) |
| Блок управления задней правой дверью (с 01.06.2010; автомобили с левым рулем) | |
| 4 | 20A Блок управления топливным насосом (двигатель 157) |
| 7,5A Блок управления датчиком конденсата в топливном фильтре с нагревательным элементом (двигатель 651) | |
| 20A Датчик конденсата в топливном фильтре с нагревательным элементом (двигатели 642, 651; до 31.05.2010) | |
| 5 | 7,5A Комбинация приборов |
| Переключатель проборов наружного освещения | |
| Блок управления SAM с модулем предохранителей и реле в задней части салона | |
| Блок управления электронной системой стабилизации движения ESP (с 01.03.2013) | |
| Блок управления электронной системой стабилизации движения ESP Premium (с 01.03.2013) | |
| 6 | 10A На а/м с дизельным двигателем: |
| Блок управления CDI | |
| Для а/м с бензиновым двигателем: | |
| Блок управления ME | |
| Двигатели 271.958, 274.920 | |
| Блок управления CNG | |
| 7 | 20A Подключено через реле клеммы 50 стартера: Стартер |
| 8 | 7,5A Блок управления системы удержания пассажиров (Supplemental Restraint System) |
| 9 | 15A Розетка в перчаточном ящике |
| 10 | 30A Электродвигатель стеклоочистителя |
| 30A Подогрев щеток стеклоочистителя | |
| 11 | 7,5A Дисплей аудиосистемы /COMAND |
| Панель управления аудиосистемы /COMAND | |
| Навигационный модуль | |
| Держатель для навигационного модуля | |
| Электродвигатель вентилятора COMAND | |
| 12 | 7,5A Блок-панель управления системой климат-контроля |
| Блок управления верхней блок-панелью управления | |
| Действительно для а/м с КП 722, 724, 725: | |
| Клавиша режима движения АКП | |
| Действительно с кодом 489 (AIRMATIC): | |
| Блок кнопок ходовой части | |
| 13 | 7,5A Блок управления электронным модулем рулевой колонки |
| Многофункциональная камера | |
| Мультифункциональная стереокамера (с 01.03.2013) | |
| 14 | 7,5A Блок управления электронной системой стабилизации движения ESP |
| Блок управления электронной системой стабилизации движения ESP Premium | |
| 15 | 7,5A Блок управления системы удержания пассажиров (Supplemental Restraint System) |
| 16 | 5A Электрический компрессор кондиционера |
| Интерфейс DIRECT SELECT (коробки передач 722.930/931) | |
| Блок управления электронным модулем рычага селектора (коробки передач 722, кроме 722.930/931) | |
| 17 | 30A Блок управления потолочной блок-панелью управления |
| Модуль управления панорамной крышей со сдвижным люком | |
| 18 | 7,5A Переключатель проборов наружного освещения |
| Блок выключателей панели приборов (до 28.02.2013) | |
| Блок управления верхней блок-панелью управления (до 28.02.2013) | |
| Реле дополнительного насоса трансмиссионного масла (коробки передач 722) | |
| Блок управления силовым электронным оборудованием | |
| 19 | 20A Блок управления электронным замком зажигания |
| Блок управления электрической блокировкой рулевого управления | |
| 20 | 40A Блок управления электронной системой стабилизации движения ESP (автомобили с левым рулем) |
| Блок управления электронной системой стабилизации движения ESP Premium (автомобили с левым рулем) | |
| Блок управления рекуперативной тормозной системой (автомобили с левым рулем) | |
| 21 | 7,5A Датчик сигнала торможения (28.02.2013) |
| Гибридный выключатель стоп-сигналов (28.02.2013) | |
| Плафон освещения перчаточного ящика | |
| Система распознавания занятости и AKSE сиденья переднего пассажира | |
| Блок управления Weight Sensing System | |
| 22 | 15A Электродвигатель вентилятора двигателя внутреннего сгорания кондиционер со встроенным регулированием (650 Вт, 800Вт) |
| Двигатель 156: | |
| Электрическое штекерное соединение жгута электропроводки салона и двигателя | |
| Концевая кабельная муфта клеммы 87 M2e | |
| Двигатели 271, 272.98, 274.9, 276 и двигателем 651 (кроме системы 4MATIC): | |
| Исполнительный механизм жалюзи радиатора | |
| Двигатели 157, 271, 272, 273, 274, 276, 278: | |
| Электрическое штекерное соединение жгута электропроводки салона и двигателя | |
| Двигатели 642, 651: | |
| Блок управления CDI | |
| Электрическое штекерное соединение жгута электропроводки салона и двигателя | |
| 23 | 20A На а/м с дизельным двигателем: |
| Блок управления SAM с модулем предохранителей и реле в задней части салона | |
| Двигатели 271, 642, 651: | |
| Концевая кабельная муфта клеммы 87 M1e | |
| Двигатели 156, 157, 271, 272, 273, 274, 276, 278, 642, 651: | |
| Электрическое штекерное соединение жгута электропроводки салона и двигателя | |
| Двигатель 271: | |
| Блок управления ME | |
| 24 | 15A Двигатели 156, 157, 271, 272, 273, 274, 276, 278, 642, 651: |
| Электрическое штекерное соединение жгута электропроводки салона и двигателя | |
| На а/м с дизельным двигателем: | |
| Блок управления CDI | |
| Для а/м с бензиновым двигателем: | |
| Блок управления ME | |
| Двигатели 271.958, 274.920 | |
| Блок управления CNG | |
| 25 | 15A Двигатели 642, 651: |
| Блок управления оксидами азота после сажевого фильтра | |
| Блок управления оксидами азота после каталитического нейтрализатора SCR | |
| Блок управления датчика сажи | |
| Для а/м с бензиновым двигателем: | |
| Блок управления ME | |
| Действительно для а/м типа 212.095/098/298: | |
| Реле циркуляционного насоса системы охлаждения масла КП | |
| Реле циркуляционных насосов охлаждающей жидкости силового электронного оборудования HYBRID | |
| Двигатель 156: | |
| Концевая кабельная муфта клеммы 87 M3e | |
| 26 | 20A Аудиомодуль |
| Аудиомодуль с системой Auto-Pilot | |
| Модуль управления COMAND | |
| 27 | 7,5A Блок управления электронным замком зажигания |
| На а/м с дизельным двигателем: | |
| Блок управления CDI | |
| Для а/м с бензиновым двигателем: | |
| Блок управления ME | |
| Двигатели 271.958, 274.920 | |
| Блок управления CNG | |
| 28 | 7,5A Комбинация приборов |
| 29 | 10A Передняя правая блок-фара (до 28.02.2013) |
| 30 | 10A Передняя левая блок-фара (до 28.02.2013) |
| 31A | 15A Левый звуковой сигнал |
| Правый звуковой сигнал | |
| 31B | 15A Левый звуковой сигнал |
| Правый звуковой сигнал | |
| 32 | Электрический воздушный насос |
| 33 | 10A Блок управления электронной системой управления АКП (коробка передач 722.6) |
| 10A Блок управления полностью интегрированной системой управления АКП (коробки передач 722.9, 724, 725) | |
| 34 | 7,5A Двигатель 156: |
| Блок управления топливным насосом | |
| Двигатели 271, 272, 273, 642, 651: | |
| Блок управления топливным насосом | |
| 35 | 7,5A Реле электропитания блоков управления HYBRID |
| 36 | 7,5A Блок управления системой ночного видения |
| Электрический модуль управления DISTRONIC (до 28.02.2013) | |
| Радарный датчик дальней зоны спереди (с 01.03.2013) | |
| Модуль управления COLLISION PREVENTION ASSIST (с 01.03.2013) | |
| Реле | |
| J | Реле клеммы 15 |
| K | Реле клеммы 15R |
| L | Реле подогрева щеток стеклоочистителя |
| M | Реле клеммы 50, стартер |
| N | Реле клеммы 87, двигатель |
| O | Реле звукового сигнала |
| P | Реле продувки катализатора (двигатели 272) |
| Q | Реле дополнительного насоса трансмиссионного масла |
| R | Реле клеммы 87, ходовая часть |
Блок силовых предохранителей
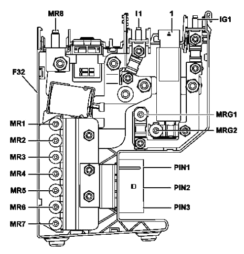
Этот блок высокомощных предохранителей монтируется справа, у стойки, для защиты ключевых электрических цепей в Mercedes W212.

Вариант 1
Схема блока силовых предохранителей (без функции ECO Start-Stop)

Назначение
| MR8 | Пиропредохранитель, срабатывание от блока управления Supplemental Restraint System |
| MR1 | 50A Блок управления электроусилителя рулевого управления |
| MR2 | Резерв |
| MR3 | Резерв |
| MR4 | 100A Электродвигатель вентилятора двигателя внутреннего сгорания и кондиционер со встроенным регулированием (650 Вт, 800 Вт) |
| MR5 | 150A На а/м с дизельным двигателем: |
| Дополнительный электроподогреватель | |
| MR6 | 60A Передний блок управления SAM с модулем предохранителей и реле |
| MR7 | 150A Передний блок управления SAM с модулем предохранителей и реле |
| PIN1 | 50A Регулятор вентилятора (автомобили с левым рулем) |
| Сигналы с блока управления электронной системой стабилизации движения ESP (автомобили с правым рулем) | |
| Блок управления электронной системой стабилизации движения ESP Premium (автомобили с правым рулем) | |
| PIN2 | 50A Сигналы с блока управления электронной системой стабилизации движения ESP (автомобили с правым рулем) |
| Блок управления электронной системой стабилизации движения ESP Premium (автомобили с правым рулем) | |
| PIN3 | 60A Реле AIRMATIC |
| Блок управления полностью интегрированной системой управления коробкой передач (коробка передач 725) | |
| MRG1 | Резерв |
| MRG2 | 100A Передний блок управления SAM с модулем предохранителей и реле |
| IG1 | 150A Блок управления SAM с модулем предохранителей и реле в задней части салона |
| I1 | 100A Блок управления SAM с модулем предохранителей и реле в задней части салона |
Вариант 2
Схема блока силовых предохранителей (c функции ECO Start-Stop)

Описание
| R8 | 350A Генератор |
| Блок управления автономным отопителем | |
| MR4 | 100A Электродвигатель вентилятора двигателя внутреннего сгорания кондиционер со встроенным регулированием (650 Вт, 800 Вт) |
| MR5 | 150A На а/м с дизельным двигателем: |
| Дополнительный электроподогреватель | |
| MR6 | 60A Передний блок управления SAM с модулем предохранителей и реле |
| MR7 | 150A Передний блок управления SAM с модулем предохранителей и реле |
| MR9 | Резерв |
| MG2 | 100A Передний блок управления SAM с модулем предохранителей и реле |
| MR3 | 80A Блок управления электроусилителя рулевого управления |
| IG1 | 150A Блок управления SAM с модулем предохранителей и реле в задней части салона |
| IM1 | 100A Блок управления SAM с модулем предохранителей и реле в задней части салона |
| PIN1 | 50A Регулятор вентилятора (автомобили с левым рулем) |
| Сигналы с блока управления электронной системой стабилизации движения ESP (автомобили с правым рулем) | |
| Блок управления электронной системой стабилизации движения ESP Premium (автомобили с правым рулем) | |
| PIN2 | 50A Сигналы с блока управления электронной системой стабилизации движения ESP (автомобили с правым рулем) |
| Блок управления электронной системой стабилизации движения ESP Premium (автомобили с правым рулем) | |
| PIN3 | 60A Реле AIRMATIC |
| Блок управления полностью интегрированной системой управления коробкой передач (коробка передач 725) |
Вариант 3
Схема блока силовых предохранителей (Hybrid)

Обозначение
| MR8 | Пиропредохранитель, срабатывание от блока управления Supplemental Restraint System |
| MR4 | 100A Электродвигатель вентилятора двигателя внутреннего сгорания кондиционер со встроенным регулированием (650 Вт, 800 Вт) |
| MR5 | 150A На а/м с дизельным двигателем: |
| Дополнительный электроподогреватель | |
| MR6 | 60A Передний блок управления SAM с модулем предохранителей и реле |
| MR7 | 150A Передний блок управления SAM с модулем предохранителей и реле |
| MR9 | 150A Модуль предохранителей и реле HYBRID |
| MG2 | 100A Передний блок управления SAM с модулем предохранителей и реле |
| MR3 | 80A Блок управления электроусилителя рулевого управления |
| IG1 | 150A Блок управления SAM с модулем предохранителей и реле в задней части салона |
| IM1 | 100A Блок управления SAM с модулем предохранителей и реле в задней части салона |
| PIN1 | 50A Регулятор вентилятора (автомобили с левым рулем) |
| Блок управления рекуперативной тормозной системы (автомобили с правым рулем) | |
| PIN2 | 50A Блок управления рекуперативной тормозной системы (автомобили с правым рулем) |
| PIN3 | 60A Реле AIRMATIC |
Блоки в багажнике
Блок предохранителей и реле
Блок предохранителей и реле в багажном отделении Mercedes W212 установлен справа за боковой обшивкой, удобен для доступа к электрике задней части.

Схема

Назначение
| 37 | 7,5A Катушка электромагнита, подголовник NECK-PRO сиденья водителя |
| Катушка электромагнита, подголовник NECK-PRO сиденья переднего пассажира | |
| 38 | 15A Электродвигатель стеклоочистителя двери багажника |
| 39 | 30A Блок управления задней левой двери (до 31.05.2010 года) |
| Блок управления передней левой двери (с 01.06.2010 года; RHD) | |
| 40 | Резерв |
| 41 | 30A Блок управления задней правой двери (до 31.05.2010 года) |
| Блок управления передней правой двери (с 01.06.2010 года; LHD) | |
| 42 | 25A Реле топливного электронасоса |
| 25A Двигатели 156, 276, 278: | |
| Блок управления топливного насоса | |
| Двигатели 271, 272, 273, 274, 642, 651: | |
| Блок управления топливного насоса | |
| 43 | 7,5A Коммуникационный модуль телекоммуникационных служб |
| 44 | 30A Переключатель частично электрической регулировки положения сиденья переднего пассажира |
| 45 | 30A Переключатель частично электрической регулировки положения сиденья водителя |
| 46 | 7,5A Антенный усилитель FM 1, AM, ZV и KEYLESS-GO |
| Действительно для типа 212.0/1: | |
| Антенный усилитель 1 заднего стекла | |
| Действительно для типа 212.2: | |
| Антенна диапазона DAB III | |
| Сирена сигнализации (H3/1) | |
| Блок управления системы охраны салона и защиты от буксировки | |
| Действительно с 01.06.2011 для двигателя 157, 276, 278: | |
| Реле циркуляционного насоса охлаждающей жидкости | |
| 47 | Резерв |
| 48 | Резерв |
| 49 | 40A Через реле обогрева заднего стекла включаются: Обогрев заднего стекла |
| 50 | 50A Реверсивный натяжитель переднего правого ремня безопасности |
| 51 | 50A Передний левый реверсивный натяжитель ремня безопасности |
| 52 | Резерв |
| 53 | 30A Блок управления распознавания наличия прицепа |
| 54 | 15A Блок управления распознавания наличия прицепа |
| 55 | Резерв |
| 56 | 15A Розетка прицепа |
| 57 | 20A Блок управления распознавания наличия прицепа |
| 7,5A Действительно для типа 212.074/075/076/077/092/274/275/276/277/292: | |
| Трансформатор накладок порога с подсветкой спереди слева | |
| Трансформатор накладок порога с подсветкой спереди справа | |
| 58 | 25A Блок управления распознавания наличия прицепа |
| 59 | 7,5A Датчик DiStRONIC (DTR) передний бампер слева |
| Датчик DISTRONIC (dTr) передний бампер справа | |
| 60 | 7,5A Пневмонасос мультиконтурного сиденья |
| 30A Пневмонасос мультиконтурного сиденья с динамической поддержкой | |
| 61 | 40A Блок управления системы управления приводом крышки багажника |
| Блок управления системы управления приводом откидной двери багажного отделения | |
| 62 | 25A Блок управления сиденья водителя |
| 63 | 25A Блок управления подогрева сидений в задней части салона |
| 64 | 25A Блок управления сиденья переднего пассажира |
| 65 | 7,5A Блок управления подогрева рулевого колеса (до 28.02.2013) |
| 10A Блок управления электронным модулем рулевой колонки (с 01.03.2013) | |
| 66 | 7,5A Электродвигатель вентилятора задней части салона |
| 67 | 40A Блок управления усилителя акустической системы |
| 68 | 15A Блок управления AIRMATIC |
| 15A Блок управления электронной системы регулирования уровня кузова а/м на заднем мосту | |
| 69 | 25A Усилитель заднего низкочастотного динамика |
| 70 | 5A Блок управления системы контроля давления в шинах |
| 71 | 15A Розетка спереди салона |
| Прикуриватель с подсветкой пепельницы спереди | |
| 72 | 15A Розетка в багажнике |
| 73 | 5A Диагностический разъем |
| Приемник пульта дистанционного радиоуправления автономным отопителем | |
| Блок управления режимами движения (коробка передач 722.930/931) | |
| 74 | 15A Блок управления KEYLESS-GO |
| Действительно с 01.03.2013 с кодом 641 (Светодиодные фары динамические для левостороннего движения) или кодом 642 (Светодиодные фары динамические для правостороннего движения): | |
| Передняя правая блок-фара | |
| Действительно с кодом 631 (Светодиодные фары статические для левостороннего движения) или кодом 632 (Светодиодные фары статические для правостороннего движения): | |
| Передняя левая блок-фара (с 01.03.2013) | |
| Передняя правая блок-фара | |
| Блок управления преобразователя DC/AC (с 01.12.2011) | |
| 75 | 20A Нагревательное устройство автономного отопителя |
| 25A Реле электромотора вентилятора масляного радиатора (двигатели 156:) | |
| 20A Действительно с 01.03.2013 с кодом 641 (Светодиодные фары динамические для левостороннего движения) или кодом 642 (Светодиодные фары динамические для правостороннего движения): | |
| Передняя левая блок-фара | |
| Действительно с 01.03.2013 с кодом 631 (Светодиодные фары статические для левостороннего движения) или кодом 632 (Светодиодные фары статические для правостороннего движения): | |
| Передняя левая блок-фара | |
| Передняя правая блок-фара | |
| 76 | 15A Подстаканник сзади |
| Розетка центральной консоли в задней части салона | |
| Электрическое штекерное USB-соединение задней части а/м | |
| 77 | 7,5A Блок управления Weight Sensing System (до 28.02.2013) |
| Навигационный компьютер (Китай, Корея) | |
| Подстаканник сзади | |
| 78 | 7,5A Блок управления Media Interface |
| Модуль подключения мультимедийных устройств | |
| 79 | 5A Блок управления радарных датчиков (до 31.05.2010) |
| Блок управления видеодатчиков и радарных датчиков (с 01.06.2010) | |
| Блок управления интерфейсом шин данных ходовой части (с 01.03.2013) | |
| 80 | 5A Блок управления системы помощи при парковке |
| 81 | 5A Антенный усилитель /компенсатор мобильной связи |
| Электрическое штекерное соединение мобильного телефона | |
| Навигационный компьютер (Китай, Корея) | |
| 82 | 10A Регулятор вентилятора системы вентиляции переднего левого сиденья |
| Регулятор вентилятора системы вентиляции переднего правого сиденья | |
| 83 | 7,5A Концевая кабельная муфта клеммы 15R |
| Навигационный компьютер (Китай, Корея) | |
| Блок управления системы экстренного вызова | |
| Блок управления «Electronic Toll Collection » (Япония) | |
| 84 | 5A Камера заднего вида (с 01.03.2013) |
| Блок управления камеры обзора на 360° (с 01.03.2013) | |
| Блок управления SDAR/тюнера высокого разрешения (Спутниковое радио SIRIUS) (до 31.05.2010) | |
| Блок управления Satellite Digital Audio Radio (SDAR) (Спутниковое радио SIRIUS) (с 01.06.2010) | |
| Блок управления цифрового звукового радиовещания (Цифровое радио (DAB) | |
| Блок управления камеры заднего вида (Япония) | |
| Модуль электропитания камеры заднего вида (Япония) | |
| 85 | 7,5A ТВ-тюнер (аналоговый /цифровой) (до 28.02.2015) |
| Цифровой ТВ-тюнер (до 28.02.2015) | |
| Модуль тюнера (с 01.03.2015) | |
| 86 | 7,5A DVD-проигрыватель |
| Дисплей в задней части салона слева | |
| Дисплей в задней части салона справа | |
| 87 | 7,5A Блок управления системы экстренного вызова |
| Реле циркуляционного насоса охлаждающей жидкости (с 01.06.2011; США) | |
| Коммуникационный модуль телекоммуникационных служб (с 01.03.2015) | |
| Многофункциональный блок управления спецавтомобиля (N26/14) | |
| 88 | 15A Модуль сервопривода АКП для системы DIRECT SELECT (коробкой передач 722.9) |
| 89 | 30A Блок управления распознавания наличия прицепа |
| Многофункциональный блок управления спецавтомобиля (MSS) | |
| Блок управления топливного насоса (до 28.02.2013; двигатель 157) | |
| Действительно с 01.03.2013 с кодом 632 (Светодиодные фары статические для правостороннего движения) и кодом 494 (Исполнение для США): | |
| Передняя правая блок-фара | |
| Действительно с 01.03.2013 с кодом 642 (Светодиодные фары динамические SAE для правостороннего движения) и кодом 494 (Исполнение для США): | |
| Передняя левая блок-фара | |
| Передняя правая блок-фара | |
| 90 | 40A Блок предохранителей AdBlue® (двигатель 642.8) |
| Действительно для типа 212.076/276: | |
| Реле циркуляционного насоса охлаждающей жидкости | |
| 91 | 10A Передний блок управления SAM с модулем предохранителей и реле (коробка передач 722) |
| 92 | 15A Блок управления KEYLESS-GO |
| Модуль бесключевого открытия крышки багажника под задним бампером (с 01.03.2013) | |
| Блок управления преобразователя переменного/постоянного тока (до 30.11.2011) | |
| Реле | |
| A | Реле клеммы 15 |
| B | Реле клеммы 15R (1) |
| C | Реле обогрева заднего стекла |
| D | На а/м с дизельным двигателем: |
| Реле топливного насоса | |
| E | Реле стеклоочистителя двери багажника |
| F | Реле регулировки положения сиденья |
| G | Реле клеммы 15R (2) |
Предохранители номерами 71, 72 и 76 отвечают за функционирование прикуривателей в Mercedes W212.
Блок силовых предохранителей
Дополнительный высокомощный блок предохранителей подключен к положительному выводу аккумулятора в багажнике Mercedes W212 для надежной защиты системы.
Схема

Расшифровка
- F170 — Резерв
- F171 — 60А Передний блок управления SAM с модулем предохранителей и реле
- F172 — 100А Блок управления SAM с модулем предохранителей и реле в задней части салон
Возле блока AdBlue (если установлен) могут быть дополнительные защитные элементы, связанные с его эксплуатацией в Mercedes W212.
Обнаружили неточность или хотите предложить дополнения — оставляйте отзывы в комментариях.


