Mercedes-Benz W204 — третье поколение компактных автомобилей класса C от знаменитого немецкого бренда Mercedes-Benz, выпускавшееся в период с 2007 по 2014 год. Модель предлагалась с разнообразными силовыми агрегатами, включая варианты C180 CDI, C230, C280, C300 4MATIC, C350, C63 AMG и другие. За годы производства Mercedes W204 подвергся обновлению (рестайлингу). В этой статье мы разберем расположение электронных модулей управления, детально опишем предохранители и реле Mercedes W204 с иллюстрациями схем и фотографиями реальных примеров. Особое внимание уделим предохранителю, отвечающему за прикуриватель и розетки, — ключевой информации для владельцев, ищущих «замену предохранителя прикуривателя Mercedes W204».

Положение блоков предохранителей, реле и элементов управления может варьироваться в зависимости от года выпуска автомобиля и комплектации электрики вашей Mercedes W204.
Расположение блоков
Электронные блоки управления
Общая диаграмма размещения электронных блоков в Mercedes W204

Расшифровка позиций
| 1 | Контроллер ABS |
| 2 | Модуль управления климат-контролем — в панели климат-системы |
| 3 | Контроллер мотора вентилятора кондиционера/обогревателя — около мотора вентилятора |
| 4 | Усилитель сигнала антенны №1 — на стойке (универсал) |
| 5 | Усилитель сигнала антенны №1 — в потолочной консоли (седан) |
| 6 | Усилитель сигнала антенны №2 — в задней двери (универсал) |
| 7 | Усилитель сигнала антенны №2 — стойка C (седан) |
| 8 | Сигнал охранной системы — за колесной аркой |
| 9 | Вспомогательный аккумулятор — под полом багажника |
| 10 | Реле вспомогательного аккумулятора — под полом |
| 11 | Основной аккумулятор (дизель) — под полом |
| 12 | Основной аккумулятор (бензин) |
| 13 | Реле мониторинга тока аккумулятора (интегрировано с блоком предохранителей/реле №2 в моторном отсеке) |
| 14 | Диагностический порт (DLC) |
| 15 | Модуль электроники левой передней двери |
| 16 | Модуль электроники левой задней двери |
| 17 | Модуль электроники правой передней двери |
| 18 | Модуль электроники правой задней двери |
| 19 | Контроллер двигателя (дизель, мотор 651) |
| 20 | Контроллер двигателя (дизель, кроме 651) |
| 21 | Контроллер двигателя (бензин) |
| 22 | Модуль топливного насоса — мотор 271 — за правой обшивкой |
| 23 | Модуль топливного насоса — мотор 271 — под правым задним сиденьем |
| 24 | Блок предохранителей/реле, моторный отсек №1 |
| 25 | Блок предохранителей/реле, моторный отсек №2 (включая плавкие вставки): питает кондиционер, генератор, реле доп. АКБ, блок №1 моторного отсека, ECU двигателя, вентилятор охлаждения, блок приборной панели, резистор вентилятора обогрева, подогреватель впуска (дизель), замок зажигания, блок багажника №1, многофункциональные контроллеры 1/2, стартер, SRS |
| 26 | Блок предохранителей/реле, приборная панель |
| 27 | Блок предохранителей/реле, багажник №1 — за правой обшивкой |
| 28 | Блок предохранителей/реле, багажник №2 — под полом |
| 29 | Контроллер свечей накала |
| 30 | Модуль фар, левый (ксенон) |
| 31 | Модуль фар, правый (ксенон) |
| 32 | Клаксон №1 — за передним бампером |
| 33 | Клаксон №2 — за передним бампером |
| 34 | Контроллер замка зажигания |
| 35 | Модуль центрального замка и запуска — за правой обшивкой |
| 36 | Контроллер освещения |
| 37 | Многофункциональный контроллер №1 — на блоке предохранителей/реле №1 моторного отсека: компрессор А/С, давление хладагента, уровень тормозной/охлаждающей жидкости, фары, аварийка, омыватель фар, подогрев форсунок омывателя, клаксоны, поворотники, салонное освещение, датчик температуры воздуха, стеклоочистители |
| 38 | Многофункциональный контроллер №2 — на блоке предохранителей/реле №1 багажника: охранка, центральный замок, лючок топлива, обогрев заднего стекла, подогрев сидений, задние фонари, шторка, задняя дверь |
| 39 | Контроллер многофункционального переключателя №1: подогрев передних сидений, парктроник, шторка, стоп-старт, подвеска |
| 40 | Контроллер многофункционального переключателя №2: климат, охранка, салонное освещение, подсветка, люк |
| 41 | Датчик внешней температуры |
| 42 | Контроллер парктроника — под ковриком |
| 43 | Модуль памяти сиденья (левый) |
| 44 | Модуль памяти сиденья (правый) |
| 45 | Контроллер электроники рулевой колонки — под рулем |
| 46 | Контроллер блокировки руля |
| 47 | Контроллер люка |
| 49 | Контроллер подвески (активная) — под ковриком |
| 50 | Контроллер задней двери — стойка D (универсал) |
| 51 | Модуль электроники прицепа — за правой обшивкой |
| 52 | ECU АКПП (722.6) — под ковриком |
| 53 | ECU АКПП (722.9) — в коробке |
| 54 | Контроллер селектора передач |
| 55 | Контроллер TPMS — за левой обшивкой |
Расположение блоков предохранителей и реле
Диаграмма

Функции
- F32 — Передний силовой блок предохранителей Mercedes W204
- N10/1 — SAM-модуль с передними реле и предохранителями
- N10/2 — SAM-модуль с задними реле и предохранителями
- F33 — Задний силовой блок предохранителей
- F34 — Салонный блок предохранителей
Салонный блок предохранителей
В интерьере Mercedes W204 главный блок предохранителей размещен на конце приборной панели за защитной панелью — удобное место для самостоятельной проверки и замены.

Диаграмма

Расшифровка
| 116 | 30A Контроллер водительского сиденья (до 31.05.09) |
| 117 | 15A Модуль адаптивной подвески (до 31.05.09) |
| 118 | Резерв |
| 119 | 7,5A Мотор вентилятора заднего салона (до 31.05.09) |
| Контроллер AMG Performance Media (до 1.6.12) | |
| 120 | Резерв |
| 121 | Резерв |
| 122 | Резерв |
| 123 | 10A Контроллер рулевой электроники |
| 124 | Резерв |
| 125 | Резерв |
| 126 | 30A Контроллер пассажирского сиденья (до 31.05.09) |
| 127 | Резерв |
| 128 | Резерв |
| 129 | 20A Реле мотора вентилятора масляного радиатора (мотор 156; до 31.05.09) |
| 130 | Резерв |
| 131 | Резерв |
| 132 | Резерв |
| 133 | Резерв |
| 134 | Резерв |
| 135 | Резерв |
Блоки в моторном отсеке
Основной блок предохранителей и реле
Главный блок в моторном отсеке Mercedes W204 находится слева от капота — стандартное размещение для легкого доступа при диагностике электрики.

Диаграмма

Расшифровка предохранителей
| 1 | 25A ESP-контроллер |
| 2 | 30A Левая передняя дверь |
| 3 | 30A Правая передняя дверь (до 31.3.10) |
| 4 | 7,5A Топливный насос (бензин) |
| Левый насос (мотор 156) | |
| Правый насос (мотор 156) | |
| Датчик конденсата топлива с нагревом (642, 651) | |
| Контроллер конденсата (651 до 31.5.10, 646) | |
| 20A Фары (с 1.3.11) | |
| 5 | 7,5A Задний SAM-модуль |
| Реле охлаждения редуктора (156 с 1.7.11) | |
| Переключатель света (с 1.12.09) | |
| 6 | 10A CDI (дизель) |
| ME (бензин) | |
| 7 | 20A Стартер |
| 8 | 7,5A Система удержания |
| 9 | 15A Розетка бардачка |
| 10 | 30A Стеклоочиститель |
| 11 | 7,5A Аудио-дисплей/COMAND |
| Панель аудио/COMAND | |
| Нави-держатель | |
| 12 | 7,5A Климат-панель |
| Верхняя панель | |
| 13 | 7,5A Рулевая электроника |
| Мульти-камера (с 1.3.11) | |
| 14 | 7,5A ESP |
| 15 | 7,5A Удержание пассажиров |
| Пассивная безопасность | |
| 16 | 5A DLC (до 31.5.09) |
| Телефонный коннектор (до 2008) | |
| Селектор АКПП (722) | |
| 17 | 30A Панорамная крыша |
| Потолочная панель | |
| 18 | 7,5A Освещение (до 2008) |
| Верхняя панель (с 1.3.11) | |
| LIN-коннектор климата (до 28.2.11) | |
| Коннектор салон-задний фонарь | |
| 19 | 20A Блокировка руля |
| Электронный замок | |
| 20 | 40A ESP |
| 21 | 7,5A Тормозной сигнал |
| Бардачок-подсветка | |
| Система AKSE | |
| ETC-подготовка (Япония) | |
| 22 | 15A Вентилятор двигателя/А/С |
| Салон-двигатель коннектор | |
| Клемма 87 M2e (271 Корея, 272 США) | |
| ME (271 Корея) | |
| Регенерация (271 Корея, 272 США) | |
| CDI (642, 646) | |
| Нагрев картера (642) | |
| Клемма 87 (646) | |
| 23 | 20A Салон-двигатель коннектор |
| Задний SAM (дизель) | |
| CDI (дизель до 2008) | |
| Клемма 87 (дизель до 2008) | |
| Клемма 87 M1e (271 до 2008) | |
| Клемма 87 M1i (272 до 2008) | |
| 24 | 15A Салон-двигатель коннектор |
| Жалюзи радиатора (642) | |
| CDI (646) | |
| Клемма 87 M1i (272 до 2008) | |
| Клемма 87 (дизель до 2008) | |
| 25 | 15A ME (156, 271, 272, 274, 276) |
| Лямбда перед катализатором (651) | |
| Генератор звука выхлопа (651) | |
| 26 | 20A Аудио-модуль |
| Аудио с Auto-Pilot | |
| COMAND | |
| 27 | 7,5A Замок зажигания |
| Блокировка руля (до 2008) | |
| CDI (дизель) | |
| ME (бензин) | |
| 28 | 7,5A Приборная панель |
| 29 | 10A Правая фара |
| 30 | 10A Левая фара |
| Салон-двигатель (642) | |
| 31A | 15A Левый клаксон |
| Правый клаксон | |
| 31B | 15A Левый клаксон |
| Правый клаксон | |
| 32 | 40A Воздушный насос (156, 271, 272) |
| 33 | 10A АКПП 722.6 |
| АКПП 722.9 | |
| 34 | 7,5A Насос (274, 276; 271, 272, 651 с 1.6.09; 642 с 1.12.09) |
| 35 | 5A ESP (с 2009) |
| 36 | 7,5A DISTRONIC |
| Рулевой усилитель (с 2009) | |
| Реле | |
| J | Клемма 15 |
| K | Клемма 15R |
| L | Резерв |
| М | Стартер |
| N | Клемма 87 двигатель |
| O | Клаксон |
| P | Катализатор |
| Q | Вентилятор масляного охладителя |
| R | Клемма 87 ходовая |
Силовой блок предохранителей
Расположен справа у стойки — для мощных цепей Mercedes W204.

Вариант 1
Диаграмма

Описание
| 88 | Предохранитель: |
| Генератор | |
| Стартер | |
| 88 | 400A Генератор (до 2009) |
| 89 | 125A Передний SAM |
| 90 | 40A Задний SAM |
| 91 | 80A Вентилятор двигателя/А/С |
| 100 | 40A Регулятор вентилятора |
| Короб А/С (до 2009) | |
| 101 | 60A Передний SAM |
| Задняя левая дверь (UK) | |
| Задняя правая дверь (UK) | |
| 102 | Резерв |
| 103 | 150A Доп. подогрев (дизель) |
| Задняя левая дверь (UK) | |
| Задняя правая дверь (UK) | |
| 104 | 70A Салонный блок |
| 105 | 100A Передний SAM |
| 106 | 150A Задний SAM |
| 107 | Резерв |
| 108 | Резерв |
| 109 | Резерв |
| 110 | Резерв |
Вариант 2
Диаграмма для моделей без ECO Start-Stop

Диаграмма для моделей с ECO Start-Stop

Расшифровка
| 150 | 400A Пиропредохранитель 88 (без ECO) |
| 200A Генератор | |
| Стартер | |
| 151 | 100A Вентилятор двигателя/А/С |
| 152 | 150A Передний SAM |
| 153 | 60A Передний SAM (ECO) |
| 154 | 60A Передний SAM (без ECO) |
| 150A Доп. подогрев (ECO) | |
| 155 | Резерв |
| 156 | 150A Доп. подогрев (без ECO) |
| 100A Передний SAM (ECO) | |
| 157 | 100A Гидроусилитель руля |
| Электроусилитель | |
| 158 | 50A Регулятор вентилятора (без ECO) |
| 150A Задний SAM (ECO) | |
| 159 | 50A Многофункц. контроллер (без ECO) |
| 200A Реле доп. АКБ (ECO) | |
| 160 | 60A Салонный блок (без ECO) |
| 50A Регулятор (ECO) | |
| 161 | 100A Передний SAM (без ECO) |
| 50A Многофункц. (ECO) | |
| 162 | 60A Салонный блок (ECO) |
| 163 | 150A Задний SAM (без ECO) |
| 164 | 80A Задний SAM (без ECO) |
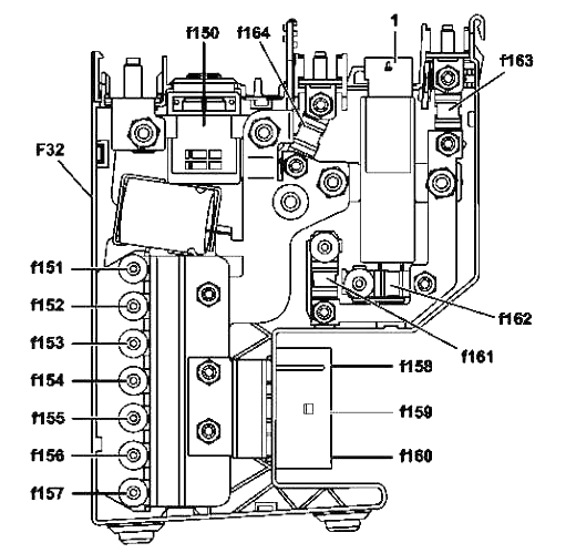
Блоки в багажном отделении
Блок предохранителей и реле
Этот блок установлен справа за боковой панелью — идеально для доступа к задней электрике Mercedes W204.

Диаграмма

Функции
| 37 | 7,5A NECK-PRO водитель |
| 5A NECK-PRO пассажир | |
| 38 | 15A Очиститель багажника |
| 39 | 30A Левая задняя дверь (до 31.3.10) |
| 40 | Резерв |
| 41 | 30A Правая задняя дверь (до 31.3.10) |
| Правая передняя дверь (с 1.4.10) | |
| 42 | 25A Насос (642 с 1.12.09, 651 с 1.6.09) |
| 20A Насос (646; 642/651 после дат) | |
| 20A До 2008: | |
| Насос бензин | |
| Насос дизель | |
| 43 | 5A Задний вентилятор (с 1.6.09) |
| 44 | 30A Регулировка правого сиденья |
| Частичная регулировка пассажира | |
| 45 | 30A Регулировка левого сиденья |
| Частичная регулировка водителя | |
| 46 | 7,5A FM-антенна заднего стекла |
| FM 2 и DAB | |
| Сирена | |
| Защита салона/буксировка | |
| Антенна 1 заднего стекла | |
| TV 1 и DAB III | |
| TV 2 и KEYLESS-GO | |
| KEYLESS-GO | |
| 47 | Резерв |
| 48 | Резерв |
| 49 | 40A Обогрев заднего стекла |
| 50 | 50A Натяжитель правого ремня |
| 51 | 50A Натяжитель левого ремня |
| 52 | Резерв |
| 53 | 15/30A Прицеп |
| 54 | 7,5A Прицеп (до 31.5.09) |
| 15A Прицеп | |
| 5A Подпора/валики водитель (с 2009) | |
| Подпора/валики пассажир (с 2009) | |
| AMG клапаны пассажир (с 2009) | |
| AMG клапаны водитель (с 2009) | |
| 55 | 5A AdBlue (с 2009) |
| 56 | 15A Прицеп |
| Розетка прицепа (с 2009) | |
| 5A Подпора/валики водитель (с 2009) | |
| Подпора/валики пассажир (с 2009) | |
| AMG клапаны пассажир (с 2009) | |
| AMG клапаны водитель (с 2009) | |
| 57 | 20A Прицеп |
| 58 | 20/30A Прицеп |
| 59 | 5A Парковка (с 2009) |
| DTR левый бампер (с 2009) | |
| DTR правый бампер (с 2009) | |
| Радар задний левый (с 2009) | |
| Радар задний правый (с 2009) | |
| 7,5A PARKTRONIC (до 2009) | |
| Радарные датчики (до 2009) | |
| 60 | 7,5A Пневмонасос сиденья (с 2009) |
| 61 | 40A Привод багажника |
| 62 | 30A Водительское сиденье (с 1.6.09) |
| 63 | 30A Пассажирское сиденье (с 1.6.09) |
| 64 | 25A Конвертер (с 2009) |
| 65 | 15A Адаптивная подвеска (с 1.6.09) |
| Рулевая колонка (с 2009) | |
| 66 | 7,5A Насос масла КП (с 1.6.12) |
| 67 | 30/40A Аудиоусилитель |
| 68 | Резерв |
| 69 | 20A Задний сабвуфер (с 2009) |
| 70 | 5A TPMS |
| 71 | 15A Прикуриватель и подсветка пепельницы |
| Передняя розетка | |
| 72 | 15A Розетка багажника |
| Розетка 115V | |
| 73 | 7,5A DLC (с 1.6.09) |
| Режимы движения (156 с 1.7.11) | |
| Радио-приемник отопителя (с 2009) | |
| 74 | 15A KEYLESS-GO |
| 75 | 20A Автономный нагрев (с 2009) |
| 76 | 15A Салонная розетка |
| 77 | 7,5A WSS |
| 78 | 7,5A Вентиляция левого сиденья (с 1.3.11) |
| Вентиляция правого сиденья (с 1.3.11) | |
| 79 | 7,5A Радарные датчики (до 2009) |
| 80 | 5A Видео/радар (с 2009) |
| Парковка (с 1.6.12) | |
| 81 | 5/7,5A Мультимедиа |
| 82 | 5A UMTS (с 2009) |
| TB-тюнер (до 31.5.09; Япония) | |
| 83 | 7,5A ETC (до 28.2.11; Япония) |
| Аварийный вызов | |
| Задний дисплей левый (с 2009) | |
| Задний дисплей правый (с 2009) | |
| Камера заднего вида (с 1.6.12; Япония) | |
| 84 | 7,5A SDAR |
| SDAR/HD-тюнер (1.6.09-31.5.10) | |
| Цифровое радио | |
| Питание камеры (до 31.5.12) | |
| Контроллер камеры (до 31.5.12) | |
| Электроника камеры (с 1.6.12) | |
| Камера (с 1.6.12) | |
| 360° обзор | |
| 85 | 7,5A TB-тюнер (до 31.5.09; Япония) |
| Цифровой TB (с 1.6.09; Япония) | |
| 86 | 7,5A DVD (с 2009) |
| 87 | 7,5A Аварийный вызов |
| 88 | 15A DIRECT SELECT (722; с 1.6.09) |
| 89 | 20A Прицеп (с 1.6.09) |
| Реле вентилятора масляного (156; с 1.6.09) | |
| Реле охлаждения редуктора (с 1.6.09) | |
| 90 | 40A AdBlue (с 1.6.09) |
| Реле AdBlue (с 1.6.09) | |
| 91 | Резерв (с 1.6.09) |
| 92 | Резерв (с 1.6.09) |
| Реле | |
| A | Клемма 15 |
| B | Клемма 15R |
| C | Обогрев стекла |
| D | Насос дизель |
| E | Очиститель багажника |
| F | Регулировка сиденья |
| G | Клемма 15R |
Предохранители №71, №72 и №76 отвечают за прикуриватель, розетки и подсветку — важные элементы для ежедневного использования в Mercedes W204.
Силовой блок в багажнике
Дополнительный высокомощный блок силовых предохранителей соединяется с плюсовой клеммой аккумулятора в багажнике.
Диаграмма

Расшифровка
| 111 | 60A Передний SAM |
| 112 | 80A Многофункц. спец. (спецтехника) |
| 113 | 40A Левый насос (156) |
| Правый насос (156) | |
| 114 | Резерв |
| 115 | 100A Многофункц. спец. (спецтехника) |
Если вы заметили неточность или хотите дополнить материал о предохранителях Mercedes W204 — делитесь в комментариях.


