Mercedes-Benz GLK X204 — это линейка премиальных компактных SUV, производившаяся с 2008 по 2015 год в версиях GLK 200, GLK 220 CDI, GLK 250, GLK 280, GLK 320, GLK 350 4MATIC и других модификациях. В этой статье мы разберём схемы предохранителей и реле для Mercedes X204, включая точные места расположения блоков, описание функций и схемы. Особое внимание уделим предохранителю прикуривателя, замене предохранителей Mercedes GLK и диагностике электрических систем.

Функции предохранителей и реле могут варьироваться в зависимости от года производства, комплектации и электрического оборудования автомобиля.
Блоки под капотом
Блок предохранителей и реле
Главный блок предохранителей и реле в Mercedes X204 размещён под капотом слева, защищён пластиковой крышкой для удобства доступа и безопасности.

Чтобы открыть блок, отсоедините фиксаторы (1) и снимите электрические разъёмы (2). Внешний вид блока предохранителей Mercedes GLK выглядит следующим образом.

Схема предохранителей под капотом Mercedes X204

Описание предохранителей и реле
| F1 | 25A Блок управления электронной системой стабилизации движения ESP (N30/4) |
| F2 | 30A Блок управления передней левой двери (N69/1) |
| F3 | 30A Действительно до 31.3.10 г.: |
| Блок управления передней двери справа (N69/2) | |
| F4 | 7,5A Действительно для а/м с двигателями 271, 272 до 31.8.08 г.: |
| Блок управления топливного насоса (N118) | |
| Действительно для а/м с двигателем 156: | |
| Блок управления топливного насоса слева (N118/3) | |
| Блок управления правого топливного насоса (N118/4) | |
| Действительно для а/м с двигателем 642 с кодом (U41) Топливный фильтр с влагоотделителем и сервисный пакет для системы смазки, двигатель 651: | |
| Датчик конденсата в топливном фильтре с нагревательным элементом (B76/1) | |
| 20A Блок управления фар (N71/1) | |
| 7,5A Действительно для а/м с двигателем 651, до 31.5.10 г. или двигателем 646 с кодом (71o) Дополнительная установка топливного фильтра с подогревом: | |
| Блок управления датчиком конденсата в топливном фильтре с нагревательным элементом (N33/7) | |
| F5 | 7,5A Блок управления SAM с модулем предохранителей и реле в задней части салона (N10/2) |
| Действительно для а/м с двигателем 156 с кодом (P98) Black Series, начиная с 1.7.11: | |
| Реле циркуляционного контура охлаждающей жидкости редуктора заднего моста (K36/3) | |
| Действительно, начиная с 1.12.09 г.: | |
| Переключатель наружного освещения (S1) | |
| F6 | 10A На а/м с дизельным двигателем: |
| Блок управления CDI (N3/9) | |
| На а/м с бензиновым двигателем: | |
| Блок управления ME (N3/10) | |
| F7 | 20A Подключено через реле клеммы 50 стартера (N10/1kM): |
| Стартер (M1) | |
| F8 | 7,5A Блок управления системой удержания пассажиров (N2/10) |
| F9 | 15A Розетка в перчаточном ящике (X58/31) |
| F10 | 30A Действительно для типа 204.9: |
| Электродвигатель стеклоочистителя (M6/1) | |
| F11 | 7,5A Действительно для а/м с кодом (523) Аудиомодуль MB Audio 20, или кодом (510), Audio 20 вкл. CD-чейнджер, или кодом (525) Аудиомодуль Mb Audio 50 APS, или кодом (511) Audio 50 aPs вкл. DVD-чейнджер, или кодом (527) COMAND APS с однодисковым DVD-дисководом (с функцией навигации), или кодом (512) COMAND APS вкл. DVD-чейнджер или, начиная с 1.6.09 г. для кода (528) COMAND вкл. DVD-чейнджер: |
| Дисплей аудиосистемы/COMAND (A40/8) | |
| Панель управления аудиосистемы/COMAND (A40/9) | |
| Действительно для а/м с кодом (509), навигационный модуль: | |
| Держатель для навигационного модуля (A2/30-1) | |
| F12 | 7,5A Блок-панель управления системой климат-контроля (N22/7) |
| Действительно для а/м типа 204.0/2, до 28.2.11 г., тип 204.9: | |
| Верхняя блок-панель управления (N72/1) | |
| F13 | 7,5A Блок управления электронным модулем рулевой колонки (N80) |
| Действительно, начиная с 1.3.11 г. на а/м с кодом (238) Активная система удержания полосы движения, кодом (476) Автоматическое распознавание полосы движения, кодом (513) Система предупреждения о скоростных ограничениях или кодом (608) Система адаптивного управления дальним светом: | |
| Мультифункциональная камера (A40/11) | |
| F14 | 7,5A Блок управления электронной системой стабилизации движения ESP (N30/4) |
| F15 | 7,5A Блок управления системой удержания пассажиров (N2/10) |
| F16 | 5A Действительно для а/м типа 204.0/2, до 31.5.09 г.: |
| Диагностический разъем (X11/4) | |
| 5A Действительно для а/м с КП 722: | |
| Блок управления электронным модулем рычага селектора (N15/5) | |
| F17 | 30A Действительно для а/м с кодом (413) Панорамная стеклянная крыша с подъемно-сдвижным люком: |
| Модуль управления панорамной крышей со сдвижным люком (A98) | |
| 30A Действительно для а/м типа 204.0/2/3 с кодом (414) Стеклянный подъемно-сдвижной люк с электроприводом: | |
| Блок управления потолочной блок-панели управления (N70) | |
| F18 | 7,5A Действительно для а/м типа 204.0/2, начиная с 1.3.11, тип 204.3: |
| Блок управления верхней блок-панели управления (N72/1) | |
| Действительно для а/м типа 204.0/2, до 28.2.11 г., тип 204.9: | |
| Концевая муфта плюсового провода шины данных LIN системы кондиционирования панели приборов (Z68/2) | |
| Электрическое штекерное соединение салона а/м и жгута электропроводки для заднего габаритного фонаря (X18) | |
| F19 | 20A Блок управления электрической блокировки рулевого управления (N26/5) |
| Блок управления электронным замком зажигания (N73) | |
| F20 | 40A Блок управления электронной системой стабилизации движения ESP (N30/4) |
| F21 | 7,5A Действительно для а/м типа 204.0/2 до 28.2.11 г., тип 204.9 до 31.5.11 г.: |
| Датчик сигнала торможения (S9/1) | |
| Переключатель плафона освещения перчаточного ящика (S17/9) | |
| Действительно для а/м с кодом (U18), автоматическая система распознавания наличия детского сиденья (AKSE): | |
| Система распознавания занятости сиденья и сиденья переднего пассажира AKSE (B48) | |
| Действительно для а/м с кодом (498), исполнение для Японии: | |
| Электрический предохранитель подготовки для установки системы Electronic Toll Collection (F34/5) | |
| F22 | 15A Электродвигатель вентилятора двигателя внутреннего сгорания и кондиционер со встроенным регулированием (M4/7) |
| Электрическое штекерное соединение жгута электропроводки салона и двигателя (X26) | |
| F23 | 20A Электрическое штекерное соединение жгута электропроводки салона и двигателя (X26) |
| На а/м с дизельным двигателем: | |
| Блок управления SAM с модулем предохранителей и реле в задней части салона (N10/2) | |
| Электрическое штекерное соединение жгута электропроводки салона и двигателя (X26) | |
| F24 | 15A Электрическое штекерное соединение жгута электропроводки салона и двигателя (X26) |
| Действительно для а/м с двигателем 642: | |
| Исполнительный элемент жалюзи радиатора (Y84) | |
| Действительно для а/м с двигателем 646: | |
| Блок управления CDI (N3/9) | |
| F25 | 15A Действительно для а/м с двигателями 156, 271, 272, 274, 276: |
| Блок управления ME (N3/10) | |
| Действительно для а/м с двигателем 651: | |
| Лямбда-зонд перед катализатором (G3/2) | |
| Действительно, начиная с 1.6.10 г., для типа 204.3 с двигателем 651 и с кодом (P84) Sport Edition: | |
| Блок управления генератором звука системы выпуска ОГ (N12) | |
| F26 | 20A Действительно для а/м с кодом (523) Аудиомодуль MB Audio 20 или кодом (510) Audio 20, вкл. CD-чейнджер: |
| Аудиомодуль (A2) | |
| Действительно для а/м с кодом (525) Аудиомодуль MB Audio 50 APS или кодом (511) Audio 50 APS, вкл. DVD-чейнджер: | |
| Аудиомодуль с системой Auto-Pilot (A2/56) | |
| Действительно для а/м с кодом (527) COMAND APS с однодисковым DVD-дисководом (с функцией навигации) или с кодом (512) COMAND APS, вкл. DVD-чейнджер или, начиная с 1.6.09 г., для кода (528) COMAND вкл. DVD-чейнджер: | |
| Модуль управления COMAND (A40/3) | |
| F27 | 7,5A Блок управления электронным замком зажигания (N73) |
| На а/м с дизельным двигателем: | |
| Блок управления CDI (N3/9) | |
| На а/м с бензиновым двигателем: | |
| Блок управления ME (N3/10) | |
| F28 | 7,5A Комбинация приборов (A1) |
| F29 | 10A Передняя правая блок-фара (E2) |
| F30 | 10A Передняя левая блок-фара (E1) |
| Действительно для а/м с двигателем 642: | |
| Электрическое штекерное соединение жгута электропроводки салона и двигателя (X26) | |
| F31A | 15A Через реле звуковых сигналов (N101 kO) включаются: |
| Левый звуковой сигнал (H2) | |
| Правый звуковой сигнал (H2/1) | |
| F31B | 15A Через реле звуковых сигналов (N101 kO) включаются: |
| Левый звуковой сигнал (H2) | |
| Правый звуковой сигнал (H2/1) | |
| F32 | 40A Действительно для а/м с двигателями 156, 271, 272: |
| Включается через реле продувки катализатора (N10/1 kP): | |
| Электрический воздушный насос (M33) | |
| F33 | 10A Действительно для а/м с КП 722.6: |
| Блок управления электронной системой управления АКП (N15/3) | |
| Действительно для а/м с КП 722.9: | |
| Блок управления полностью интегрированной системой управления АКП (Y3/8) | |
| F34 | 7,5A Действительно для а/м с двигателями 274, 276: |
| Блок управления топливного насоса (N118) | |
| Действительно для а/м с двигателями 271, 272, 651, начиная с 1.6.09 г., двигателем 642, начиная с 1.12.09 г.: | |
| Блок управления топливного насоса (N118) | |
| F35 | 5A Блок управления электронной системой стабилизации движения ESP (N30/4) |
| F36 | 7,5A Действительно для а/м с кодом (233) Distronic Plus: |
| Электрический модуль управления DISTRONIC (A89) | |
| Действительно для а/м типа 204.902/982/984: | |
| Электрогидравлический усилитель рулевого управления (A91/1) | |
| Реле | |
| J | Реле клеммы 15 |
| K | Реле клеммы 15R |
| L | Реле резерв |
| M | Реле клеммы 50, стартер |
| N | Реле клеммы 87, двигатель |
| O | Реле звукового сигнала |
| P | Действительно для а/м с двигателем 156, 272, 276: |
| Реле продувки катализатора | |
| Q | Действительно для кода (B03) «Функция «ECO Start-Stopp»: |
| Реле электродвигателя вентилятора масляного охладителя | R | Реле клеммы 87, ходовая часть |
Предохранитель прикуривателя в бардачке — номер 9, 15A, ключевой для электрики Mercedes GLK.
Блок силовых предохранителей
Справа от моторного отсека, вблизи аккумуляторной батареи, может быть установлен дополнительный блок силовых предохранителей для высокомощных цепей в GLK X204.

Фото — пример блока силовых предохранителей

Вариант 1
Схема силовых предохранителей

Обозначение силовых предохранителей
| F88 | Пиропредохранитель: |
| Генератор (G2), | |
| Стартер (M1) | |
| F89 | 125A Передний блок управления SAM с модулем предохранителей и реле (N10/1) |
| F90 | 40A Действительно кроме кода (B03) «Функция ECO Start-Stopp»: |
| Блок управления SAM с модулем предохранителей и реле в задней части салона (N10/2) | |
| F91 | 80A Электродвигатель вентилятора двигателя внутреннего сгорания и кондиционер со встроенным регулированием (M4/7) |
| F100 | 40A Регулятор вентилятора (A32n1) |
| F101 | 60A Действительно для АКБ спереди: |
| Передний блок управления SAM с модулем предохранителей и реле (N10/1) | |
| Действительно для дизельного двигателя с кодом (833) «Исполнение для Великобритании»: | |
| Держатель предохранителя, блок управления задней левой двери (F64/1) | |
| Держатель предохранителя, блок управления задней правой двери (F64/2) | |
| F103 | 150A На а/м с дизельным двигателем: |
| Дополнительный электроподогреватель (R22/3) | |
| Действительно для бензинового двигателя и кода (833) «Исполнение для Великобритании»: | |
| Держатель предохранителя, блок управления задней левой двери (F64/1) | |
| Держатель предохранителя, блок управления задней правой двери (F64/2) | |
| F104 | 70A Блок предохранителей салона (F34) |
| F105 | 100A Передний блок управления SAM с модулем предохранителей и реле (N10/1) |
| F106 | 150A Блок управления SAM с модулем предохранителей и реле в задней части салона (N10/2) |
| F107 | Резерв |
| F108 | Резерв |
| F109 | Резерв |
| F110 | Резерв |
Вариант 2
Схема силовых предохранителей вариант 2

Назначение силовых предохранителей
| F150 | 400A Действительно для а/м без кода (B03), функция «ECO Start-Stopp»: |
| Пиропредохранитель 88 (F32f88) | |
| 200A Действительно для а/м с кодом (B03), функция «ECO Start-Stopp»: | |
| Генератор (G2) | |
| Стартер (M1) | |
| F151 | 100A Электродвигатель вентилятора двигателя внутреннего сгорания и кондиционер со встроенным регулированием (M4/7) |
| F152 | 150A Передний блок управления SAM с модулем предохранителей и реле (N10/1) |
| F153 | Действительно для а/м без кода (B03), функция «ECO Start-Stopp»: |
| Резерв | |
| 60A Действительно для а/м с кодом (B03) Функция «ECO Start-Stopp» и расположение АКБ спереди: | |
| Передний блок управления SAM с модулем предохранителей и реле (N10/1) | |
| F154 | 60A Действительно для а/м без кода (B03) Функция «ECO Start-Stopp» и расположение АКБ спереди: |
| Передний блок управления SAM с модулем предохранителей и реле (N10/1) | |
| 150A Действительно для а/м с дизельным двигателем и кодом (B03) Функция «ECO Start-Stopp»: | |
| Дополнительный электроподогреватель (R22/3) | |
| F155 | Резерв |
| F156 | 150A Действительно для а/м с дизельным двигателем и без кода (B03) Функция «ECO Start-Stopp»: |
| Дополнительный электроподогреватель (R22/3) | |
| 100A Действительно для а/м с кодом (B03) Функция «ECO Start-Stopp»: | |
| Передний блок управления SAM с модулем предохранителей и реле (N10/1) | |
| F157 | 100A Действительно для а/м типа 204.902/982/984 или для типа 204.987, начиная с 1.7.10 г. до 31.5.11 г., с кодом (494) Исполнение для США, или кодом (460) Исполнение для Канады): |
| Электрогидравлический усилитель рулевого управления (A91/1) | |
| Действительно для а/м типа 204.0/2/3 с двигателем 274.9, тип 204.002, начиная с 01.12.12 г., с двигателем 651, с КП 722.9, тип 204.002/202/302, начиная с 01.12.12 г., с двигателем, 651 с КП 711.6, тип 204.9 (кроме типа 204.902/982/984) и тип 204.987, начиная с 1.7.10 г., до 31.5.11 г., с кодом (494) Исполнение для США, или кодом (460) Исполнение для Канады: | |
| Блок управления электроусилителем рулевого управления (N68) | |
| F158 | 50A Действительно на а/м без кода (B03), функция «ECO Start-Stopp»: |
| Регулятор вентилятора (A32n1) | |
| 150A Действительно для а/м с кодом (B03), функция «ECO Start-Stopp»: | |
| Блок управления SAM с модулем предохранителей и реле в задней части салона (N10/2) | |
| F159 | 50A Действительно для а/м с кодом (965) Базовое оснащение для электрооборудования прокатных а/м, и без кода (B03) Функция «ECO Start-Stopp»: |
| Мультифункциональный блок управления для спецавтомобиля (N26/9) | |
| 200A Действительно для а/м с кодом (B03), функция «ECO Start-Stopp»: | |
| Реле дополнительной АКБ (K57/2) | |
| F160 | 60A Действительно для а/м типа 204.0/2/3, начиная с 1.6.12 г., без кода (B03) Функция «ECO Start-Stopp»: |
| Блок предохранителей салона (F34) | |
| 50A Действительно для а/м с кодом (B03), функция «ECO Start-Stopp»: | |
| Регулятор вентилятора (A32n1) | |
| F161 | 100A Действительно на а/м без кода (B03), функция «ECO Start-Stopp»: |
| Передний блок управления SAM с модулем предохранителей и реле (N10/1) | |
| 50A Действительно для а/м с кодом (965) Базовое оснащение для электрооборудования прокатных а/м, и кодом (B03) Функция «ECO Start-Stopp»: | |
| Многофункциональный блок управления для спецавтомобиля (N26/9) | |
| F162 | Действительно на а/м без кода (B03), функция «ECO Start-Stopp»: |
| Резерв | |
| 60A Действительно для а/м типа 204.0/2/3, начиная с 1.6.12 г., с кодом (B03) Функция «ECO Start-Stopp»: | |
| Блок предохранителей салона (F34) | |
| F163 | 150A Действительно без кода (B03) «Функция «ECO Start-Stopp»»: |
| Блок управления SAM с модулем предохранителей и реле в задней части салона (N10/2) | |
| F164 | 80A Действительно на а/м без кода (B03), функция «ECO Start-Stopp»: |
| Блок управления SAM с модулем предохранителей и реле в задней части салона (N10/2) |
Блок в салоне
Блок предохранителей в салоне Mercedes GLK X204 находится в левом конце приборной панели, удобный для самостоятельной проверки электрики.

Схема блока предохранителей в салоне

Расшифровка предохранителей салона
| F116 | 30A Действительно до 31.05.09 на а/м с кодом (275) Пакет функций памяти (Сиденье водителя, рулевая колонка, зеркало): |
| Блок управления сиденья водителя (N32/1) | |
| F117 | 15A Действительно до 31.05.09 на а/м типа 204.0/2 с кодом (483) Пакет ADVANCED AGILITY: |
| Блок управления адаптивной системы амортизации (N51 /5) | |
| F118 | Резерв |
| F119 | 7,5A Действительно до 31.05.09 на а/м с кодом (581) Комфортный климат-контроль: |
| Электродвигатель вентилятора задней части салона (M2/1) | |
| Действительно до 1.6.12 на а/м с кодом (255) AMG Performance Media: | |
| Блок управления AMG Performance Media (N125/3) | |
| F120 | Резерв |
| F121 | Резерв |
| F122 | Резерв |
| F123 | 10A Действительно на а/м типа 204.0/2/3 с кодом (443) Подогрев рулевого колеса или с кодом (476) Автоматическое распознавание полосы движения: |
| Блок управления электронным модулем рулевой колонки (N80) | |
| F124 | Резерв |
| F125 | Резерв |
| F126 | 30A Действительно до 31.05.09 на а/м с кодом (242) Сиденье переднего пассажира с электрической регулировкой и памятью: |
| Блок управления сиденья переднего пассажира (N32/2) | |
| F127 | Резерв |
| F128 | Резерв |
| F129 | 20A Действительно до 31.05.09 для а/м с двигателем 156: |
| Реле электромотора вентилятора масляного радиатора (K25) | |
| F130 | Резерв |
| F131 | Резерв |
| F132 | Резерв |
| F133 | Резерв |
| F134 | Резерв |
| F135 | Резерв |
Блоки в багажнике
Блок предохранителей и реле
В багажнике Mercedes GLK X204, под ковриком (2), скрыт основной блок предохранителей и реле за крышкой (3), отвечающий за задние системы.

Фотография блока в багажнике

Схема блока в багажнике X204

Описание предохранителей багажника
| F37 | 5A Действительно кроме типа 204.077/277/377: |
| Катушка электромагнита NECK-PRO подголовника сиденья водителя (Y24/12) | |
| Катушка электромагнита NECK-PRO подголовника сиденья переднего пассажира (Y24/13) | |
| F38 | 15A Действительно для типа 204.2/9: |
| Включается через реле стеклоочистителя двери багажника (N10/2kE): | |
| Электродвигатель стеклоочистителя двери багажника (M6/4) | |
| F39 | 30A Действительно для типа 204.0/2/9 кроме автомобилей для Великобритании до 31.5.09 г. или для типа 204.0/2/9 начиная с 1.6.09 г.: |
| Блок управления задней двери слева (N69/3) | |
| F40 | Резерв |
| F41 | 30A Действительно для типа 204.0/2/9 до 31.3.10 г.: |
| Блок управления правой задней двери (N69/4) | |
| Действительно начиная с 1.4.10 г.: | |
| Блок управления передней двери справа (N69/2) | |
| F42 | 25A Действительно для бензинового двигателя или для двигателя 642 1.12.09 г. или двигателя 651 с 1.6.09 г.: |
| Блок управления топливного насоса (N118) | |
| 20A Действительно для двигателя 646 или двигателя 642 с 30.11.09 г. или двигателя 651 с 31.5.09 г.: | |
| Через реле топливного насоса (N10/2kD) включаются: | |
| Топливный насос (M3) | |
| F43 | 5A Действительно с 1.6.09 г. для кода (581) «Автоматическая климатическая система повышенной комфортности»: |
| Электродвигатель вентилятора в задней части салона (M2/1) | |
| F44 | 30A Действительно для типа 204.0/3/9 с кодом (494) «Исполнение для США» или с кодом (460) «Исполнение для Канады» и без кода (275) «Пакет функций памяти (сиденье водителя, рулевая колонка, зеркала)»: |
| Блок выключателей регулировки положения переднего правого сиденья (S23) | |
| Действительно без кода (494) «Исполнение для США» и без кода (460) «Исполнение для Канады» и без кода (275) «Пакет функций памяти (сиденье водителя, рулевая колонка, зеркала)»: | |
| Выключатель частично электрической регулировки сиденья переднего пассажира (S23/1) | |
| F45 | 30A Действительно для типа 204.0/3/9 с кодом (494) «Исполнение для США» или с кодом (460) «Исполнение для Канады» и без кода (275) «Пакет функций памяти (сиденье водителя, рулевая колонка, зеркала)»: |
| Блок выключателей регулировки положения переднего левого сиденья (S22) | |
| Действительно без кода (494) «Исполнение для США» и без кода (460) «Исполнение для Канады» и без кода (275) «Пакет функций памяти (сиденье водителя, рулевая колонка, зеркала)»: | |
| Выключатель частично электрической регулировки сиденья водителя (S22/1) | |
| F46 | 7,5A Действительно для типа 204.0/2/9: |
| Антенный усилитель FM-антенны на заднем стекле (A2/19) | |
| Действительно для типа 204.3: | |
| Антенный усилитель FM 2 и DAB (A2/19) | |
| Действительно до 31.5.10 г. для кода (551) «Система противоугонной сигнализации (EDW)» и с 1.6.10 г. для кода (551) «Система противоугонной сигнализации (EDW)» и без кода (494) «Исполнение для США»: | |
| Сирена сигнализации (H3/1) | |
| Действительно до 31.5.10 г. для кода (551) «Система противоугонной сигнализации (EDW)» и с 1.6.10 г. для кода (551) «Система противоугонной сигнализации (EDW)» и без кода (494) «Исполнение для США»: | |
| Блок управления защиты салона и защиты от буксировки (N26/6) | |
| Действительно для типа 204.2: | |
| Антенный усилитель 1 на заднем стекле (A2/71) | |
| На а/м типа 204.2 с кодом (498): комплектация для Японии: | |
| Антенный усилитель FM-антенны на заднем стекле (A2/19) | |
| Антенный усилитель TV 1 и антенна DAB диапазона III (A94/1) | |
| На а/м типа 204.2 с кодом (537): цифровое радио: | |
| Антенна DAB диапазона III (A95/2) | |
| Действительно для кода (498) (Исполнение для Японии) и кода (889) (Keyless Go): | |
| Антенный усилитель TV 2 и KEYLESS-GO (A94/2) (для типа 204.0/3/9) | |
| Антенный усилитель KEYLESS-GO (A94/4) (для типа 204.2) | |
| Действительно для а/м с системой Keyless Go (код 889): | |
| Антенный усилитель FM антенны заднего стекла (A2/19) (для типа 204.0/2/9) | |
| Антенный усилитель FM 2 и DAB (A2/19) (для типа 204.3) | |
| F47 | Резерв |
| F48 | Резерв |
| F49 | 40A Через реле обогрева заднего стекла (N10/2kC) включаются: |
| Система обогрева заднего стекла (R1) | |
| F50 | 50A На а/м с кодом (299): система PRE-SAFE: |
| Реверсивный натяжитель переднего правого ремня безопасности (A76/1) | |
| F51 | 50A На а/м с кодом (299): система PRE-SAFE: |
| Реверсивный натяжитель переднего левого ремня безопасности (A76) | |
| F52 | Резерв |
| F53 | 15A Действительно до 31.5.09 г. для кода (550) «Тягово-сцепное устройство»: |
| Блок управления системы распознавания прицепа (N28/1) | |
| Действительно до 1.6.09 г. для кода (550) «Тягово-сцепное устройство»: | |
| Блок управления системы распознавания прицепа (N28/1) | |
| F54 | 7,5A Действительно до 31.5.09 г. для кода (550) «Тягово-сцепное устройство»: |
| Блок управления системы распознавания прицепа (N28/1) | |
| 15A Действительно до 1.6.09 г. для кода (550) «Тягово-сцепное устройство»: | |
| Блок управления системы распознавания прицепа (N28/1) | |
| 5A Действительно для типа 204.077/277/377 до 31.5.09 г.: | |
| Группа выключателей регулировки поясничного подпора и боковых валиков сиденья водителя (S109/4) | |
| Группа выключателей регулировки поясничного подпора и боковых валиков сиденья переднего пассажира (S109/5) | |
| Блок клапанов AMG сиденья переднего пассажира (Y109/3) | |
| Блок клапанов AMG сиденья водителя (Y109/2) | |
| F55 | 5A Действительно для кода (U42) «Система очистки ОГ дизельного двигателя BlueTEC»: |
| Блок управления AdBlue® (N118/5) | |
| F56 | 15A Действительно до 31.5.09 г. для кода (550) «Тягово-сцепное устройство»: |
| Блок управления системы распознавания прицепа (N28/1) | |
| Действительно до 1.6.09 г. для кода (550) «Тягово-сцепное устройство»: | |
| Розетка прицепа (X58) | |
| 5A Действительно для типа 204.077/277/377 до 31.5.09 г.: | |
| Группа выключателей регулировки поясничного подпора и боковых валиков сиденья водителя (S109/4) | |
| Группа выключателей регулировки поясничного подпора и боковых валиков сиденья переднего пассажира (S109/5) | |
| Блок клапанов AMG сиденья переднего пассажира (Y109/3) | |
| Блок клапанов AMG сиденья водителя (Y109/2) | |
| F57 | 20A Действительно до 31.5.09 г. для кода (550) «Тягово-сцепное устройство»: |
| Блок управления системы распознавания прицепа (N28/1) | |
| Действительно до 1.6.09 г. для кода (550) «Тягово-сцепное устройство»: | |
| Блок управления системы распознавания прицепа (N28/1) | |
| F58 | 20A Действительно при наличии тягово-сцепного устройства с кодом 550: |
| Блок управления системы распознавания прицепа (N28/1) | |
| F59 | 5A Действительно для а/м с кодом (220): система PARKTRONIC или кодом (230): эксклюзивная система помощи при парковке: |
| Блок управления системы помощи при парковке (N62) | |
| Действительно для а/м с кодом (233) Distronic Plus: | |
| Датчик DISTRONIC (DTR) в переднем бампере слева (B29/2) | |
| Датчик DISTRONIC (DTR) в переднем бампере справа (B29/3) | |
| Действительно для а/м с системой контроля мёртвых зон (код 234): | |
| Интеллектуальный радарный датчик в заднем бампере слева (B29/4) | |
| Интеллектуальный радарный датчик в заднем бампере справа (B29/5) | |
| F60 | 7,5A Действительно для а/м с кодом (409) «Мультиконтурное сиденье спереди слева/справа»: |
| Пневмонасос мультиконтурного сиденья (M40) | |
| F61 | 40A Действительно для типа 204.2/9 с кодом (890) «Откидная дверь багажного отделения с системой EASY-PACK»: |
| Блок управления приводом откидной двери багажного отделения (N121/1) | |
| F62 | 30A Действительно с 1.6.09 г. для кода (275) «Пакет функций памяти (сиденье водителя, рулевая колонка, зеркала)»: |
| Блок управления сиденья водителя (N32/1) | |
| F63 | 30A Действительно с 1.6.09 г. для кода (242) «Сиденье переднего пассажира с электрорегулировкой положения и функцией»: |
| Блок управления сиденья переднего пассажира (N32/2) | |
| F64 | 25A Действительно для типа 204.0/9 с кодом (U80)» 115V-розетка в багажном отделении»: |
| Блок управления преобразователя переменного / постоянного тока (N24/3) | |
| F65 | 15A Действительно с 1.6.09 г. для типа 204.0/2/3 с кодом (483) «Пакет ADVANCED AGILITY»: |
| Блок управления адаптивной системы амортизации (N51 /5) | |
| Действительно для типа 204.9 с кодом (443) «Подогрев рулевого колеса» или с кодом (476) «Автоматическое распознавание полос движения»: | |
| Блок управления электронного модуля рулевой колонки (N80) | |
| F66 | 7,5A Действительно для типа 204.0/2/3 с двигателем 651 начиная с 1.6.12 г. и с кодом (427) «Автоматическая коробка передач 7ступенчатая» или с кодом (B03) «Функция «ECO Start-Stopp»»: |
| Реле циркуляционного насоса масла КП (K60/1) | |
| F67 | 30A Действительно для автомобилей с акустической системой (код 810): |
| Блок управления усилителя акустической системы (N40/3) | |
| F68 | Резерв |
| F69 | 20A Действительно для типа 204.9 с кодом (810) «Акустическая система»: |
| Усилитель заднего низкочастотного динамика (N40/9) | |
| F70 | 5A Действительно для автомобилей с кодом (470) «Система контроля давления в шинах (базовая), марки Schrader» или с кодом (475) «Система контроля давления в шинах (Premium), марки Schrader»: |
| Блок управления системы контроля давления в шинах (N88) | |
| F71 | 15A На а/м с кодом (301): комплект пепельниц / пакет для курения: |
| Прикуриватель с подсветкой пепельницы спереди (R3) | |
| Действительно без кода (301): комплект пепельниц/пакет для курящих: | |
| Розетка салон спереди (X58/17) | |
| F72 | 15A Действительно для типа 204.2/9: |
| Розетка в багажнике (X58/4) | |
| Действительно для типа 204.0/9 с кодом (U80) «115V-розетка в багажном отделении»: | |
| Розетка 115 В (X58/34) | |
| F73 | 7,5A Действительно для типа 204.0/2 начиная с 1.6.09 г., тип 204.9: |
| Диагностический разъем (X11/4) | |
| Действительно для двигателя 156 начиная с 1.7.11 г.: | |
| Блок управления режимами движения (N145) | |
| Действительно для а/м с системой автономного отопления (код 228): | |
| Приемник дистанционного радиоуправления автономным отопителем (A6/1) | |
| F74 | 15A Действительно для а/м с системой Keyless Go (код 889): |
| Блок управления системы KEYLESS-GO (N69/5) | |
| F75 | 20A Действительно для а/м с системой автономного отопления (код 228): |
| Нагревательное устройство автономного отопителя (A6) | |
| F76 | 15A Розетка салона (X58/1) |
| F77 | 7,5A Действительно для кода (U10) Сиденье переднего пассажира с распознаванием веса: |
| Блок управления системы определения массы пассажиров (WSS) (N110) | |
| F78 | 7,5A Действительно с 1.3.11 г. для автомобилей с кодом (401)»Передние сиденья повышенной комфортности, вкл. обогрев и вентиляцию сидений»: |
| Регулятор вентилятора вентиляции переднего левого сиденья (N29/5) | |
| Регулятор вентилятора вентиляции переднего правого сиденья (N29/6) | |
| F79 | 7,5A Резерв |
| F80 | 5A Действительно для автомобилей с кодом (233) «DISTRONIC PLUS», кодом (237) «Активная система мониторинга «слепых» зон» или с кодом (238) «Активная система удержания полосы движения»: |
| Блок управления видеодатчиков и радарных датчиков (N62/2) | |
| Действительно для типа 204.9 начиная с 1.6.12 г. с кодом (235) «Активная система помощи при парковке»: | |
| Блок управления системы помощи при парковке (N62) | |
| F81 | 5A На а/м с кодом (518): мультимедийный интерфейс: |
| Блок управления мультимедийного интерфейса (N125/1) | |
| F82 | 5A Действительно для кода (386) «Автономный отопитель» или кода (228) «Мобильный телефон»: |
| Компенсатор мобильной связи UMTS (A28/13) | |
| Действительно до 31.5.09 г. для кода (498) «Исполнение для Японии»: | |
| Блок управления TB-тюнера (N143) | |
| F83 | 7,5A Действительно до 28.2.11 г. для кода (498) «Исполнение для Японии»: |
| Блок управления Electronic Toll Collection (A50/3) | |
| Действительно для типа 204.0/3/9 с кодом (359) «Система экстренного вызова TELE AID» или с кодом (348) «Система экстренного вызова/система информационной поддержки»: | |
| Блок управления системы аварийного вызова (N123/4) | |
| Действительно для типа 204.9 с кодом (866) «Подготовка для установки мультимедийной развлекательной системы в задней части салона»: | |
| Дисплей в задней части салона слева (A40/5) | |
| Дисплей в задней части салона справа (A40/6) | |
| Действительно для типа 204.9 начиная с 1.6.12 г. с кодом (218) «Камера заднего вида» и с кодом (498) «Исполнение для Японии»: | |
| Электроника камеры заднего вида (N93/3) | |
| F84 | 7,5A Действительно для типа 204.0 с кодом (536) «Спутниковое радио SIRIUS» и кодом (523) «Радиоприемник MB Audio 20» или кодом (510) «Audio 20 вкл. CD-чейнджер», тип 204.0 до 31.5.09 г. с кодом (536) «Спутниковое радио sIRiUS» и кодом (512) «COMAND APS вкл DVD-чейнджер», тип 204.9 с кодом (536) «Спутниковое радио SIRIUS» и с кодом (523) «Радиоприемник MB Audio 20» или с кодом (510) «Audio 20, вкл. CD-чейнджер», тип 204.9 до 31.5.09 г. с кодом (536) «Спутниковое радио SIRIUS» и с кодом (512) «COMAND APS вкл. DVD-чейнджер», тип 204.0/9 с 1.6.10 г. с кодом (536) «Спутниковое радио SIRIUS», тип 204.3 с кодом (536) «Спутниковое радио SIRIUS»: |
| Блок управления Satellite Digital Audio Radio (SDAR) (N87/5) | |
| Действительно с 1.6.09 г. по 31.5.10 г. для типа 204.0/9 с кодом (536 «Спутниковое радио SIRIUS»: | |
| Блок управления SDAR/тюнер высокого разрешения (N87/8) | |
| Действительно для а/м с цифровым радио (код 537): | |
| Блок управления цифрового звукового радиовещания (N87/3) | |
| Действительно для типа 204.0/2/3 с кодом (218) «Камера заднего вида» и без кода (498) «Исполнение для Японии», тип 204.9 до 31.5.12 г. с кодом (218) «Камера заднего вида» и без кода (498) «Исполнение для Японии»: | |
| Модуль электропитания камеры заднего вида (N66/10) | |
| Действительно для типа 204.0/2/3 с кодом (218) «Камера заднего вида» и кодом (498) «Исполнение для Японии», тип 204.9 до 31.5.12 г. с кодом (218) «Камера заднего вида» и кодом (498) «Исполнение для Японии»: | |
| Блок управления камеры заднего вида (N66/2) | |
| Тип 204.9 с 1.6.12 г. с кодом (218) «Камера заднего вида» и с кодом (498) «Исполнение для Японии»: | |
| Электроника камеры заднего вида (N93/3) | |
| Тип 204.9 с 1.6.12 г. с кодом (218) «Камера заднего вида» и без кода (498) «Исполнение для Японии»: | |
| Камера заднего вида (B84/3) | |
| Действительно для кода (501) Камера обзора на 360 градусов: | |
| Блок управления камеры обзора на 360° (N148) | |
| F85 | 7,5A Действительно до 31.5.09 г. для кода (498) «Исполнение для Японии»: |
| Блок управления TB-тюнера (N143) | |
| Действительно с 1.6.09 г. для кода (498) «Исполнение для Японии»: | |
| Цифровой TB-тюнер (A90/3) | |
| F86 | 7,5A Действительно для типа 204.9 с кодом (864) «Мультимедийная развлекательная система в задней части салона»: |
| DVD-проигрыватель(A40/4) | |
| F87 | 7,5A Действительно для типа 204.0/3/9 с кодом (359) «Система экстренного вызова TELE AID» или с кодом (348) «Система экстренного вызова/система информационной поддержки»: |
| Блок управления системы аварийного вызова (N123/4) | |
| F88 | 15A Действительно для автомобилей с коробкой передач 722: |
| Модуль сервопривода АКП DIRECT SELECT (A80) | |
| F89 | 20A Действительно до 1.6.09 г. для кода (550) «Тягово-сцепное устройство»: |
| Блок управления системы распознавания прицепа (N28/1) | |
| Действительно с 1.6.09 г. для двигателя 156: | |
| Реле электродвигателя вентилятора масляного охладителя (K25) | |
| Действительно для кода (P98) Black Series: | |
| Реле циркуляционного контура охлаждающей жидкости редуктора заднего моста (K36/3) | |
| F90 | 40A Действительно для кода (U42) «Система очистки ОГ дизельного двигателя BlueTEC»: |
| Блок предохранителей AdBlue® (F37) | |
| Реле подачи AdBlue® (K27/7) | |
| F91 | Резерв |
| F92 | Резерв |
| Реле | |
| A | Реле клеммы 15 |
| B | Реле клеммы 15R (1) |
| C | Реле обогрева заднего стекла |
| D | На а/м с дизельным двигателем: |
| Реле топливного насоса | |
| E | Действительно для типа 204.2/9: |
| Реле стеклоочистителя двери багажника | |
| F | Действительно без кода (275) «Пакет функций памяти» (сиденье водителя, рулевая колонка, зеркала): |
| Реле регулировки положения сиденья | |
| G | Реле клеммы 15R (2) |
Предохранители прикуривателей в Mercedes X204 — номера 71, 72 и 76, все по 15A, важны для питания розеток и диагностики.
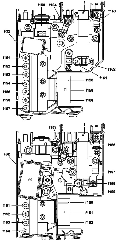
Блок силовых предохранителей
Рядом с основным блоком в багажнике установлен блок силовых предохранителей для мощных потребителей электричества в задней части GLK.
Схема силового блока багажника

Обозначение силовых предохранителей багажника
- F111 — 60A Действительно для а/м с двигателем 156, 642, 646 и аккумулятором в задней части автомобиля: Передний блок управления SAM с модулем предохранителей и реле (N10/1)
- F112 — 80A Действительно до 31.5.09 а/м с кодом (965) Электрическая подготовка прокатного а/м: Мультифункциональный блок управления для спецавтомобиля (N26/9)
- F113 — 40A Действительно для двигателей 156: Блок управления топливного насоса слева (N118/3), Блок управления правого топливного насоса (N118/4)
- F114 — Резерв
- F115 — 100A Действительно до 31.5.09 а/м с кодом (965) Электрическая подготовка прокатного а/м: Мультифункциональный блок управления для спецавтомобиля (N26/9)
Если вы знаете, как улучшить эту статью по предохранителям Mercedes-Benz GLK X204, делитесь идеями в комментариях.


