Honda Pilot первого поколения выпускалась в период с 2002 по 2008 год под индексом кузова YF1. За эти годы автомобиль подвергся обновлениям и рестайлингу. В этой статье мы подробно разберем расположение всех блоков предохранителей и реле для Honda Pilot 1, включая схемы, фотографии и описания. Особое внимание уделим предохранителю, отвечающему за розетку прикуривателя, чтобы облегчить диагностику и замену элементов электрической системы Honda Pilot YF1.

Позиционирование блоков и функции компонентов могут варьироваться в зависимости от года производства, комплектации и рынка сбыта вашего Honda Pilot.
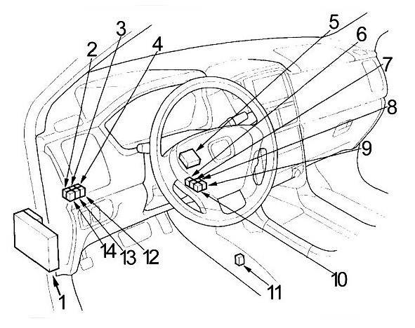
Блоки предохранителей в интерьере
Местоположение
Общая диаграмма размещения блоков в салоне 1

Пояснение
- Блок предохранителей №1
- Реле задней розетки аксессуаров
- Реле подсветки салона
- 2003-2005: Реле передних противотуманок; 2006-2008: Реле отключения ближнего света
- Модуль дневных ходовых огней
- 2006-2008: Реле мотора омывателя лобового стекла
- Реле блокировки селектора передач
- Реле P-контакта
- Основное реле PGM-FI №1
- Основное реле PGM-FI №2 (для топливного насоса)
- Реле заднего вентилятора
- 2003-2005: Реле затемнения; 2006-2008: Реле DRL
- Реле задних фонарей
- 4WD: Реле VTM-4; 2WD (2006-2008): Реле управления моторным креплением
Общая диаграмма размещения блоков в салоне 2

Расшифровка
- Модуль иммобилайзера — приемник
- 2WD (2006-2008): Модуль активного шумоподавления
- Приемник keyless
- Реле сенсора A/F
- Реле зажигания
- Реле дроссельного привода
- 2006-2008: Реле заднего омывателя
- Блок предохранителей №2
- Модуль SRS
- 2WD (2006-2008): Модуль моторного крепления
Блок предохранителей №1
Этот модуль с предохранителями и реле расположен в нижней зоне приборной панели, с водительской стороны.

Фотография блока

Диаграмма

Функции предохранителей
| 1 | 15А Модуль иммобилайзера — приемник, PCM, реле PGM-FI №2 (топливный насос), SRS |
| 2 | 10А SRS |
| 3 | 7,5А Реле компрессора А/С, реле вентилятора, климат-контроль, панель отопителя, PCM, рециркуляция, задний вентилятор, ближний свет, обогрев заднего стекла, радиаторный вентилятор (2003-2005) |
| 4 | 7,5А Инвертор (2006–2008), зеркала с подогревом, ABS-модулятор (2003–2005), VTM-4 (2003–2005) |
| 5 | 10А DRL-модуль |
| 6 | 15А Генератор, круиз-контроль, EVAP, датчики, PCM, VSA (2006–2008), ELD (2003-2005), вторичные O2 (2003-2005), радиатор (2003-2005), VTM-4 (2003-2005), реле VTM-4 |
| 7 | 7,5А Электронное зеркало (2006–2008), ODS, индикатор пассажира, авто-затемнение (2006–2008), реле заднего wiper, задний wiper, противотуманки (2006-2008) |
| 8 | 7,5А Реле аксессуарной розетки, шумоподавление (2WD 2006-2008), датчики, keyless (2006-2008), задняя розетка, блокировка передач |
| 9 | 10А Шумоподавление (2WD 2006-2008), реле заднего хода, фонари, стоп-сигнал, приборы, keyless, навигация (2006-2008), авто-затемнение (2006–2008), безопасность (2006–2008), пассажирский мультиплекс, соленоид A/T (2006–2008), VTM-4, 4WD-индикатор, VTM-4 контроль, водительский мультиплекс |
| 10 | 7,5А Реле поворотников/аварийки |
| 11 | 7,5А VTM-4 (2006-2008); 15А Катушки зажигания (2003-2005) |
| 12 | 30А Реле заднего омывателя, задний wiper, прерывистый wiper лобового, омыватель лобового, реле wiper |
| 13 | 7,5А PGM-FI реле, PCM |
На задней стороне блока могут быть установлены реле.
Диаграмма реле

Расшифровка реле
- R1 — Реле стартера
- R2 — Реле задних фонарей
- R3 — Реле поворотников и аварийки
Рядом на дополнительном креплении возможны запасные предохранители: 7,5А для сигнала, 7,5А для автоматического wiper и 7,5А для блока №6 под панелью водителя.
Блок предохранителей №2
Дополнительный блок предохранителей и реле монтируется под приборной панелью на стойке со стороны пассажира, прикрыт крышкой.

Проверяйте функции по схеме на крышке вашего блока предохранителей Honda Pilot.
Схема на крышке

Функции
| 1 | 20А Модуль стеклоподъемников |
| 2 | 20А Водительское сиденье (EX-L): опускание, сдвиг; заднее сиденье (не EX-L): подъем; наклон (EX-L) |
| 3 | 20А Подогрев передних сидений |
| 4 | 20А Заднее сиденье (EX-L): опускание; водительское (EX-L): наклон; заднее (не EX-L): опускание; водительское (не EX-L): сдвиг |
| 5 | — |
| 6 | 10А DRL-модули |
| 7 | 20А Левый задний стеклоподъемник, главный выключатель, модуль |
| 8 | 20А Передний пассажирский стеклоподъемник |
| 9 | 15А Аудиосистема, DVD (задняя система), консольная розетка, передние аксессуары, навигация, дисплей, розетка прикуривателя |
| 10 | 15А Подсветка аудио, DVD (задняя), круиз, климат, DVD (задняя), водительский мультиплекс, габариты, консоль, двери, приборы, перчатка, аварийка, отопитель, внутренний свет, номер, люк, навигация, прикуриватель, противотуманки, зеркала, задний климат, задний экран (задняя), крыша, сиденья, задние фонари, прицеп, VTM-4 |
| 11 | 10А Передние карты, двери, HomeLink, внутренний свет, навигация, задние карты, задняя дверь, зеркало |
| 12 | 20А Пассажирский мультиплекс |
| 13 | 7,5А Водительский мультиплекс, дверной, датчики, иммобилайзер, индикатор, keyless, безопасность, пассажирский мультиплекс |
| 14 | 7,5А Реле люка (закрытие/открытие) (2006-2008) |
| 15 | 20А Реле люка, мотор люка (2006-2008) |
| 16 | 20А Правый задний стеклоподъемник |
Предохранитель №9 (15А) отвечает за функционирование розетки прикуривателя в Honda Pilot 1 поколения.
На дополнительном кронштейне может быть предохранитель 7,5А для реле охлаждающего вентилятора. Сзади блока размещены реле.
Диаграмма реле

Расшифровка
- R1 — Стеклоподъемник
- R2 — Аксессуарная розетка
- R3 — Обогрев заднего стекла
Блоки в моторном отсеке
Местоположение
Общая диаграмма блоков под капотом

Функции
- PCM
- Блок предохранителей и реле
- Блок предохранителей
- ABS/VSA модулятор
- Блок реле
Блок предохранителей и реле
Расположен справа, защищен крышкой.

Диаграмма

Функции
| 41 | 120A Аккумулятор, питание |
| 42 | 50A Зажигание, keyless |
| 43 | 20A Световой комбайн, DRL, правая фара |
| 44 | — |
| 45 | 20A Световой комбайн, DRL, левые фары, дальний свет, противотуманки (2006-2008) |
| 46 | 15A DLC, PGM-FI реле |
| 47 | 20A Стопы, мультиплекс, высокий стоп, сигнал, подсветка ключа, соленоид, PCM, прицеп |
| 48 | 20A Аудио, DVD (задняя), задний контроллер (задняя) |
| 49 | 15A Аварийка |
| 50 | 20A Прицеп (2003-2005) |
| 51 | 40A Стеклоподъемники, салон №2: №1 |
| 52 | 40A Салон №2: №2,3,4,6 |
| 53 | 30A Конденсатор, обогрев заднего |
| 54 | 40A Салон №2: №9,10,11,12,13 |
| 55 | 30A Задний вентилятор |
| 56 | 40A Вентилятор |
| 57 | 30A Радиаторный вентилятор |
| 58 | 30A Конденсаторный вентилятор А/С |
| 59 | 7,5A Компрессор А/С |
| • | Запасной |
| Реле | |
| R1 | Правая фара |
| R2 | Левая фара |
| R3 | Сигнал |
| R4 | Вентилятор конденсатора |
| R5 | Вентилятор |
| R6 | Радиатор |
| R7 | Компрессор |
Блок предохранителей

Диаграмма

Функции
| 1 | 20A Инвертор |
| 2 | 40A VSA-модулятор |
| 3 | 30A VSA-модулятор |
| 4 | 20A VTM-4 |
| 5 | 10A 2WD: моторное крепление |
| 6 | 15A Консольная розетка, задняя |
| 7 | 15A PCM |
| 8 | 15A Катушки |
| 9 | 15A A/F сенсоры (ряды 1-2), O2 (ряды 1-2), ELD |
| 10 | 7,5A TPMS |
| 11 | 20A Передние противотуманки, датчики, выключатель |
Блок реле
Диаграмма

Расшифровка
| R1 | Вентилятор контроль |
| R2 | Задний wiper прерывистый |
| R3 | Лобовой wiper прерывистый |
| R4 | Подогрев сидений |
В жгуте прицепа есть два предохранителя по 7,5 А для освещения прицепа.
Вот и все по предохранителям и реле Honda Pilot 1. Если заметили неточность или хотите дополнить — оставляйте отзыв в комментариях.


