Honda CR-V 2 поколения производилась с 2002 по 2006 год с кодами кузова RD4, RD5, RD6, RD7, RD8, RD9. За период выпуска внедорожник прошел обновление. В этой статье мы подробно разберем предохранители и реле Honda CR-V 2, включая схемы расположения блоков, фото блоков предохранителей Honda CR-V 2, места установки и назначение элементов. Особое внимание уделим предохранителю прикуривателя CR-V второго поколения.

Положение блоков и функции компонентов могут варьироваться в зависимости от года выпуска, региона комплектации и версии оборудования вашего Honda CR-V.
Не подходит поколение или схемы?
[Описание Хонда СРВ 5]
[Описание Хонда СРВ 4]
[Описание Хонда СРВ 3]
[Описание Хонда СРВ 1]
Блоки в салоне
Расположение
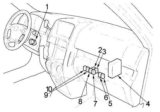
Общая схема расположения предохранителей и реле в салоне

Описание элементов
- Реле закрытия люка
- Реле открытия люка
- Реле передней розетки
- Реле ближнего света
- Реле дневных ходовых огней
- Блок предохранителей и реле
- Ресивер бесключевого доступа
- Блок управления дневными ходовыми огнями
Блок предохранителей и реле
Основной блок предохранителей и реле в салоне Honda CR-V 2 расположен под приборной панелью со стороны водителя.

Чтобы получить доступ, снимите защитную крышку блока предохранителей Honda CR-V 2.

Схема блока предохранителей и реле в салоне

Расшифровка предохранителей и реле
| 1 | 15A Катушки зажигания |
| 2 | 10A Задняя розетка |
| 3 | 10A Дневные ходовые огни, блок кузовной электроники (Multiplex) |
| 4 | 10A Генератор, датчик положения распределительного вала (CMP) A, круиз-контроль, VSA OFF, датчик электрической нагрузки (ELD), система улавливания паров бензина (EVAP), клапан впускного коллектора (IMT), вторичный кислородный датчик (HO2S), датчик скорости (VSS) (M/T), система курсовой стабилизации (VSA), клапан изменения длины впускного коллектора (IMRC), блок управления ABS (’03-’04) |
| 5 | — |
| 6 | 7,5A Реле датчика соотношения воздух-топливо (A/F), реле люка, блок управления стеклоподъемниками, реле стеклоподъемников |
| 7 | 20A Реле люка |
| 8 | 7,5A Комбинация приборов, блок кузовной электроники (Multiplex), блокировка селектора коробки передач, аудиосистема |
| 9 | 7,5A Система определения занятости сиденья переднего пассажира, датчик определения веса переднего пассажира, задний стеклоочиститель, переключатель стеклоочистителя |
| 10 | 7,5A Реле ламп заднего хода (A/T), выключатель ламп заднего хода (M/T), комбинация приборов, ресивер ключа, блок кузовной электроники (Multiplex), противоугонная система, блок управления ABS (’02), реле блокировки селектора коробки передач (’02-’04) |
| 11 | — |
| 12 | 7,5A Дневные ходовые огни (DRL), блок кузовной электроники (Multiplex) |
| 13 | 10A Блок управления подушками безопасности (SRS) |
| 14 | 10A Реле муфты компрессора кондиционера, реле вентилятора кондиционера, реле отопителя, электропривод зеркал, реле вентилятора системы охлаждения, реле обогрева заднего стекла, режим рециркуляции воздуха, реле подогрева сидений, блок управления отопителем |
| 15 | 15A ’05-’06: Реле передней розетки |
| 20A ’02-’04: Реле датчика соотношения воздух-топливо (A/F) | |
| 16 | 20A Реле подогрева сидений |
| 17 | 15A Топливный насос, блок управления двигателем/ блок управления силовым агрегатом (ECM/PCM), индикатор отключенной подушки безопасности переднего пассажира, иммобилайзер, главное реле блока управления двигателем (PGM-FI Main) 2, блок управления подушками безопасности (SRS) |
| 18 | 15A Аудиосистема (’05-’06), передняя розетка, задняя розетка |
| 19 | 7,5A Аварийная сигнализация и указатели поворота |
| 20 | 20A Передний стеклоочиститель и омыватель, блок кузовной электроники (Multiplex) |
| 21 | — |
| 22 | 20A Стеклоподъемник переднего пассажира |
| 23 | 20A Стеклоподъемник водителя |
| 24 | 20A Задний левый стеклоподъемник |
| 25 | 20A Задний правый стеклоподъемник |
| Реле | |
| R1 | Стартер (A/T) |
| R2 | Габаритный свет |
| R3 | Стеклоподъемники |
| R4 | Аварийная сигнализация и указатели поворота |
Дополнительные элементы
Схема дополнительных реле в салоне

Назначение дополнительных реле
- Блок управления иммобилайзером (приемник)
- Реле подогрева сиденья
- Реле заднего хода автоматической коробки передач Реле датчика соотношения воздух-топливо (A / F)
- Модуль управления двигателем / модуль управления трансмиссией (ECM / PCM)
- Реле обогрева зеркала с электроприводом
- Реле блокировки переключения передач главного реле подогревателя сиденья (АКП )
- Реле разъема питания дополнительных устройств на задней панели
- Реле катушки зажигания Реле автоматической коробки передач заднего хода
- Главное реле PGM-FI №1
- Главное реле PGM-FI №2
Дополнительно, в задней части салона размещен отдельный блок для управления задним стеклоочистителем Honda CR-V 2.

Блоки под капотом
Расположение
В моторном отсеке Honda CR-V 2, рядом с аккумулятором, размещены два блока: главный блок предохранителей и реле под капотом, а также дополнительный блок предохранителей и реле.

Главный блок предохранителей и реле
Для доступа к главному блоку предохранителей под капотом снимите крышку. Внешний вид блока представлен ниже.

Схема главного блока под капотом

Расшифровка предохранителей
| 1 | 20A Реле муфты компрессора кондиционера, реле вентилятора конденсатора кондиционера |
| 2 | 30A 2005-2006: Реле датчика соотношения воздух-топливо (A / F), реле дневных ходовых огней (DRL), главное реле 1 PGM-FI, реле катушки зажигания, предохранители (моторный отсек): 31, 32, 33, 34 |
| 15A 2002-2004: Реле задних фонарей | |
| 3 | 15A Внутреннее освещение, Передний потолочный светильник, Замок зажигания / Ключевой свет, Задний потолочный светильник, Блок управления заднего стеклоочистителя, Прожекторы, Разъем A приемника XM, Прожекторы |
| 4 | 20A Реле вентилятора радиатора |
| 5 | 15A Выключатель аварийной сигнализации, разъем освещения прицепа |
| 6 | 15A 2005-2006: Реле задних фонарей |
| 10A 2002-2004: Главное реле 1 PGM-FI | |
| 7 | 15A Стоп-сигнал (переключатель положения педали тормоза), реле звукового сигнала |
| 8 | 15A 2005-2006: Реле блока управления исполнительным механизмом дроссельной заслонки |
| 9 | 10A Аудиосистема, Фонарь заднего хода, Разъем канала передачи данных (DLC), Узел датчика, Блок управления иммобилайзером, Блок приемника Keylees, Блок управления мультиплексом |
| 10 | 30A Система стабилизации автомобиля (VSA) / Блок управления модулятором ABS |
| 11 | 20A Реле обогревателя заднего стекла |
| 12 | 40A Реле электродвигателя вентилятора |
| 13 | 40A Реле электрического стеклоподъемника, предохранители (пассажирский отсек): 7, 23 |
| 14 | 40A Предохранители (в салоне): 2, 3, 5, 15, 16 |
| 15 | 20A Левая фара, блок управления дневными ходовыми огнями (ДХО), датчик в сборе, |
| 16 | 20A Блокировка двери с электроприводом, блок управления мультиплексированием |
| 17 | 20A Правая фара, блок управления дневными ходовыми огнями (ДХО) |
| 18 | 30A Система стабилизации автомобиля (VSA) / Блок управления модулятором ABS |
| 19 | 100A Аккумулятор, распределение питания |
| 20 | 50A Замок зажигания |
| 21 | — |
| 22 | — |
| 23 | — |
| 24 | — |
| 25 | — |
| Реле | |
| R1 | Левая фара |
| R2 | Правая фара |
| R3 | Двигатель вентилятора |
| R4 | Обогрев заднего стекла |
| R5 | Муфта компрессора кондиционера |
| R6 | Вентилятор радиатора |
| R7 | Сигнал |
| R8 | Вентилятор конденсатора кондиционера |
| R9 | Блок детектора электрической нагрузки (ELD) |
Дополнительный блок предохранителей и реле
Схема дополнительного блока под капотом

Расшифровка дополнительного блока
| 31 | 15А Реле катушки зажигания |
| 32 | 15А Главное реле PGM-FI 1 |
| 33 | 7,5А Реле дневных ходовых огней (ДХО) |
| 34 | 20А Реле датчика соотношения воздух-топливо (A / F) |
| Реле | |
| R1 | Управление приводом дроссельной заслонки |
| R2 | Датчик соотношения воздух — топливо (A / F) |
Есть дополнения к схемам предохранителей Honda CR-V 2 — оставляйте в комментариях.


