Honda Accord 7-го поколения производился в период с 2002 по 2008 годы, предлагая бензиновые моторы объемом 2.0 л, 2.4 л и дизельный вариант 2.2 л. В этой статье мы подробно разберем предохранители и реле Honda Accord 7, включая схемы расположения блоков, их фото и назначения. Особое внимание уделим предохранителю, отвечающему за прикуриватель и розетки, чтобы помочь с диагностикой электрики в Honda Accord седьмого поколения.

Назначение предохранителей и реле может отличаться в зависимости от года выпуска, комплектации и рынка. Рекомендуем проверять данные по схемам на крышках ваших блоков предохранителей Honda Accord 7.
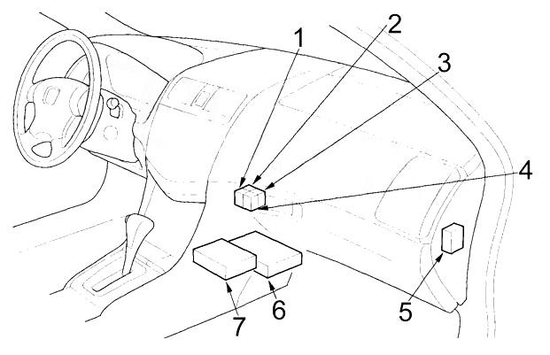
Блоки в салоне
Расположение
Общая схема расположения блоков предохранителей и реле в салоне

Описание элементов
- Основной блок предохранителей и реле в салоне Honda Accord 7
- Блок управления дневными ходовыми огнями (DRL Control Unit)
- Блок управления комбинированным переключателем
- ’03-’05: Контроллер круиз-контроля
Блок предохранителей и реле
Главный блок предохранителей и реле в интерьере Honda Accord 7 поколения размещен под приборной панелью, у левой стойки, за пластиковой крышкой для удобного доступа.

Пример схемы на крышке блока предохранителей

Схема блока в салоне

Расшифровка предохранителей и реле
| 1 | 15A Блок управления дроссельной заслонкой |
| 2 | 15A Реле катушек зажигания, катушки зажигания |
| 3 | 10A Реле дневных ходовых огней |
| 4 | 15A Датчик соотношения воздух/топливо (A/F), вторичные подогреваемые кислородные датчики (HO2S) (3.0L) |
| 5 | 10A Аудиосистема, XM ресивер (’04-’07) |
| 20A Аудиосистема | |
| 6 | 7,5A Освещение салона, освещение багажного отсека, лампы в дверях, подсветка зеркал в солнцезащитных козырьках, электрический насос системы охлаждения (Hybrid) |
| 7 | 10A Блок управления комбинированным переключателем, блок кузовной электроники в двери (MCU), комбинация приборов, блок управления иммобилайзером, блок управления навигацией, дисплей, блок кузовной электроники (MICU) |
| 8 | 20A Замок крышки багажника, блок кузовной электроники (MICU) |
| 9 | 15A 2.4L & 3.0L: Передняя розетка, задняя розетка |
| 20A Hybrid: Передняя розетка | |
| 10 | 7,5A Датчик определения веса переднего пассажира (’04-’05), система определения занятости сиденья переднего пассажира (OPDS/ODS), блок управления подушками безопасности |
| 11 | 30A Стеклоочиститель |
| 12 | 10A Разъем для подключения дополнительного оборудования, задний противотуманный свет |
| 13 | 20A Электропривод пассажирского сиденья (наклон спинки) |
| 7,5A Задний противотуманный свет | |
| 14 | 20A Электропривод водительского сиденья (продольное перемещение, регулировка по высоте) |
| 15 | 20A Подогрев сидений |
| 16 | 20A Электропривод водительского сиденья (наклон спинки) |
| 17 | 20A Электропривод водительского сиденья (продольное перемещение) |
| 18 | 15A 2.4L: Генератор, датчик положения распредвала (CMP) A, блок управления круиз-контролем, датчик электрической нагрузки (ELD), соленоид подушек двигателя, система улавливания паров бензина (EVAP), датчик массового расхода воздуха, вторичный подогреваемый кислородный датчик (HO2S) |
| 15A 3.0L: Генератор, датчик электрической нагрузки (ELD), соленоид подушек двигателя, система улавливания паров бензина (EVAP), подогреваемый кислородный датчик (HO2S), блок управления двигателем (PCM) | |
| 15A 2.0L: Генератор, датчик электрической нагрузки (ELD), вторичный подогреваемый кислородный датчик (HO2S), блок управления круиз-контролем, соленоид подушек двигателя, датчик положения распредвала (CMP) | |
| 15A Hybrid: ABS/TCS (’05), VSA (’06-’07), блок управления активными подушками двигателя (ACM), реле ACM, датчик соотношения воздух/топливо (A/F), генератор, датчик электрической нагрузки (ELD), соленоид подушек двигателя, дополнительный масляный насос коробки передач (ATFP), система улавливания паров бензина (EVAP), Idle Stop Switch, вторичный подогреваемый кислородный датчик (HO2S), блок управления двигателем (PCM), блок управления силовой установкой (MCM) | |
| 19 | 15A Блок управления двигателем (ECM/PCM), блок управления иммобилайзером (ресивер), топливный насос, реле блока управления двигателем (PGM-FI) №2 |
| 20 | 7,5A Омыватель лобового стекла, корректор света фар, задний стеклоочиститель и омыватель, датчик дождя, реле открывания люка, реле закрывания люка |
| 21 | 7,5A Лампы заднего хода, блок управления комбинированным переключателем, блок кузовной электроники в двери (MCU), блок кузовной электроники (MICU), комбинация приборов, блок управления навигацией, Relay Control Module, индикатор отключенной подушки безопасности переднего пассажира (’04-’06), соленоид блокировки селектора (A/T), электроусилитель рулевого управления — EPS (Hybrid), блок управления электроприводом задней двери |
| 22 | 10A Блок управления подушками безопасности |
| 23 | 7,5A Реле датчика соотношения воздух/топливо (A/F), блок управления двигателем (ECM/PCM), блок управления вентилятором системы охлаждения двигателя (3.0L) |
| 24 | 20A Задний левый стеклоподъемник |
| 25 | 20A Задний правый стеклоподъемник |
| 26 | 20A Стеклоподъемник переднего пассажира |
| 27 | 20A Стеклоподъемник водителя |
| 28 | 20A Люк |
| 29 | 7,5A Hybrid: Привод компрессора кондиционера |
| 7,5A Корректор света фар | |
| 30 | 7,5A Реле муфты компрессора кондиционера, панель управления отопителем и кондиционером, реле отопителя, реле вентилятора кондиционера, подогрев зеркал, электропривод зеркал, реле вентилятора системы охлаждения, система рециркуляции воздуха, реле подогрева сидений, привод переключения забора воздуха, реле обогревателя заднего стекла, реле отопителя, реле вентилятора системы охлаждения двигателя, блок управления двигателем |
| 31 | IG OP 2 |
| 32 | 7,5A Аудиосистема, реле розеток, блок управления навигацией, дисплей, система активного шумоподавления |
| 33 | HAC OP |
| 51 | 7,5A Hybrid: Стартер, блок управления двигателем (PCM) |
| 52 | 20A Hybrid: Задняя розетка |
| 53 | 10A Hybrid: Реле №2 блока управления силовой установкой |
| 54 | 15A Hybrid: Реле активных подушек двигателя (ACM) |
| Реле в блоке салона | |
| R1 | Указатели поворота / аварийная сигнализация |
| R2 | Катушки зажигания |
| R3 | Блок управления двигателем (реле №1) |
| R4 | Розетки (прикуриватель) |
| R5 | Блок управления двигателем (топливный насос) (реле №2) |
| R6 | Стеклоподъемники |
| R7 | Датчик соотношения воздух/топливо (A/F) |
| R8 | Стартер |
Предохранитель №9 отвечает за функционирование прикуривателя и розеток в Honda Accord 7.
Дополнительные элементы
Схема дополнительных блоков

Назначение компонентов
- Реле дроссельной заслонки
- Реле подогрева сидений
- Hybrid: Реле задней розетки
- Hybrid: Реле активных подушек двигателя (ACM)
- Hybrid: Блок управления электроусилителем рулевого управления (EPS)
2.4L (’06-’07), 3.0L: Блок управления дроссельной заслонкой - Блок управления двигателем (ECM/PCM) ECM — M/T; PCM — A/T
- Блок управления подушками безопасности
Дополнительная схема

Расшифровка элементов
- Седан: Реле открытия люка
- Седан: Реле закрытия люка
- Hybrid: Реле блока управления силовой установкой (MCM) (реле №1)
- Hybrid: Реле блока управления силовой установкой (MCM) (реле №2)
- кроме Hybrid: XM ресивер
- Hybrid: Блок управления силовой установкой (MCM)
кроме Hybrid: Блок управления навигацией - Hybrid: Блок управления топливным насосом
Блоки под капотом
Расположение
Схема расположения блоков в моторном отсеке Honda Accord 7

Обозначение блоков под капотом
- Блок реле №2
- Блок управления ABS/TCS или VSA
- Блок реле №1
- Основной блок предохранителей и реле в моторном отсеке
Блок реле №2
Этот блок реле доступен исключительно в гибридных версиях Honda Accord 7.
Схема блока

Описание
| 34 | 7,5A Блок управления силовой установкой (MCM), реле №1 MCM |
| 35 | — |
| Реле | |
| R1 | Управление вентилятором |
| R2 | Электрический насос охлаждающей жидкости |
| R3 | Дневные ходовые огни |
Блок реле №1
Схема блока

Обозначение
| 36 | 40A Предохранитель (блок реле №2 в моторном отсеке): № 34, предохранители: 53, 54 |
| 37 | 30A Дополнительный масляный насос коробки передач (ATFP) |
| Реле | |
| R1 | Hybrid: Дополнительный масляный насос коробки передач (ATFP) |
| 3.0L (USA): Управление вентилятором | |
| 3.0L: Дневные ходовые огни | |
| R2 | 2.4L: Дневные ходовые огни |
| 3.0L: Управление вентилятором | |
Блок предохранителей и реле
Фото блока в моторном отсеке

Схема на крышке блока предохранителей под капотом

Полная схема блока

Назначение предохранителей под капотом
| 1 | 10A Левая фара (ближний свет) |
| 2 | 30A Обогрев заднего стекла |
| 3 | 10A Левая фара (дальний свет) |
| 4 | 15A Габаритный свет, подсветка панели приборов, подсветка салона, освещение перчаточного ящика, освещение номерного знака, подсветка положения селектора |
| 5 | 10A Правая фара (дальний свет) |
| 6 | 10A Правая фара (ближний свет) |
| 7 | 7,5A Лампы заднего хода |
| 8 | 15A Датчик положения распредвала (CMP) B, датчик положения коленчатого вала (CKP), блок управления двигателем (ECM/PCM), регулирующий клапан холостого хода (IAC), форсунки, датчик массового расхода воздуха, реле блока управления двигателем (PGM-FI), диагностический разъем (DLC), реле дроссельной заслонки |
| 9 | 20A Вентилятор кондиционера, реле вентилятора кондиционера |
| 10 | 20A Противотуманный свет |
| 11 | 20A 2.4L, 2.0L: Вентилятор системы охлаждения, реле вентилятора системы охлаждения |
| 30A 3.0L, Hybrid: Вентилятор системы охлаждения, реле вентилятора системы охлаждения | |
| 12 | 7,5A Муфта компрессора кондиционера, реле муфты компрессора кондиционера |
| 30A Блок управления омывателями фар | |
| 13 | 20A Лампы стоп-сигнала, ABS/TCS (’03-’05), система курсовой стабилизации (VSA) (’06-’07), блок управления двигателем (ECM/PCM), дополнительный стоп-сигнал, подсветка замка зажигания, блок кузовной электроники (MICU), звуковой сигнал |
| 14 | 40A Обогрев заднего стекла, усилитель антенны AM/FM, реле обогрева заднего стекла |
| 15 | 40A Предохранители (блок предохранителей в салоне): № 5, 6, 7, 8, 9; предохранитель (блок предохранителей в моторном отсеке): № 7 |
| 16 | 15A Реле указателей поворота и аварийной сигнализации |
| 17 | 30A ABS/TCS или система курсовой стабилизации (VSA) |
| 18 | 20A ’03-’05: ABS/TCS |
| 40A ’06-’07: Система курсовой стабилизации (VSA) | |
| 19 | 40A Предохранители (блок предохранителей в салоне): № 1, 2, 3, 4 |
| 20 | 40A Предохранители (блок предохранителей в салоне): № 12, 14, 15, 16, 17 |
| 21 | 40A Отопитель, реле отопителя |
| 22 | 100A 2.0L, 2.4L & 3.0L: Главный предохранитель |
| 120A Hybrid: Главный предохранитель | |
| 70A Hybrid: Блок управления электроусилителем рулевого управления (EPS) | |
| 23 | 50A Замок зажигания |
| 50A Реле стеклоподъемников. предохранители (блок предохранителей в салоне): № 24, 25, 26, 27, 28 | |
| Реле под капотом | |
| R1 | Вентилятор системы охлаждения двигателя |
| R2 | Вентилятор кондиционера |
| R3 | Обогрев заднего стекла |
| R4 | Муфта компрессора кондиционера |
| R5 | Отопитель |
Вот и весь обзор предохранителей и реле для Honda Accord 7 поколения. Если есть идеи по дополнению статьи о схемах электрики, делитесь в комментариях.


