Honda Accord шестого поколения выпускалась в период с 1997 по 2002 год, включая модели 1997, 1998, 1999, 2000, 2001 и 2002 годов. Автомобиль поставлялся на глобальные рынки. В ряде регионов он известен как Honda Torneo. В этой статье мы подробно рассмотрим распиновку предохранителей и реле для Honda Torneo (Accord 6), с схемами блоков, фотографиями различных вариантов и указанием расположения электронных блоков управления. Особо выделим предохранитель, отвечающий за прикуриватель и розетку в Honda Accord 1998-2002.

Версии для европейского, японского и американского рынков отличаются кузовами и некоторыми техническими особенностями. Поэтому назначение предохранителей и реле может варьироваться. Рекомендуем проверять данные по схемам на крышках ваших блоков предохранителей Honda Accord 6.
Блоки предохранителей в салоне
Расположение блоков
Общая схема размещения блоков в интерьере

Описание компонентов
- Основной блок предохранителей №1
- 2.3L: Модуль управления двигателем
- Блок электроники кузова со стороны водителя (MICU)
- Реле закрывания люка
- Реле открывания люка
- Реле ECU двигателя
- Контроллер круиз-контроля
- Блок управления дневными ходовыми огнями (DRL)
- M/T: Электронный блок управления двигателем (ECM)
A/T: Блок управления двигателем и АКПП (PCM) - Модуль подушек безопасности SRS
Дополнительные электронные модули

Обозначения
- Блок предохранителей №2
- Реле прерывания дальнего света фар (DRL)
2.3L: Реле сенсора воздух-топливо (A/F) для ULEV - Реле габаритных фонарей
- Приемник иммобилайзера
Блок предохранителей №1 в салоне
Первый блок предохранителей расположен в салоне, на левом конце приборной панели, за пластиковой крышкой. Для доступа снимите крышку.
Пример на фото

Схема блока №1

Назначение предохранителей
| 1 | 15A Топливный насос, реле ECU двигателя, модуль SRS безопасности |
| 2 | 10A Модуль подушек безопасности SRS |
| 3 | 7,5A Панель климат-контроля, заслонки воздуха, обогрев, вентиляторы, подогрев сидений и заднего стекла |
| 4 | 7,5A ECU ABS/TCS/VSA, зеркала с подогревом и электрорегулировкой |
| 5 | 7,5A Модуль SRS с DRL |
| 6 | 15A Система зарядки АКБ, круиз-контроль, ECU гидравлики, приборная панель, EVAP, VSS (M/T), ECM/PCM, ELD, HO2S (V6) |
| 7 | 7,5A Стеклоочистители, OPDS, SRS, MICU водителя |
| 10A Задний омыватель, реле стеклоподъемников и люка | |
| 8 | 7,5A Реле розетки прикуривателя, разъем R, TV, блокировка АКПП (A/T) |
| 9 | 7,5A Задние фонари хода, датчик стопов, часы, MICU, DRL, приборы, иммобилайзер, блокировка АКПП, прицеп |
| 10A Задние фонари, приборы, датчик тормозов, преднатяжители, MICU | |
| 10 | 7,5A Реле аварийки и поворотников |
| 11 | 15A Катушки зажигания |
| 12 | 30A Стеклоочиститель (купе), MICU (купе) |
| 13 | 7,5A Стартер, ECM/PCM, реле ECU |
На обратной стороне блока могут быть установлены дополнительные реле для Honda Accord 6.
Схема реле

Расшифровка реле
- R1 — Реле стартера
- R2 — А/Т Задние фонари хода
- R3 — Аварийная сигнализация и поворотники
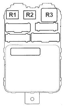
Блок предохранителей №2 в салоне
Второй блок предохранителей размещен на левом конце приборной панели, за той же крышкой. Внешний вид примерно такой.

Схема блока №2

Назначение предохранителей №2
| 1 | 30A Электропривод люка |
| 2 | 20A Электрорегулировка сиденья (продолжение, высота, спинка) |
| 20A Усилитель звука аудиосистемы | |
| 3 | 20A Продольная регулировка водительского сиденья |
| 4 | 20A Регулировка сиденья по высоте и продольно |
| 5 | 20A Наклон спинки сиденья |
| 20A Противотуманные фары спереди | |
| 6 | 10A ECU DRL |
| 20A Реле O2-сенсора (ULEV) | |
| 7 | 20A Левый задний стеклоподъемник, реле люка |
| 8 | 20A Пассажирский передний стеклоподъемник |
| 9 | 20A Прикуриватель/розетка, аудиосистема |
| 15A Прикуриватель/розетка, аудиосистема | |
| 10 | 10A Седан: Габариты, номер, подсветка, салон, часы, перчатка, прицеп, MICU |
| 15A Купе: Габариты, номер, подсветка, салон, часы, перчатка, прицеп, MICU | |
| 11 | 7,5A Подсветка салона, дверные лампы, багажник |
| 12 | 20A Центральный замок, MICU водителя |
| 13 | 7,5A Климат-контроль, часы, приборы, обогрев, MICU, ECM/PCM, иммобилайзер, TV, навигация |
| 14 | 7,5A ECU ABS/TCS/VSA |
| 15 | 20A Водительский стеклоподъемник, MICU |
| 16 | 20A Правый задний стеклоподъемник |
Предохранитель №9 отвечает за функционирование прикуривателя в Honda Torneo / Accord 6.
На задней стороне блока также могут размещаться реле для различных систем.
Схема реле №2

Обозначение реле
- R1 — Стеклоподъемники
- R2 — Розетка прикуривателя
- R3 — Обогрев заднего стекла
Блоки под капотом Honda Accord 6
Расположение
Схема размещения подкапотных блоков

Назначение
- Блок реле
- Основной блок предохранителей и реле
- Реле стеклоочистителя
Блок реле под капотом
Схема

Расшифровка
| R1 | Насос ABS |
| R2 | TCS или VSA |
| Подогрев сидений | |
| R3 | ABS Fail-Safe |
Основной блок предохранителей и реле под капотом
Главный подкапотный блок предохранителей и реле установлен справа от двигателя в Honda Torneo / Accord 6.
Фото блока

Схема подкапотного блока

Назначение
| 41 | 100A Аккумулятор |
| 42 | 50A Замок зажигания |
| 43 | 20A Правая фара (дальний/ближний), DRL |
| 44 | — |
| 45 | 20A Левая фара (дальний/ближний), DRL, реле дальнего света, индикатор |
| 46 | 15A DLC, реле PGM-FI ECU |
| 47 | 20A Стоп-сигналы, ABS/VSA, круиз, сигнал, подсветка замка, соленоид АКПП, ECM/PCM |
| 15A Стопы, ABS, доп. стоп, сигнал, подсветка, соленоид, ECM/PCM, тормоза, MICU | |
| 48 | 20A ECU ABS/TCS/VSA |
| 49 | 15A Реле аварийки и поворотников |
| 10A Реле аварийки и поворотников | |
| 50 | 30A Реле ABS-насоса, предохранитель салон №2: 14 |
| 51 | 40A Реле стеклоподъемников, салон №2: 1,7,8,15,16 |
| 52 | 20A Реле TCS |
| 53 | 40A Реле обогрева стекла |
| 30A Реле обогрева стекла | |
| 54 | 40A Салон №2: 9,10,11,12,13 |
| 55 | 40A Салон №2: 2,3,4,5,6 |
| 30A Салон №2: 3,5 | |
| 56 | 40A Реле отопителя |
| 57 | 20A Вентилятор охлаждения |
| 58 | 20A Компрессор А/С, вентилятор А/С, ECU V6 |
| 59 | 20A Подогрев сидений |
| 20A VSA | |
| Реле | |
| R1 | Фара №1 |
| R2 | Фара №2 |
| R3 | Гудок |
| R4 | Вентилятор А/С |
| R5 | Отопитель |
| R6 | Вентилятор охлаждения |
| R7 | Компрессор А/С |
Если есть дополнения по предохранителям Honda Accord 6 или Torneo, оставляйте в комментариях.


