Daewoo Nubira выпускается в трех поколениях с 1997 года и продолжает производство в наши дни. Первое поколение Daewoo Nubira собиралось в 1998-1999 годах, а второе поколение — в 2000, 2001 и 2002 годах. В этой статье мы подробно разберем расположение и функции блоков предохранителей и реле для Daewoo Nubira 1 и 2 поколений, включая схемы предохранителей Daewoo Nubira, фотографии блоков, распиновку и замену, с акцентом на предохранитель прикуривателя Daewoo Nubira.

Блок предохранителей в салоне Daewoo Nubira
Расположен под торпедо со стороны водителя, за пластиковой защитной крышкой. Это основной блок предохранителей салона Daewoo Nubira для защиты электрических цепей.

На задней стороне крышки обычно указана схема предохранителей Daewoo Nubira с обозначениями.

Всегда проверяйте назначение предохранителей по вашей собственной схеме Daewoo Nubira для точности!
Фото — схема блока предохранителей в салоне

Распиновка и описание предохранителей салона Daewoo Nubira
| 1 | 10/15А Блок управления, Аудио, Часы, Датчик ключа зажигания |
| 2 | 10А Электронное противоугонное устройство, Круиз-контроль, Диагностика |
| 3 | 15А Предупреждение об опасности, Иммабилайзер |
| 4 | 20/25А Система стеклоочистителей, Система дневного света (DRL) |
| 5 | 10А Панель приборов, ABS, Зуммер, Переключатель передачи, Блок автоматического контроля температуры (АТС), Задние противотуманные фары |
| 6 | 10А Кондиционирование воздуха, Обогрев заднего ветрового стекла |
| 7 | 10А Фонарь заднего хода |
| 8 | 20А Прикуриватель, Внутреннее освещение, Сиденья с подогревом |
| 9 | 10А Аудио система, Часы, Переключатель блокировки коробки передач |
| 10 | 15А Блок автоматического контроля температуры (АТС), Часы, Система безопасности |
| 11 | 10А Внутреннее освещение, Сигналы поворота, Аварийная сигнализация |
| 12 | 10А Электронное противоугонное устройство 25А Система стеклоочистителей |
| 13 | 15А Система безопасности, Датчик скорости |
| 14 | 10А DLC, Задний ход, Круиз-контроль, Кондиционирование воздуха |
| 15 | 15А Подушки безопасности, Обогрев заднего ветрового стекла, Реле зажигания 2 |
| 16 | 15/20А Люк |
| 17 | 10А АБС, ESP |
| 18 | 10А Панель приборов |
| 19 | Запасные |
| 20 | Запасные |
Предохранитель прикуривателя Daewoo Nubira — это номер 8 номиналом 20А, отвечающий за розетку прикуривателя и связанные цепи.
Вблизи блока могут быть установлены дополнительные реле, такие как реле ABS и реле вентилятора обогревателя для Daewoo Nubira.
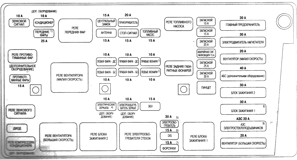
Блок предохранителей под капотом Daewoo Nubira
Монтируется в моторном отсеке около аккумулятора, прикрыт защитной крышкой. Этот блок отвечает за силовые цепи и основные системы автомобиля.
Фото — пример блока под капотом Daewoo Nubira

Схема предохранителей под капотом Daewoo Nubira

Общая схема блока под капотом Daewoo Nubira

Обозначение предохранителей и реле под капотом Daewoo Nubira
| 1 | 30А Главный предохранитель для предохранителей 1 — 5 |
| 2 | 30А Электродвигатель нагнетателя воздуха |
| 3 | 20А Вентилятор охлаждения, первая скорость |
| 4 | 60А ABS, ESP |
| 5 | 30А Замок зажигания 2 |
| 6 | 30А Замок зажигания 1 |
| 7 | 20А Стеклоподъемники |
| 8 | 20А Вентилятор охлаждения, вторая скорость |
| 9 | 10А Не используется |
| 10 | 15А Не используется |
| 11 | 20А Не используется |
| 12 | 15А Аварийная сигнализация |
| 13 | 25А Не используется |
| 14 | 30А Не используется |
| 15 | 30А Обогрев заднего ветрового стекла |
| 16 | 20А DIS |
| 17 | 15А Система впрыска |
| 18 | Резерв |
| 19 | 15А Топливный насос |
| 20 | 10А Правый наружный свет (ы) |
| 21 | 10А Левый наружный свет (ы) |
| 22 | 15А Электронный блок управления |
| 23 | 20А Стоп-сигналы |
| 24 | 20А Электропривод сидений |
| 25 | 10А Правый дальний свет |
| 26 | 10А Правый ближний свет |
| 27 | 10А Зеркало с подогревом |
| 28 | 15А Центральный замок |
| 29 | 15А Антенна |
| 30 | 10А Левый дальний свет |
| 31 | 10А Левый ближний свет |
| 32 | 10А Электропривод зеркал |
| 33 | 10А Кондиционирование воздуха |
| 34 | 25А Фары |
| 35 | 10А Сигнал |
| 36 | Резерв |
| 37 | 15А Противотуманные фары |
| R1 | Фары |
| R2 | Топливный насос |
| R3 | Передние противотуманные фары |
| R4 | Вентилятор охлаждения, первая скорость |
| R5 | Задние фонари |
| R6 | Сигнал |
| R7 | |
| R8 | Кондиционирование воздуха |
| R9 | Вентилятор охлаждения, вторая скорость |
| R10 | Замок зажигания 2 |
| R11 | Обогрев заднего ветрового стекла |
| R12 | Замок зажигания 1 |
| D | Диод — кондиционер |


