Mercedes-Benz W205 — это четвертое поколение компактных седанов C-класса от престижного немецкого производителя Mercedes-Benz. Модель производилась в период с 2014 по 2021 год, включая годы 2014, 2015, 2016, 2017, 2018, 2019, 2020 и 2021, с разнообразными типами кузовов: седан W205, универсал S205, купе C205 и кабриолет A205. За время выпуска автомобиль претерпел обновление (рестайлинг). В этой статье мы подробно разберем предохранители и реле Mercedes W205, включая схемы блоков предохранителей, иллюстрации различных конфигураций, местоположение компонентов, а также выделим предохранитель, отвечающий за прикуриватель и розетки 12V.

Конфигурация блоков предохранителей и функций их элементов может варьироваться в зависимости от даты производства и комплектации вашего Mercedes W205.
Расположение блоков предохранителей в салоне
Блок предохранителей в торце приборной панели
В интерьере автомобиля основной блок предохранителей и реле Mercedes W205 размещен в левой части приборной панели (со стороны водителя), скрытый за пластиковой заглушкой.

Расшифровка схемы

Расшифровка предохранителей
| 200 | 50A Передний блок управления SAM |
| 201 | 40A Передний блок управления SAM |
| 202 | 5A Сирена сигнализации |
| A205: Блок управления EDW/защитой от буксировки/системой охраны салона | |
| 203 | 20A Действительно для а/м с КП 716: Блок управления электрической блокировкой рулевой колонки |
| 204 | 5A Диагностический разъем |
| 205 | 7,5A Блок управления электронным замком зажигания |
| 206 | 5A Аналоговые часы |
| 207 | 15A Блок управления системой отопления, вентиляции и кондиционирования |
| 208 | 7,5A Комбинация приборов |
| 209 | 5A Панель управления системой кондиционирования |
| Блок управления верхней блок-панели управления | |
| 210 | 5A Сигналы с блока управления электронным модулем рулевой колонки |
| 211 | 25A AMG: Сигналы с блока управления электронной системой стабилизации движения ESP |
| 212 | 5A Переключатель антенны для телефона и автономного отопителя |
| 213 | 5A Сигналы с блока управления электронной системой стабилизации движения ESP |
| 214 | 30A AMG: Блок управления электрическим стояночным тормозом |
| 215 | Резерв |
| 216 | 7,5A Плафон освещения перчаточного ящика |
| 217 | 5A Японии: Блок управления передачи данных о дорожных сборах в стандарте DSRC |
| 218 | 7,5A Блок управления системой удержания пассажиров (Supplemental Restraint System) |
| 219 | 5A Блок управления Weight Sensing System |
| 220 | Резерв |
| Реле | |
| F | Реле клеммы 15R |
Блок высокомощных предохранителей в салоне
Дополнительный блок мощных предохранителей Mercedes W205 может быть установлен в области ног переднего пассажира.

Расшифровка схемы

Расшифровка элементов
- Блок силовых предохранителей моторного отсека
- 150A Hybrid: Реле дополнительной АКБ функции ECO Start-Stop
- 40A Регулятор вентилятора
- Резерв
- 150A На а/м с дизельным двигателем: Дополнительный электроподогреватель
- 80A Блок предохранителей стойки A справа
- 150A Модуль предохранителей и реле в задней части салона
- Резерв
- Резерв
- 60A Действительно для а/м с коробкой передач 725: Блок управления полностью интегрированной системой управления коробкой передач 100A Hybrid с коробкой передач 724: Блок управления полностью интегрированной системой управления коробкой передач
- Резерв
- 40A Модуль предохранителей и реле в задней части салона
- 50A Блок предохранителей стойки A справа
- F32/4k2 — Реле отключения тока покоя
Местоположение дополнительных компонентов

- F96 — Предохранители клеммы 30 дополнительной АКБ
- F96/1 — Предохранители клеммы 87 заслонки в выпускном тракте
Блок под приборной панелью
Под приборной панелью со стороны переднего пассажира, на стойке A, за защитной панелью установлен еще один блок предохранителей Mercedes W205.

Иллюстрация расположения

Расшифровка схемы

Обозначения
| 301 | 5A Hybrid: Пиропредохранитель (F63) посредством устройства для отключения высоковольтной сети |
| 302 | 30A Блок управления передней правой дверью |
| 303 | 30A W205, S205, V205: Блок управления задней левой дверью |
| A205, C205: Блок управления системами задней части салона | |
| 304 | 20A Действительно для а/м с КП 722: Модуль сервопривода АКП для системы DIRECT SELECT |
| 305 | 30A Блок управления сиденьем водителя |
| Блок управления подогревом сиденья водителя (до 31.05.2015) | |
| Блок управления подогревом передних сидений (с 01.06.2015) | |
| 306 | 30A Блок управления сиденьем переднего пассажира |
| Блок управления подогревом сиденья переднего пассажира (до 31.05.2015) | |
| Блок управления подогревом передних сидений (с 01.06.2015) | |
| 307 | 5A AMG: Блок управления активными опорами двигателя |
| 308 | 30A США: Электрическое штекерное соединение функции Elektric-Brake-Control |
| 309 | 10A Блок управления системой аварийного вызова |
| 5A Блок управления HERMES | |
| Коммуникационный модуль телекоммуникационных служб | |
| 310 | 20A AMG: Блок управления активными опорами двигателя |
| 311 | 10A Электронный регулятор дополнительного вентилятора в задней части салона |
| 312 | 10A Потолочная блок-панель управления |
| 313 | 10A Hybrid: Блок управления силовой электроники |
| 314 | 5A AMG: Блок управления электронным дифференциалом |
| 315 | 5A Блок управления трансмиссией |
| На а/м с дизельным двигателем: Блок управления CDI | |
| На а/м с бензиновым двигателем: Блок управления ME | |
| 316 | 7,5A Блок управления системой удержания пассажиров (Supplemental Restraint System) |
| 317 | 30A Модуль управления панорамным сдвижным люком (панорамная крыша со сдвижным люком) |
| Модуль управления сдвижного люка (сдвижной люк) | |
| 318 | 20A Блок управления автономным отопителем |
| 319 | 5A Hybrid: Высоковольтная система электрического отопителя |
| 320 | 25A Блок управления AIRMATIC |
| Блок управления системой адаптивной амортизации | |
| 321 | 5A Японии: Блок управления передачей данных о дорожных сборах в стандарте DSRC |
| 322 | 20A Головное устройство |
| 323 | 5A Блок управления системой помощи при парковке |
| MF1/1 | 7,5A Дисплей аудиосистемы/ COMAND |
| Электродвигатель вентилятора аудиоустройства (COMAND APS) | |
| MF1/2 | 7,5A Мультифункциональная камера Mono |
| Мультифункциональная стерео-камера | |
| MF1/3 | 7,5A Датчик дождя и освещенности с дополнительными функциями |
| W205, S205, V205: Потолочная блок-панель управления | |
| MF1/4 | 7,5A Блок управления сиденьем водителя |
| Блок управления подогревом сиденья водителя (до 31.05.2015) | |
| Блок управления подогревом передних сидений (с 01.06.2015) | |
| MF1/5 | 7,5A Блок управления сиденьем переднего пассажира |
| Блок управления подогревом сиденья переднего пассажира (до 31.05.2015) | |
| Блок управления подогревом передних сидений (с 01.06.2015) | |
| MF1/6 | 7,5A Сигналы с блока управления электронным модулем рулевой колонки |
| MF2/1 | 5A Реверсивный натяжитель переднего левого ремня безопасности |
| MF2/2 | 5A Панель управления аудиосистемой/COMAND |
| Сенсорная панель (радиоприемник Audio 20 или COMAND APS) | |
| MF2/3 | 5A Реверсивный натяжитель переднего правого ремня безопасности |
| MF2/4 | 5A Проекционный дисплей |
| MF2/5 | 5A Модуль подключения мультимедийных устройств |
| MF2/6 | 5A Hybrid: Электрический компрессор кондиционера |
| MF3/1 | 5A Провод обратного считывания клеммы 30g переднего блока управления SAM |
| MF3/2 | 5A Блок управления радарными датчиками |
| MF3/3 | Резерв |
| MF3/4 | 5A Блок кнопок на панели приборов со стороны водителя |
| MF3/5 | 5A Панель управления системой кондиционирования воздуха в задней части салона |
| MF3/6 | 5A Блок управления системой контроля давления в шинах |
Блоки предохранителей в моторном отсеке
Основной блок предохранителей и реле под капотом
В моторном отсеке Mercedes W205 слева под капотом размещен ключевой блок с предохранителями и реле.

Расшифровка схемы

Функции предохранителей
| 100 | 40A Hybrid: Вакуумный насос |
| 101 | 15A Кроме AMG: Концевая кабельная муфта клеммы 87/2 |
| 20A AMG: Концевая кабельная муфта клеммы 87/2 | |
| 102 | 20A Кроме AMG: Концевая кабельная муфта клеммы 87/1 |
| 25A AMG: Концевая кабельная муфта клеммы 87/1 | |
| 103 | 15A Кроме AMG: Концевая кабельная муфта клеммы 87/4 |
| 20A AMG: Концевая кабельная муфта клеммы 87/4 | |
| 104 | 15A Кроме AMG: Концевая кабельная муфта клеммы 87/3 |
| 20A AMG: Концевая кабельная муфта клеммы 87/3 | |
| 105 | 15A Действительно для а/м с редуктором 722.9 (кроме 722.930): Блок управления дополнительным масляным насосом трансмиссионного масла |
| 106 | Резерв |
| 107 | 60A Действительно для двигателя 274.9: Электрический насос системы охлаждения |
| 108 | 20A Светодиодные фары статического освещения: |
| Передняя правая блок-фара | |
| Светодиоды High Performance или светодиодные фары динамического освещения: | |
| Передняя левая блок-фара | |
| Передняя правая блок-фара | |
| 109 | 30A Электродвигатель стеклоочистителя |
| 110 | 20A Светодиодные фары статического освещения: |
| Передняя левая блок-фара | |
| Светодиоды High Performance или светодиодные фары динамического освещения: | |
| Передняя левая блок-фара | |
| Передняя правая блок-фара | |
| 111 | 30A Стартер |
| 112 | 15A Hybrid: Датчик положения педали газа |
| 113 | Резерв |
| 114 | 40A Компрессор AIRMATIC |
| 115 | 15A Звуковой сигнал слева и звуковой сигнал справа |
| 116 | Резерв |
| 117 | Резерв |
| 118 | 5A Hybrid: Сигналы с блока управления электронной системой стабилизации движения ESP |
| 119 | 15A Концевая кабельная муфта клеммы 87 C2 |
| 120 | 5A Кроме AMG: Концевая кабельная муфта клеммы 87 C1 |
| 15A AMG: Концевая кабельная муфта клеммы 87 C1 | |
| 121 | 5A Сигналы с блока управления электронной системой стабилизации движения ESP |
| 122 | 5A Реле CPC |
| 123 | Резерв |
| 124 | Резерв |
| 125 | 5A Передний блок управления SAM |
| 126 | 5A Блок управления трансмиссией |
| На а/м с дизельным двигателем: Блок управления CDI | |
| На а/м с бензиновым двигателем: Блок управления ME | |
| 127 | 5A Hybrid: Ограничитель падения напряжения |
| 128 | 5A Передняя левая блок-фара и переключатель наружного освещения |
| 129 | 30A Hybrid: Реле клеммы 50 стартера |
| 129A | 30A Hybrid: Реле клеммы 50 стартера |
| Реле | |
| G | Реле клеммы 15, моторный отсек |
| H | Реле клеммы 50 стартера |
| I | Hybrid: Реле вакуумного насоса (+) |
| J | Реле CPC |
| K | Действительно для а/м с редуктором 722.9 (кроме 722.930): Реле масляного насоса |
| L | Реле звукового сигнала |
| M | Реле подогрева щеток стеклоочистителя |
| N | Реле клеммы 87M |
| O | Hybrid: Реле клеммы 15 стартера |
| P | Действительно для двигателя 274.9: Реле насоса системы охлаждения |
| Q | Hybrid: Реле вакуумного насоса (-) |
| R | Реле AIRMATIC |
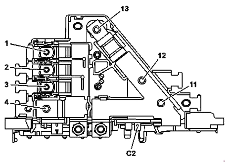
Блок высокомощных предохранителей под капотом
Иллюстрация блока

Вариант 1
Расшифровка схемы

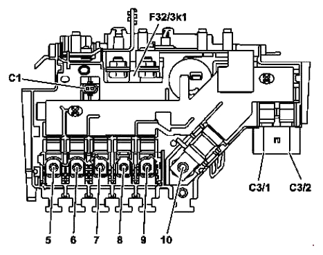
Вариант 2
Расшифровка схемы

Общая расшифровка
| 1 | Резерв |
| 2 | 100A На а/м с дизельным двигателем: Модуль выходного каскада свечей накаливания |
| 3 | 60A Модуль предохранителей и реле двигателя |
| 4 | Разъем аккумуляторной батареи бортовой сети |
| 5 | 150A Модуль предохранителей и реле двигателя |
| 6 | 125A Модуль предохранителей и реле, слева |
| 7 | 80A Электродвигатель вентилятора |
| 8 | 125A Блок управления электроусилителем рулевого управления |
| 9 | 150A Электродвигатель вентилятора (1000 Вт) |
| 10 | 200A Блок силовых предохранителей в салоне |
| 11 | Резерв |
| 12 | Hybrid: Блок управления силовым электронным оборудованием |
| США: Блок управления нагревателем катализатора | |
| 13 | 400A Генератор |
| C1 | Hybrid: Реле расцепления |
| C2 | Hybrid: Клемма 31 |
| C3/1 | 40A Сигналы с блока управления электронной системой стабилизации движения ESP |
| C3/2 | 60A Сигналы с блока управления электронной системой стабилизации движения ESP |
| F32/3k1 | Разделительное реле |
Блок предохранителей в багажном отделении
Дополнительный блок с предохранителями и реле Mercedes W205 расположен в багажнике, за обшивкой.

Вариант 1
Расшифровка схемы

Вариант 2
Расшифровка схемы

Расшифровка
| 400 | 25A Блок управления AdBlue® |
| 401 | 15A Блок управления AdBlue® |
| 402 | 20A Блок управления AdBlue® |
| 403 | 30A До 30.11.2015 г.: Переключатель частично электрической регулировки положения сиденья переднего пассажира |
| 25A С 01.12.2015 г.: Переключатель частично электрической регулировки положения сиденья переднего пассажира | |
| 404 | 30A До 30.11.2015 г.: Переключатель частично электрической регулировки положения сиденья водителя |
| 25A С 01.12.2015 г.: Переключатель частично электрической регулировки положения сиденья водителя | |
| 405 | Резерв |
| 406 | 30A Блок управления передней левой дверью |
| 407 | Резерв |
| 408 | 30A W205, S205, V205: Блок управления задней правой дверью |
| A205, C205: Блок управления системами задней части салона | |
| 409 | Резерв |
| 410 | 15A Приемник пульта дистанционного радиоуправления автономным отопителем |
| 411 | 30A Реверсивный натяжитель переднего левого ремня безопасности |
| 412 | 7,5A Hybrid: Блок управления системой управления АКБ |
| 413 | 5A Блок управления приводом крышки багажника |
| 414 | 5A Модуль тюнера (ТВ-тюнер, цифровое радио (DAB)) или спутниковое радио SIRIUS) |
| 415 | 5A Блок управления крышкой камеры |
| Генератор системы ароматизации воздуха | |
| 416 | 7,5A Антенный усилитель/ компенсатор мобильной связи |
| Контактная плата мобильного телефона | |
| 417 | 5A Блок управления камерой обзора на 360° |
| Камера заднего вида | |
| 418 | 5A Блок управления подогрева сидений в задней части салона |
| Блок управления системой AIRSCARF | |
| 419 | 5A Блок управления регулировки поясничного подпора для сиденья переднего пассажира |
| 420 | 5A Блок управления регулировкой поясничного подпора для сиденья водителя |
| 421 | Резерв |
| 422 | Резерв |
| 423 | 5A Блок управления усилителем акустической системы |
| 424 | 15A Действительно для а/м с двигателем 276: Блок управления Motorsound |
| 425 | Резерв |
| 426 | Резерв |
| 427 | Резерв |
| 428 | Резерв |
| 429 | Резерв |
| 430 | Резерв |
| 431 | 25A Многофункциональный блок управления для специального а/м |
| 432 | 25A Многофункциональный блок управления для специального а/м |
| 433 | 15A Блок управления системой распознавания прицепа |
| 434 | 15A Блок управления системой распознавания прицепа |
| 30A AMG: Блок управления электрическим стояночным тормозом | |
| 435 | 25A Блок управления системой распознавания прицепа |
| 25A AMG: Блок управления электронным дифференциалом | |
| 436 | 15A Блок управления системой распознавания прицепа |
| 437 | 25A Блок управления системой распознавания прицепа |
| 438 | 30A Блок управления преобразователем переменного /постоянного тока |
| 439 | 5A Таксометр |
| Таксометр во внутрисалонном зеркале заднего вида | |
| 25A A205: Блок управления системами задней части салона | |
| 440 | 30A Блок управления подогрева сидений в задней части салона |
| Блок управления системой AIRSCARF | |
| 441 | 30A Блок управления системой AIRSCARF |
| 442 | 25A Блок управления топливным насосом |
| 443 | 30A Реверсивный натяжитель переднего правого ремня безопасности |
| 444 | 15A Электрическое штекерное соединение планшетного компьютера |
| 445 | 15A S205: Розетка в багажнике |
| 446 | 15A Прикуриватель с подсветкой пепельницы спереди (розетка в салоне) |
| 447 | 15A Розетка 12V в центральной консоли задней части салона справа |
| 448 | 10A Действительно для а/м с КП 722, 725: Конденсатор парковочной блокировки |
| 449 | 5A Действительно для а/м с двигателем 626: Фильтрующий элемент топливного фильтра со встроенным подогревом |
| AMG: Блок управления электрическим стояночным тормозом | |
| 450 | 5A Задний блок управления SAM |
| 451 | 5A Блок управления топливным насосом |
| Блок управления AdBlue® | |
| 452 | 5A Интегрированный радарный датчик заднего бампера снаружи справа |
| Интегрированный радарный датчик заднего бампера снаружи слева | |
| Радарный датчик в заднем бампере по центру | |
| Радарный датчик в заднем бампере справа снаружи | |
| Радарный датчик в заднем бампере слева снаружи | |
| 453 | 5A Радарный датчик в переднем бампере слева |
| Радарный датчик в переднем бампере, справа | |
| Модуль управления COLLISION PREVENTION ASSIST | |
| 454 | 7,5A Действительно для а/м с КП 722: Блок управления полностью интегрированной системой управления АКП |
| 5A Пакет для автошкол: | |
| Переключатель освещения пространства для ног | |
| Датчик контроля нажатия педали | |
| Действительно для типа 253: Блок управления AdBlue® | |
| 455 | 5A Блок управления преобразователем переменного /постоянного тока |
| 456 | 5A Радарный датчик дальней зоны спереди |
| Электрический модуль управления DISTRONIC | |
| 457 | 5A Hybrid: |
| Блок управления силовым электронным оборудованием | |
| Блок управления системой управления АКБ | |
| AMG: | |
| Блок управления электронным дифференциалом | |
| Блок управления активными опорами двигателя | |
| 458 | 5A Модуль бесключевого открытия крышки багажника под задним бампером |
| 459 | 5A Hybrid: Зарядное устройство |
| AMG: Блок управления ходовой части AMG | |
| 460 | 10A Блок управления kEyLESS-GO |
| 461 | 5A Антенный усилитель FM 1, AM, ЦЗ и KEYLESS-GO |
| 462 | 40A Блок управления усилителем акустической системы |
| 463 | 30A W205, S205, V205: Обогрев заднего стекла (R1) через помехоподавляющий конденсатор заднего стекла |
| A205, C205: Электрическое штекерное соединение мягкого складного верха/ салона автомобиля | |
| 464 | 40A Блок управления приводом крышки багажника |
| Блок управления приводом откидной двери багажного отделени | |
| 465 | 40A Задний блок управления SAM |
| 466 | 40A Задний блок управления SAM |
| 467 | 40A Действительно для а/м с двигателем 626: Фильтрующий элемент топливного фильтра со встроенным подогревом |
| A205: Блок управления системами задней части салона | |
| Реле | |
| S | Реле клеммы 15 салона |
| T | Реле обогрева заднего стекла |
| U | Реле подстаканника и розеток 2-го ряда сидений |
| В | Реле AdBlue® |
| X | Реле холодильного бокса и розеток 1-го ряда сидений/ багажника |
| Y | Резервное реле |
| ZR1 | Действительно для а/м с двигателем 626: Реле обогрева топливного фильтра |
| ZR2 | Резервное реле |
| ZR3 | Резервное реле |
Предохранители для прикуривателя и розеток 12V в Mercedes W205 — это номера 445, 446 и 447.
Если вы обнаружили неточность в описании предохранителей Mercedes W205 или хотите добавить информацию о реле и схемах, оставляйте отзывы в комментариях.


