Honda Civic 7-го поколения выпускалась в период с 2000 по 2006 год, включая модели 2000, 2001, 2002, 2003, 2004, 2005 и 2006 годов, с разнообразными типами кузовов. За эти годы автомобиль подвергся обновлению дизайна и технических характеристик. Праворульная модификация известна как Honda Ferio с кузовным индексом ES. В этой статье мы подробно разберем расположение электронных блоков управления, назначение предохранителей и реле для Honda Civic 7, с иллюстрациями схем и фотографиями. Особое внимание уделим предохранителю, отвечающему за прикуриватель и розетку. В конце предоставим ссылку на руководство по ремонту и эксплуатации Honda Civic 7 поколения для владельцев.

Положение блоков и функции их компонентов могут варьироваться в зависимости от года выпуска, региона сборки и комплектации вашего Honda Civic 7.
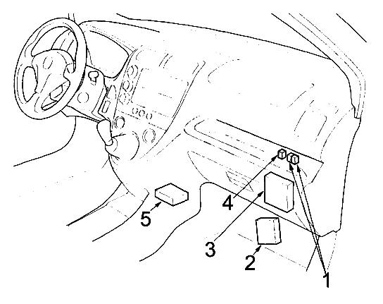
Блоки в интерьере
Расположение
Схема предохранителей и реле в салоне Honda Civic 7

Описание элементов
- Основной блок предохранителей и реле Honda Civic 7
- Модуль управления дневными ходовыми огнями (DRL)
- Для хэтчбека: Реле дневных ходовых огней (DRL)
- Хэтчбек (2002-2003): Реле прерывателя ближнего света фар
- Контроллер круиз-контроля
- Хэтчбек: Ресивер системы центрального замка и бесключевого доступа
Основной блок предохранителей и реле в салоне
Главный блок с предохранителями и реле для Honda Civic 7 расположен под торпедо, на стороне водителя.

Чтобы получить доступ, снимите пластиковую крышку блока предохранителей под рулем.

Схема блока предохранителей Honda Civic 7 в салоне

Расшифровка предохранителей и реле
| 1 | 15A Для негибридных версий: Катушки зажигания |
| 15A Гибрид: Электронный блок управления двигателем (ECM), передние катушки зажигания | |
| 2 | 20A Сенсор соотношения воздух-топливо (A/F sensor) |
| 3 | 10A Дневные ходовые огни (DRL), модуль кузовной электроники (MCU) |
| 4 | 10A Реле сенсора A/F, альтернатор, сенсор положения распредвала (CMP), контроллер круиз-контроля, сенсор электрической нагрузки (ELD), система EVAP, нагреваемый датчик кислорода (HO2S), сенсор скорости (VSS), DC-DC преобразователь (гибрид), TCM трансмиссии |
| 5 | — |
| 6 | 7,5A Контроллер люка, реле открытия/закрытия люка, реле стеклоподъемников |
| 7 | 20A Реле механизма открытия/закрытия люка |
| 8 | 7,5A Аудиосистема, MCU, CarLink интерфейс |
| 9 | 10A Система подушек безопасности, задний стеклоочиститель и омыватель |
| 15A Гибрид: ECM, задние катушки зажигания | |
| 10 | 7,5A Выключатель заднего хода (M/T), EPS контроллер, приборная панель, ресивер центрального замка, MCU, иммобилайзер, реле заднего хода (A/T), CarLink, соленоид селектора (A/T) |
| 11 | 7,5A ABS контроллер |
| 12 | 7,5A DRL, MCU |
| 13 | 10A SRS модуль подушек безопасности |
| 14 | 10A Реле компрессора А/С, реле вентилятора А/С, реле обогревателя, панель климат-контроля, зеркала с электроприводом, реле охлаждающего вентилятора, рециркуляция воздуха, реле заднего обогрева |
| 15 | 2A Иммобилайзер |
| 10A Иммобилайзер | |
| 16 | 20A Обогрев сидений |
| 7,5A Гибрид: MCM реле №1 | |
| 17 | 15A Топливный насос, ECM/PCM, PGM-FI реле №2, SRS модуль |
| 18 | 15A Прикуриватель / Розетка |
| 19 | 7,5A Аварийная сигнализация, реле поворотников и аварийки |
| 20 | 30A Хэтчбек: MCU, стеклоочиститель и омыватель |
| 20A Седан, купе: MCU, стеклоочиститель и омыватель | |
| 21 | 7,5A Гибрид: ECM, реле стартера |
| 22 | 20A Передний пассажирский стеклоподъемник, контроллер стеклоподъемников |
| 23 | 20A Водительский стеклоподъемник |
| 24 | 20A Задний левый стеклоподъемник |
| 25 | 20A Задний правый стеклоподъемник |
| Дополнительные предохранители в блоке салона | |
| 7,5A Гибрид: Реле вентилятора горячего рестарта | |
| Реле в блоке предохранителей | |
| R1 | Негибрид: Стартер |
| R2 | Габаритные огни |
| R3 | Стеклоподъемники |
| R4 | Поворотники / Аварийная сигнализация |
Предохранитель прикуривателя в Honda Civic 7 — это номер 18, номиналом 15А.
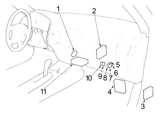
Дополнительные компоненты в салоне
Схема расположения

Функции элементов
- Ресивер иммобилайзера
- Аудиосистема Honda Civic 7
- Седан, купе: Реле DRL
Седан, купе: Реле прерывателя ближнего света - Панель управления климат-контролем
Для хэтчбека
Схема

Расшифровка
- PGM-FI реле №1
PGM-FI реле №2 (топливный насос) - EPS контроллер рулевого управления
- ECM/PCM блок двигателя
- Реле сенсора A/F
- SRS модуль подушек безопасности
Для седана и купе
Схема блоков

Описание
- Ресивер центрального замка / бесключевого доступа
- ECM/PCM блок двигателя
- Гибрид: TCM трансмиссии
- Гибрид: EPS контроллер
- Гибрид: Реле A/F сенсора
- Гибрид: Реле заднего хода (A/T)
- PGM-FI реле №2 (топливный насос)
- PGM-FI реле №1
- Негибрид: Реле A/F сенсора
- Негибрид: Реле заднего хода (A/T)
- SRS блок подушек безопасности
Блоки в моторном отсеке
Расположение
Схема подкапотных блоков Honda Civic 7

Обозначение
- Седан, купе: Блок предохранителей и реле под капотом
- Хэтчбек, гибрид: Блок предохранителей и реле
- Гибрид: Отдельный блок реле
Блок предохранителей и реле под капотом
Фотография блока

Схема предохранителей под капотом Honda Civic 7

Назначение предохранителей
| 1 | 20A Вентилятор кондиционера, реле компрессора А/С |
| 2 | 15A Негибрид: Реле габаритов, подсветка приборов, передние габариты, панель климата, номерной знак, задние габариты |
| 10A Гибрид: MCM реле №2 | |
| 3 | 7,5A Негибрид: Освещение багажника, салона, замка зажигания |
| 10A Гибрид: Освещение багажника, салона, замка зажигания, реле габаритов | |
| 4 | 20A Реле охлаждающего вентилятора |
| 5 | 10A Аварийная сигнализация |
| 6 | 15A PGM-FI реле №1, CKP сенсор, ECM/PCM, инжекторы, IAC клапан, ресивер замка, PGM-FI реле №2, CMP сенсор (TDC), контроллер форсунок, реле форсунок |
| 7 | 15A Педальный тормозной сенсор, реле горна, стоп-сигналы, тормозной сигнал (ABS, ECM/PCM, MCU) |
| 8 | 10A ABS контроллер |
| 9 | 10A Аудио, DLC диагностика, приборы, ресивер замка, MCU, CarLink, MCM (гибрид), TCM (гибрид), иммобилайзер |
| 10 | 40A ABS система |
| 11 | 30A Реле заднего обогрева |
| 40A Купе: Реле заднего обогрева | |
| 12 | 40A Реле обогревателя |
| 13 | 40A Предохранители салонного блока: 7, 23 |
| 14 | 40A Предохранители салонного блока: 2, 3, 5, 15, 16 |
| 40A Гибрид: Hot Restart Fan Relay, салонные предохранители 2,3,5,15,16, моторный №60 | |
| 15 | 15A Левая фара, DRL, приборы, индикатор дальнего света, MCU |
| 20A Левая фара, DRL, приборы, индикатор дальнего света, MCU | |
| 16 | 20A Центральный замок, MCU |
| 17 | 15A Правая фара, DRL, MCU |
| 20A Правая фара, DRL, MCU | |
| 18 | 60A EPS рулевое управление |
| 19 | 80A Аккумулятор |
| 20 | 40A Замок зажигания (BAT) |
| Реле под капотом | |
| R1 | Охлаждающий вентилятор |
| R2 | Компрессор А/С |
| R3 | Задний обогрев |
| R4 | Обогреватель |
| R5 | Фара №1 |
| R6 | Гудок |
| R7 | Вентилятор А/С |
| R8 | Фара №2 |
Релейный блок для гибридной версии
Схема релейного блока

Расшифровка
| 60 | 20А Охлаждающий вентилятор |
| Реле | |
| R1 | Вентилятор горячего рестарта |
| R2 | PGM-FI №2 |
Дополнительные элементы под капотом
Хэтчбек
Схема

Описание
- Контроллер люка
- Реле открытия люка
Реле закрытия люка - Контроллер заднего стеклоочистителя
Седан, купе
Схема

Обозначение
- Гибрид: MCM модуль
- Гибрид: MCM реле №1, №2
Негибрид: Реле люка - Контроллер стеклоподъемников
Мануал по ремонту Honda Civic 7 поколения
Хотите больше деталей о ремонте, обслуживании и электрике Honda Civic 7 (2000-2006)? Скачайте полное руководство: «скачать».
В Honda Civic 7 Ferio расположение и функции предохранителей с реле аналогичны стандартной версии.
Если у вас есть дополнения по предохранителям, реле или ремонту Honda Civic 7, делитесь в комментариях.


