ГАЗ-53 — популярный среднетоннажный грузовик, производившийся в СССР с 1961 по 1993 год в множестве версий. В этой публикации мы разберем детальную электрическую схему ГАЗ-53, включая описание ключевых компонентов, функции предохранителей и реле электрооборудования грузовика ГАЗ-53.

Электросхема
Схема электрооборудования ГАЗ-53

скачать
Описание элементов схемы электрооборудования ГАЗ-53
- Сигнал в сборе С311,
- Пучок проводов № 2 в сборе,
- Генератор Г250-Г1,
- Датчик контрольной лампы перегрева охлаждающей жидкости в радиаторе ТМ104-Т,
- Датчик указателя температуры воды в двигателе в сборе ТМ100,
- Свеча зажигания в сборе,
- Фара ФГ122-Б,
- Подфарник и указатель поворотов в сборе ПФ101-Б,
- Провод от соединительной панели к подфарникам в сборе,
- Провод от соединительной панели к повторителю,
- Распределитель зажигания в сборе Р133,
- Катушка зажигания в сборе Б114-Б,
- Провод от соединительной панели к реле стартера,
- Стартер в сборе СТ230А,
- Провод от аккумуляторной батареи к стартеру в сборе,
- Панель соединительная проводов на щитке передка в сборе ПС4-А2 (двухклеммная),
- Пучок проводов № 1 в сборе,
- Коммутатор транзисторный в сборе ТК102,
- Электродвигатель,
- Батарея аккумуляторная (53А-3703011-02),
- Провод соединения аккумуляторной батареи с полом кабины,
- Фонарь задний ФП101 левый в сборе (сигнал «стоп», указатель поворота, освещение номерного знака, отражатель света),
- Пучок проводов по раме в сборе,
- Плафон в сборе ПК2-Б,
- Провод кнопки звукового сигнала в сборе,
- Датчик указателя уровня топлива в сборе БМ120-А,
- Провод к плафону и к датчику уровня топлива в сборе,
- Розетка прицепа штепсельная в сборе ПС300А-100,
- Переключатель указателей поворотов в сборе П105А,
- Выключатель плафона (51-3806030-Б1),
- Провод соединения штепсельной розетки переносной лампы с кабиной в сборе,
- Штепсельная розетка переносной лампы в сборе (51-3715020-А),
- Панель соединительная проводов на щитке передка в сборе ПС5 (пятиклеммная),
- Переключатель света ножной в сборе (51-3710010-А),
- Панель соединительная четырехклеммовая,
- Прерыватель указателей поворотов в сборе РС57,
- Реле-регулятор в сборе РР362-Э,
- Подогреватель в сборе,
- Выключатель света сигнала «стоп» гидравлический ВК12-Б,
- Датчик аварийного давления масла в двигателе в сборе ММ111А,
- Датчик давления масла в двигателе ММ358,
- Повторитель указателей поворота УП101,
- Патрон контрольной лампы включения указателей поворота ПП107,
- Реле включения стартера в сборе,
- Провод в сборе,
- Фонарь освещения под капотом в сборе ПД308-А,
- Электровентилятор пускового подогревателя в сборе,
- Пульт управления пусковым подогревателем,
- Сопротивление добавочное в сборе,
- Пучок проводов для транзисторного зажигания,
- Электродвигатель обдува ветрового стекла в сборе МЭ211,
- Провод соединения корпуса электродвигателя отопителя с кабиной в сборе,
- Переключатель стеклоочистителя в сборе,
- Переключатель мотора вентилятора отопления в сборе П119-Б,
- Предохранитель термобиметаллический цепей приборов и указателей поворотов в сборе ПР315,
- Щиток приборов в сборе КП120.
Предохранители и реле ГАЗ-53
Электрооборудование грузовика ГАЗ-53 оснащено термобиметаллическими предохранителями двух видов: с функцией автоматического возврата кнопкой и для непрерывной работы. Предохранители с возвратной кнопкой размещены на нижней планке панели приборов, по обе стороны от рулевой колонки.
Эти предохранители обеспечивают защиту для следующих электрических цепей в ГАЗ-53:
- левый предохранитель типа ПР315 на 15 А — защищает цепи приборов, электромотора отопителя, указателей поворотов и звукового сигнала.
- правый предохранитель типа ПР2-Б на 20 А — отвечает за цепи освещения.
- На панели управления предпусковым подогревателем установлен предохранитель ПР2-Б, который охраняет цепи подогревателя от перегрузок.
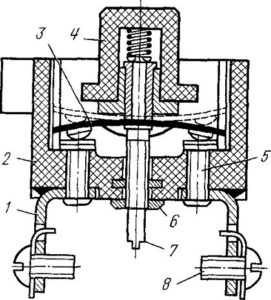
Конструкция термобиметаллического предохранителя с возвратной кнопкой для ГАЗ-53

Обозначение компонентов
- вывод;
- корпус;
- биметаллическая пластина;
- возвратная кнопка;
- контакт;
- гайка;
- центральный регулировочный винт;
- винт.
Для активации предохранителя используется возвратная кнопка 4: при ее нажатии биметаллическая пластина возвращается в исходное положение, контакты замыкаются, и электрический ток в цепи восстанавливается.
В случае, если короткое замыкание в цепи не ликвидировано, предохранитель автоматически отключится снова.
Термобиметаллический предохранитель непрерывного действия для ГАЗ-53-12

Данный предохранитель предназначен для охраны от перегрузок и КЗ электродвигателя стеклоочистителя ГАЗ-53.
Биметаллическая пластина фиксируется одним концом на одном выводе, а на другом конце имеет контакт, связанный с контактом второго вывода. Электрический ток к мотору стеклоочистителя протекает через эту биметаллическую пластину.


