Physical Address
304 North Cardinal St.
Dorchester Center, MA 02124
Physical Address
304 North Cardinal St.
Dorchester Center, MA 02124


Toyota Hilux Surf третьего поколения производилась с 1995 по 2002 год (включая 1995, 1996, 1997, 1998, 1999, 2000, 2001, 2002 годы) с кодами кузова 180 / 185. В течение этого периода модель подверглась двум значительным обновлениям. Известна также как Toyota 4Runner. В этой статье мы подробно разберем расположение блоков электронного управления, назначение предохранителей и реле для Toyota Surf (Hilux Surf), с иллюстрациями схем блоков предохранителей, фото-обзорами и примерами установки. Особо отметим предохранитель прикуривателя, fuse box Toyota Hilux Surf, реле Toyota 4Runner.

Положение блоков и функции их элементов могут варьироваться в зависимости от года выпуска автомобиля и комплектации, включая версии для Toyota Hilux Surf fuse diagram.
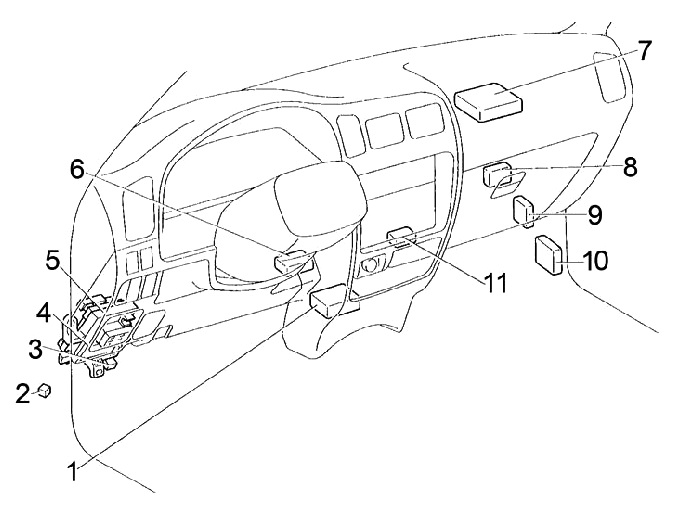
Общая схема расположения блоков в салоне
Левый руль

Правый руль

Описание
Расположен в нижней части приборной панели за защитной панелью.
Фото пример исполнения

Схема

Обозначение
R1 — интегрированное реле
| 1 | 20A SEAT-HTR — Подогрев сидений |
| 2 | 15A ACC — Прикуриватель, часы, зеркала с электроприводом, лампы заднего хода, блокировка селектора коробки передач |
| 3 | 7,5A ECU-B — Задний противотуманный свет, индикатор подушек безопасности, дневные ходовые огни, круиз-контроль, ABS |
| 4 | 20A 4WD — Система отключения переднего дифференциала, полный привод, блокировка заднего дифференциала |
| 5 | 10A TURN — Указатели поворота, аварийная сигнализация |
| 6 | 10A GAUGE — Комбинация приборов, лампы заднего хода, круиз-контроль, антенна, центральный замок, блок управления коробкой передач, система запуска, система зарядки, блок управления отопителем |
| 7 | 15A ECU-IG — ABS, блокировка селектора коробки передач |
| 8 | 20A WIPER — Стеклоочиститель и омыватель |
| 9 | 10A IGN — Индикатор заряда, подушки безопасности, система многоточечного впрыска топлива/система последовательного многоточечного впрыска топлива |
| 10 | 30A POWER — Стеклоподъемники, центральный замок |
Предохранитель прикуривателя (cigarette lighter fuse) обозначен номером 2 с номиналом 15А в блоке салонных предохранителей Toyota Hilux Surf.
На задней стороне блока предохранителей размещены дополнительные реле.

| R1 | Звуковой сигнал |
| R2 | Указатели поворота (аварийная сигнализация) |
| R3 | Силовое реле (стеклоподъемники, центральный замок) |
| R4 | Обогрев заднего стекла |
В отдельном блоке реле предусмотрены: реле топливного насоса (для бензиновых двигателей), электромагнитный перепускной клапан (для дизеля, до августа 1998 г.) и реле блокировки запуска (до августа 1998 г.), relay locations Toyota 4Runner.
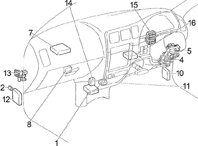
Схема расположения блоков под капотом

Назначение
Фото пример

Схема с крышки блока

Схема

Расшифровка
| 1 | — |
| 2 | 15A DEFOG — Обогрев заднего стекла |
| 3 | 10A STOP — Лампы стоп-сигнала |
| 4 | 7,5A ALT-S — Система зарядки |
| 5 | — |
| 6 | 7,5A OBD — Бензин: Диагностический разъем |
| 20A AM2 — Дизель: Система многоточечного впрыска топлива/ система последовательного многоточечного впрыска топлива | |
| 7 | 15A EFI — Система многоточечного впрыска топлива/ система последовательного многоточечного впрыска топлива |
| 8 | 15A HORN — Звуковой сигнал, аварийная сигнализация |
| 9 | 15A DOME — Аудио система, антенна, освещение салона, часы, подсветка замка зажигания, персональное освещение, освещение в дверях |
| 20A AM2 — Система многоточечного впрыска топлива/ система последовательного многоточечного впрыска топлива | |
| 10 | 10A TAIL — Габаритное освещение, освещение номерного знака, лампы стоп-сигнала, кондиционер, аудио система, часы, прикуриватель, подсветка панели приборов |
| 11 | — |
| 12 | 10A A.C — Кондиционер |
| 13 | 7,5A STA — Система многоточечного впрыска топлива /система последовательного многоточечного впрыска топлива, система запуска, комбинация приборов |
| 14 | 10A HEAD (RH) — Правая фара |
| 15 | 10A HEAD (LH) — Левая фара |
| 16 | 10A HEAD (LO RH) — Ближний правый свет |
| 17 | 10A HEAD (LO LH) — Ближний левый свет |
| 18 | 60A ABS — Бензин: ABS |
| 80A GLOW, ABS — Дизель: Предпусковой подогреватель, ABS | |
| 19 | 80A ALT — 45A, 55A: Предохранители: «ABS”, «AM1”, «STA”, «ECU-B”, «POWER”, «RADIO”, «ACC”, «GAUGE”, «TURN”, «ECUI G”, «WIPER”, «4WD”, «HEATER”, «A.C”, «TAIL”, «PANEL”, «STOP”, «ALT-S” |
| 100A ALT — 70A: Предохранители: «ABS”, «AM1”, «STA”, «ECU-B”, «POWER”, «RADIO”, «ACC”, «GAUGE”, «TURN”, «ECUI G”, «WIPER”, «4WD”, «HEATER”, «A.C”, «TAIL”, «PANEL”, «STOP”, «ALT-S” | |
| 20 | 50A HEATER — Кондиционер |
| 21 | 40A AM1 — Замок зажигания, система запуска, реле очистителей фар, подогрев топлива, предохранители: «ECU-B», «GAUGE» «POWER» |
| 22 | 30A AM2 — Замок зажигания |
| Реле | |
| R1 | Диммер |
| R2 | Габаритный свет (TAIL) |
| R3 | Фары (HEAD) |
| R4 | Отопитель |
| R5 | Стартер |
| R6 | Блок управления двигателем (EFI) |
Фото пример

Схема с крышки блока

Схема

Описание
| 1 | — |
| 2 | 10A HEAD (RH) — Правая фара |
| 3 | 10A HEAD (LH) — Левая фара |
| 4 | 10A HEAD (RL) — Ближний правый свет |
| 5 | 10A HEAD (LL) — Ближний левый свет |
| 6 | 10A TAIL — Габаритный свет, освещение номерного знака |
| 7 | 7,5A STA — Система многоточечного впрыска топлива/ система последовательного многоточечного впрыска топлива, система запуска, комбинация приборов |
| 8 | 10A A/C — Кондиционер |
| 9 | Не используется |
| 10 | Не используется |
| 11 | Не используется |
| 12 | Не используется |
| 13 | Не используется |
| 14 | 15A HORN — Звуковой сигнал |
| 15 | 15A DOME — Аудио система, освещение салона, часы, персональное освещение, освещение в дверях, дневные ходовые огни, комбинация приборов |
| 16 | 7,5A OBD — Диагностический разъем |
| 17 | 15A EFI — 2RZ-FE, 3RZ-FE: Система многоточечного впрыска топлива/система последовательного многоточечного впрыска топлива |
| 15A ECD — 1KZ-TE, 5L-E: Система многоточечного впрыска топлива/система последовательного многоточечного впрыска топлива | |
| 20A AM2 — Дизель: Замок зажигания, система многоточечного впрыска топлива/система последовательного многоточечного впрыска топлива | |
| 18 | 7,5A ALT−S — Система зарядки |
| 19 | 15A DEFOG — Обогрев заднего стекла |
| 20 | 10A STOP — Лампы стоп-сигнала |
| 21 | Не используется |
| 22 | 60A ABS — Бензин: ABS |
| 80A GLOW, ABS — Дизель: Предпусковой подогреватель, ABS | |
| 23 | 80A ALT — 45A, 55A: Предохранители: «ABS”, «AM1”, «STA”, «ECU-B”, «POWER”, «RADIO”, «ACC”, «GAUGE”, «TURN”, «ECUI G”, «WIPER”, «4WD”, «HEATER”, «A.C”, «TAIL”, «PANEL”, «STOP”, «ALT-S” |
| 100A ALT — 70A: Предохранители: «ABS”, «AM1”, «STA”, «ECU-B”, «POWER”, «RADIO”, «ACC”, «GAUGE”, «TURN”, «ECUI G”, «WIPER”, «4WD”, «HEATER”, «A.C”, «TAIL”, «PANEL”, «STOP”, «ALT-S” | |
| 24 | 50A HEATER — Отопитель, предохранитель: «A.C” |
| 25 | 40A AM1 — Система запуска |
| 26 | 30A CDS FAN — Вентилятор системы охлаждения |
| 27 | 30A AM2 — Зажигание, Система многоточечного впрыска топлива/система последовательного многоточечного впрыска топлива |
| 28 | — |
| Реле | |
| R1 | Бензин: Стартер |
| R2 | Отопитель |
| R3 | Вентилятор системы охлаждения (CDS FAN) |
| R4 | Габаритный свет (TAIL) |
| R5 | — |
| R6 | — |
| R7 | Блок управления двигателем (EFI) |
| Блок управления двигателем (ECD) | |
| R8 | Фары (HEAD) |
| R9 | Диммер |



