Самосвал КАМАЗ-65115 производился с 1995 года и комплектовался различными вариантами двигателей, соответствующими нормам Евро-3 и Евро-4. В этой статье представлено детальное руководство по предохранителям и реле для КАМАЗ 65115 стандартов Евро-3 и Евро-4, включая похожие модификации, такие как КАМАЗ 5320, 65117, 6520 и другие с аналогичным классом экологии. Здесь вы найдете схемы блоков предохранителей КАМАЗ, их точное размещение в автомобиле и качественные иллюстрации для удобства диагностики и ремонта электрической системы.

Функции предохранителей и реле могут варьироваться в зависимости от года производства, типа двигателя и комплектации электрики вашего КАМАЗ.
Не подходят схемы?
[описание для моделей Камаз класса Евро 5]
Расположение блоков предохранителей и реле
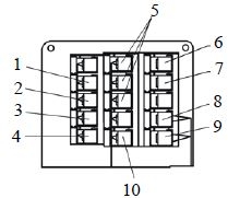
Общая схема размещения блоков электрики
Вариант 1

Расшифровка
- Блок реле за панелью выключателей
- Блок предохранителей (F2, F3, F4, F6)
- Второй блок реле
- Предохранитель F1
- Реле стартера
- Реле сигнализатора
- Реле стеклоочистителя
- Реле — прерыватель указателей поворота.
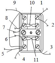
Вариант 2

Расшифровка
- Реле за панелью выключателей
- блок предохранителей (F3, F7, F6)
- электронный блок управления электрооборудованием
- предохранитель F1
- реле звукового сигнала
- реле включения фары сцепки
- реле стартера
- реле сигнализатора.
Блок реле за панелью приборов

Схема блока

Назначение реле
Вариант 1 (Евро 3)
- Реле АБС
- Реле блокировки стартера
- Реле торможения
- Реле сцепления
- Реле подогрева топлива
- Реле ЭФУ
- Реле дневных ходовых огней
- Реле датчика останова платформы
- Реле заднего противотуманного фонаря
- Реле масло отделителя.
Вариант 2 (Евро 4)
- реле подогрева топлива
- реле ЭФУ
- реле дневных ходовых огней
- реле датчика останова платформы
- реле заднего противотуманного фонаря
- реле маслоотделителя
- реле электронной системы управления двигателем
Вариант 3 (Евро 5 и 6)
Схема

Расшифровка
- реле системы управления двигателем
- реле подогрева топлива
- реле включения приборов и стартера
- реле включения аккумуляторной батареи
- реле управления питанием
- после замка выключателя приборов и стартера; 6 — реле розетки 12 В;
- реле подогреваемой линии от бака в насос
- реле отопителя
- реле отключения радиоприёмника
- реле останова стеклоочистителя
Основной блок предохранителей КАМАЗ
Фото и схема блока

Общее обозначение предохранителей
ряд F2
| 1 | Резерв |
| 2 | Ближний свет правый, корректор |
| 3 | Ближний свет левый |
| 4 | Задний противотуманный фонарь |
| 5 | Дальний свет правый, контрольная лампа дальнего света |
| 6 | Дальний свет левый |
| 7 | Резерв |
| 8 | Габарит правый, подсветка приборов |
| 9 | Габарит левый |
| 10 | Противотуманные фары |
| 11 | Центральный переключатель света, прожектор |
| 12 | Маяки |
| 13 | Спальное место, подкапотная лампа, фонари автопоезда |
ряд F3
| 1 | Блокировка колес, радиоприёмник |
| 2 | Сигнализатор утечки газа (на газовых автомобилях) |
| 3 | Коробка отбора мощности, дневные ходовые огни, лебедка |
| 4 | Электромагнитная муфта охлаждения двигателя, фонари заднего хода |
| 5 | Обмотка реле выключателя массы |
| 6 | Зуммер (звуковой сигнал), обмотка реле сигналов торможения |
| 7 | Обмотка возбуждения генератора, подкачка шин |
| 8 | Плафоны, подсветка вещевого ящика, питание комбинации приборов |
| 9 | Розетка светильника подвесного, электродвигатели отопителя |
| 10 | Звуковые сигналы, «+» розетки прицепа, сигналы торможения |
| 11 | Вентилятор обдува водителя |
| 12 | Резерв |
| 13 | Обогрев зеркал, подогрев сидений |
ряд F4
| 1 | Резерв |
| 2 | Электронный спидометр, электронный тахометр |
| 3 | АБС тягача |
| 4 | АБС прицепа |
| 5 | Приборы, электронный спидометр, электронный тахометр |
| 6 | АБС тягача, реле (клапан) моторного тормоза |
| 7 | АБС прицепа |
| 8 | Датчик уровня газа (на газовых автомобилях) |
| 9 | Питание стеклоочистителя |
| 10 | Питание блока системы управления двигателем |
| 11 | Электрофакельное устройство |
| 12 | Резерв |
| 13 | Резерв |
ряд F6 (для двигателей КАМАЗ)
| 1 | Блок управления двигателем |
| 2 | Блок управления двигателем |
| 3 | Разъем диагностики |
| Реле торможения | |
| 4 | Контрольные лампы |
| 5 | Контрольные лампы |
| 6 | Блок управления пневмо подвеской |
| 7 | Насос мочевины |
| 8 | Насос мочевины |
| Датчик NOх | |
| 9 | Резерв |
| 10 | Резерв |
| 11 | Блок управления АКПП |
| 12 | Сигнал торможения ретардером |
| 13 | Блок управления АКПП |
ряд F6 (для двигателей CUMMINS)
| 1 | Блок управления двигателем |
| 2 | Блок управления двигателем |
| 3 | Разъем диагностики |
| 4 | Резерв |
| 5 | Блок управления пневмо подвеской |
| 6 | Блок управления пневмо подвеской |
| 7 | Насос дозирующий |
| 8 | Реле линий подогрева мочевины |
| Насос дозирующий | |
| 9 | Резерв |
| 10 | Датчик NOх |
| 11 | Блок управления АКПП |
| 12 | АКПП, сигнал торможения ретардером |
| 13 | Блок управления АКПП |
Проверяйте функции предохранителей и реле по схемам на внутренней стороне крышки блока для точности.

Дополнительный блок реле
Схема

Расшифровка
- реле управления питанием после замка выключателя приборов и стартера
- реле выключателя приборов и стартера
- реле включения аккумуляторной батареи
- реле сигналов торможения
- реле заднего хода
- реле звукового сигнала
- реле ближнего света
- реле дальнего света
- реле задних противотуманных фар
- реле противотуманных фар
- реле габаритных огней
Предохранитель F1 в схеме КАМАЗ
Схема

Описание
- питание
- радиооборудование
- жгут проводов цепи ЭФУ
- на блок предохранителей F2
- кабель осушителя
- выключатель приборов и стартера
- реле стартера
- на блок предохранителя F3 после выключателя приборов и стартера
- на блок предохранителя F3 до выключателя приборов и стартера
- предохранитель 60 А
- предохранитель 30 А
Предохранители в моторном отсеке
Силовой блок предохранителей обычно размещается на передней панели кабины под капотом для защиты основных цепей КАМАЗ 65115.

Схема

Обозначение
- к блоку предохранителей F4
- предохранитель F5
- перемычка
- провод «Генератор — предохранитель»
- провод «Аккумуляторная батарея — предохранитель»
- провод предохранителей
- к блоку предохранителей F1
- провод предохранителей.
Хотите добавить информацию к руководству по электрике КАМАЗ? Делитесь в комментариях!


