Audi 100 C4 (кузов 4A) вышла на конвейер в конце 1990 года. Модель выпускалась в 1991–1994 годах, после чего Audi убрала из названия цифру «100», переименовав авто в Audi A6 C4, и продолжила производство в 1995–1997 годах. Затем эту линейку заменила обновленная генерация Audi A6 с новым дизайном и техническими улучшениями. В этой статье собрана полезная информация о предохранителях, реле, схемах подключения и блоках для Audi 100 C4 и Audi A6 C4 1990–1997 годов выпуска, включая советы по замене, диагностике и расположению компонентов.

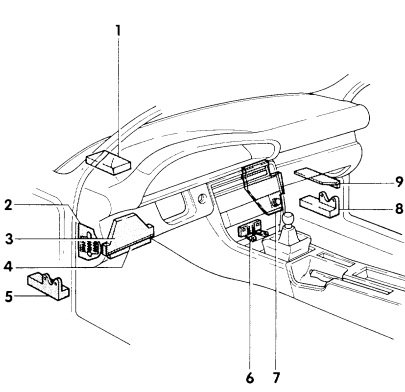
Расположение блоков предохранителей и реле в Audi 100 C4 (A6 C4)

- Дополнительная плата реле и предохранителей № 1;
- Монтажный блок предохранителей и реле (Audi 100), монтажный блок предохранителей (Audi А6);
- Соединительный блок № 1;
- Центральное распределительное устройство с блоком реле;
- Дополнительный монтажный блок № 2;
- Соединительный блок № 2;
- Блок системы зажигания;
- Дополнительный монтажный блок № 3;
- Соединительный блок № 3.
В зависимости от комплектации и года выпуска Вашего автомобиля возможны изменения в схемах. Будьте внимательны.
Дополнительная плата — № 1
Расположена в моторном отсеке. Чтобы получить доступ, снимите защитный кожух, отодвинув фиксаторы.
Для автомобилей Audi 100 С4 до 1994 года выпуска

Расшифровка предохранителей и реле для Audi 100 C4
| № | Функция |
| 1 | Не используется |
| 2 | Реле управления ремнями безопасности, стояночного освещения |
| 3 | Реле времени задержки внутреннего освещения |
| 4 | Не используется |
| 5 | Реле фар головного освещения |
| 6 | Не используется |
| 7 | Реле включения 3-й скорости вентилятора |
| 8 | Реле АБС |
| 9 | Не используется |
| 10 | Реле электро стеклоподъемника |
| 11 | Реле электро стеклоподъемника |
| 12 | Реле омывателя и очистителя заднего стекла |
| 13 | Не используется |
| 14 | Реле токовой перегрузки электростеклоподъемника |
| 15 | Реле обогревателя сиденья водителя |
| 16 | Реле обогревателя сиденья пассажира |
| 17 | Не используется |
Для автомобилей A6 С4 с 1994 по 1997 год

Расшифровка реле и предохранителей для Audi A6 C4
| № | Функция |
| 1 | Реле управления вентилятором охлаждения при неработающем двигателе |
| 2 | Реле вентилятора охлаждения двигателя |
| 3 | Реле включения 3-й скорости вентилятора |
| 4 | Реле ламп противотуманного света |
| 5 | Не используется |
| 6 | Реле системы интенсивного омыва стекла |
| 7 | Реле дневных ходовых огней |
| 8 | Реле лампы подсветки переключателя передач |
| 9 | Реле муфты кондиционера |
| 10 | Реле включения модуля кондиционера |
| 11 | Реле очистителя и омывателя заднего стекла |
| 12 | Не используется |
| 13 | Реле питания громкоговорителя |
| 14 | Блок контроля исправности ламп |
| 15 | Блок контроля исправности ламп |
| 16 | Блок управления системой гидроусилителя рулевого управления Servotronic |
| 17 | Реле кондиционера |
| Предохранители | |
| A1 | Автоматическое закрытие окон |
| A2 | Центральный замок |
| A3 | Стеклоподъемники |
| A4 | Радио |
| A5 | Обогрев сидений |
| B1 | Память регулировки сидений |
| B2 | Электропривод сидений |
| B3 | Обогреваемые личинки дверных замков |
| B4 | Не используется |
| B5 | Люк |
Основной монтажный блок — № 2
Для автомобилей Audi 100 С4 до 1994 года

Расшифровка предохранителей, реле и ампер для Audi 100 C4
| № | А | Функция |
| 1 | 15 | Лампы задних противотуманных фонарей |
| 2 | 15 | Система аварийной световой сигнализации |
| 3 | 25 | Звуковой сигнал, стоп-сигнал |
| 4 | 15 | Часы, прикуриватель, климат-контроль, лампы освещения салона и багажника, круиз-контроль, магнитола |
| 5 | — | Не используется |
| 6 | 5 | Лампы правых заднего габаритного фонаря, стояночного фонаря и бокового габаритного фонаря |
| 7 | 5 | Лампы левых заднего габаритного фонаря, стояночного фонаря и бокового габаритного фонаря |
| 8 | 10 | Лампа дальнего света правой фары, лампа индикации включения дальнего света фар |
| 9 | Лампа дальнего света левой фары | |
| 10 | 10 | Лампа ближнего света правой фары |
| 11 | 10 | Лампа ближнего света левой фары |
| 12 | 15 | Система блокировки дифференциала, лампы фонарей заднего хода, круиз-контроль, система отопления салона |
| 13 | 15 | Топливный насос |
| 14 | 5 | Лампы освещения номерного знака, комбинации приборов, пепельницы, панели климат-контроля, моторного отсека и вещевого ящика |
| 15 | 25 | Электродвигатель стеклоочистителя, лампы указателей поворотов, кондиционер, обогреваемые сопла омывателя ветрового стекла, датчик температуры вентилятора охлаждения двигателя |
| 16 | 30 | Обогреватель заднего стекла, обогреватель зеркал заднего вида |
| 17 | 30 | Система климат-контроля (вентилятор) |
| 18 | 15 | Задний стеклоочиститель |
| 19 | 10 | Система центральной блокировки дверей, противоугонная система, обогреватель замка двери |
| 20 | 30 | Обогреватель сидений |
| 21 | 10 | Блок диагностики |
| 22 | — | Не используется |
| 23 | 5 | Лампа освещения номерного знака |
| 24 | — | Не используется |
| 25 | 30 | Электродвигатели регулировки положения сиденья водителя, блок памяти положения сиденья водителя |
| 26 | 5 | Комбинация приборов, электропривод зеркал заднего вида, система автоматической проверки, блок круиз-контроля (если устанавливается) |
| 27 | 10 | Блок управления зажиганием |
| 28 | 15 | Блок управления впрыском топлива |
| 29 | 10 | Обогреваемый датчик кислорода |
| 30 | — | Не используется |
| 31 | — | Резервные предохранители |
| Реле | ||
| 1 | Не используется | |
| 2 | Реле включения 2-й скорости вентилятора | |
| 3 | Реле включения 1-й скорости вентилятора | |
| 4 | Не используется | |
| 5 | Разгрузочное реле | |
| 6 | Не используется | |
| 7 | Реле звукового сигнала | |
| 8 | Реле управления автоматической коробкой передач и противоугонной системой | |
| 9 | Не используется | |
| 10 | Реле топливного насоса | |
| 11 | Не используется | |
Для автомобилей A6 С4 с 1994 по 1997 год
Блок предохранителей расположен слева от панели приборов, под специальной крышкой.

Описание схемы предохранителей Audi A6 C4
1. 10А — Правая фара дальнего света и сигнальная лампа дальнего света
2. 10А — Левая фара дальнего света
3. 10А — Правая фара ближнего света
4. 10А — Левая фара ближнего света
5. 5А — Правый габаритный огонь
6. 5А — Левый габаритный огонь
7. 10А — Лампы освещения номерного знака, бардачка, двигательного отсека, панели регулировки температуры, пепельницы и приборного щитка
8. 15А — Часы, лампы для чтения карт, лампа освещения багажника, зажигалка, лампы освещения салона, лампы на козырьке, бортовой компьютер, регуляторы зеркал заднего вида, программируемые регуляторы сидений
9. 10А — Огни стоп-сигнала
10. 15А — Сигнальная лампа аварийной сигнализации
11. 30А — Вентилятор печки, кондиционер
12. 30А — Обогреватели заднего стекла и зеркал заднего вида
13. 25А — Стеклоочистители, указатели поворотов, вентилятор охлаждения, обогреватели разбрызгивателей, датчик температуры масла коробки передач
14. 15А — Фонари заднего хода, стекло омыватели, круиз-контроль, блокировка дифференциала, многофункциональный датчик, датчик спидометра, водяной фильтр, автоматическая коробка передач
15. 5А — Приборный щиток, зеркала заднего вида, бортовой компьютер
16. 15А — Противотуманные фонари
17. 20А — Топливный насос, прогревочный клапан
18. 15А — Стеклоочиститель заднего стекла
19. 25А — Система диагностики, звуковой сигнал, реле вентилятора
20. 5А — Система круиз-контроля, автоматическая коробка передач
21. 15А — АБС
Центральное распределительное устройство — № 4
Информация актуальна только для Audi A6 C4 1994–1997 годов выпуска

Описание реле в центральном устройстве
| № | Функция |
| 1 | Разгрузочное реле |
| 2 | Реле звукового сигнала |
| 3 | Реле системы омывателя фар головного освещения |
| 4 | Реле центрального замка Реле заднего света фар (механическая коробка передач) Реле автоматической коробки передач (P/N) |
| 5 | Реле прерывания работы стеклоочистителя и стеклоомывателя |
| 6 | Реле топливного насоса |
Дополнительный монтажный блок — №5

Описание компонентов дополнительного блока для C4
| № | Функция |
| 1 | Блок управления электро стеклоподъемником |
| 2 | Блок управления электро стеклоподъемником |
| 3 | Блок управления электроприводом зеркала заднего вида Автоматическое закрытие окон |
| 4 | Блок управления электроприводом зеркала заднего вида ABS combi |
| 5 | Модуль контроля Shift Lock |
| 6 | Автоматическая коробка передач |
| 7 | Предохранитель вентилятора системы охлаждения Модуль электронного управления демпфированием (предохранитель) |
| 8 | Вентилятор системы охлаждения (предохранитель) |
Соединительный блок 3 — № 9
Описание соединительного блока №3
| № | Функция |
| 1 | Не используется |
| 2 | Реле контрольной лампы подушек безопасности |
| 3 | Не используется |
| 4 | Не используется |
| 5 | Реле насоса дополнительной подачи воздуха |
| 6 | Не используется |
| 7 | Не используется |
| 8 | Предохранитель насоса дополнительной подачи воздуха в выпускной коллектор |
Полезные советы по ремонту
Видео-пример устранения проблемы с нестабильными оборотами двигателя на Audi C4:
Руководство по обслуживанию
Вы можете бесплатно скачать руководство по ремонту, эксплуатации и техническому обслуживанию Audi 100 C4 в формате PDF для самостоятельной работы с предохранителями и реле.
Если у вас возникли вопросы по схемам, замене или диагностике, пишите в комментариях.


